NXT机械手册.pdf - 第97页
4. 传感器配置图 QD145-11 74 NXT II 机械手册 4.13.3 往复臂 No. 地址 信号名 1 IN20 往复臂后退端 2 IN21 往复臂夹紧打开确认 3 IN22 往复臂夹紧关闭确认 4 OUT22 往复臂部托架夹 紧开关 5 IN18 TY 轴料盘高度监视 3 6 IN19 TY 轴料盘高度监视 2 7 IN2A TY 轴料盘高度监视 1 1 4 3 2 7 6 5 NXTMTU020a

QD145-11 4. 传感器配置图
NXT II 机械手册 73
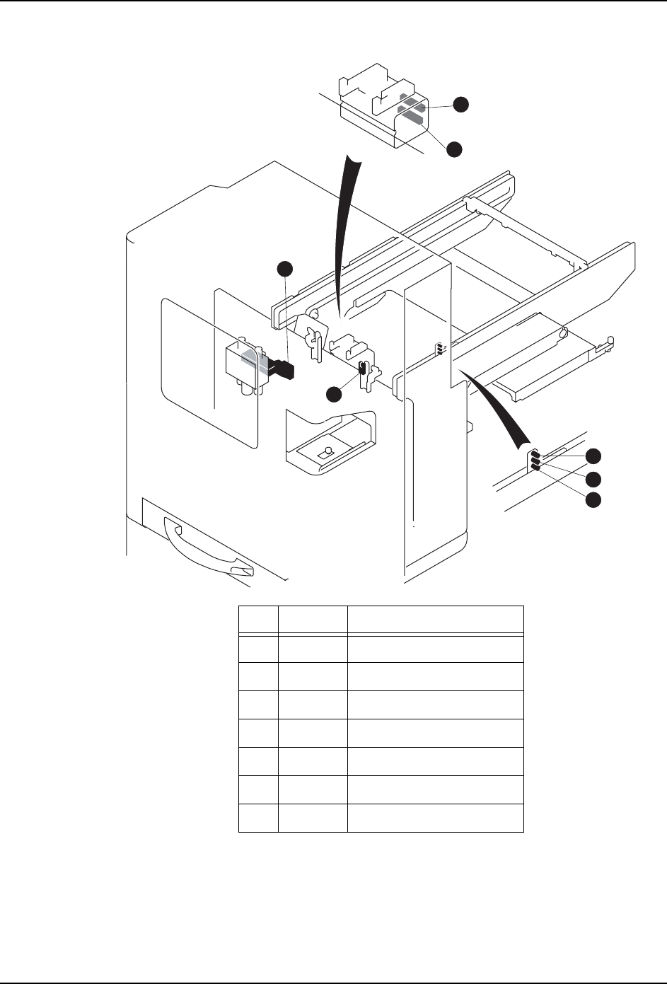
4.13.2 料盘塔
No. 地址 信号名
1 IN1D 托架夹紧关闭确认
2 IN1C 托架夹紧打开确认
3 IN15 托架下部交接关闭确认 1-2
4 IN14 托架下部交接打开确认 1-2
5 IN27 空料盘排出确认
6 IN28 料盘高度确认 1
7 IN29 料盘高度确认 2
8 IN2B 料盘收存确认
9 IN2C 上部交接托架有无
10 IN2D 下部交接托架有无
11 OUT20 塔部托架夹紧
12 OUT21 塔部托架松开
13 OUT25 塔下部托架交接开关
14 OUT1D 上部门部 LED 显示
15 OUT1E 下部门部 LED 显示
NXTMTU019a
1
2
4
5
6
8
10
14
13
11
12
9
8
3
7
15

4. 传感器配置图 QD145-11
74 NXT II 机械手册
4.13.3 往复臂
No. 地址 信号名
1 IN20 往复臂后退端
2 IN21 往复臂夹紧打开确认
3 IN22 往复臂夹紧关闭确认
4 OUT22 往复臂部托架夹紧开关
5 IN18 TY 轴料盘高度监视 3
6 IN19 TY 轴料盘高度监视 2
7 IN2A TY 轴料盘高度监视 1
1
4
3
2
7
6
5
NXTMTU020a

QD145-11 4. 传感器配置图
NXT II 机械手册 75
4.13.4 元件搬运轨道
No. 地址 信号名
1 IN11 不良元件排出许可确认 (中央)
2 IN12 不良元件排出许可确认 (旁侧)
3 IN13 不良元件 C/V 送料记数
4 OUT18 不良搬运轨道 ON
NXTMTU021
1
3
2
4