NXT机械手册.pdf - 第428页
QD145-11 8. 部件的更换 NXT II 机械手册 405 6 . 用 扳 手 拧 松 螺 栓( 4根)并 取 下 。 小 心 地 拆 下 灯 具 。 注意 )安装的时候,请注意在螺柱上不要被导线咬住,有可能发生短路。 7 . 用 扳 手 拧 松 固 定 在 相 机 单 元 上 的 螺 栓( 4根)并 取 下 。 01MEC-0201Sb 䗣䬰 㶎᷅䆚߿ᷛ䆄 ᮴ῑ ⫼Ѣᷛޚ 3Ⳍᴎ 㧕 ḍῑ 㧔 ⫼Ѣ催ߚ 䕼⥛…

8. 部件的更换 QD145-11
404 NXT II 机械手册
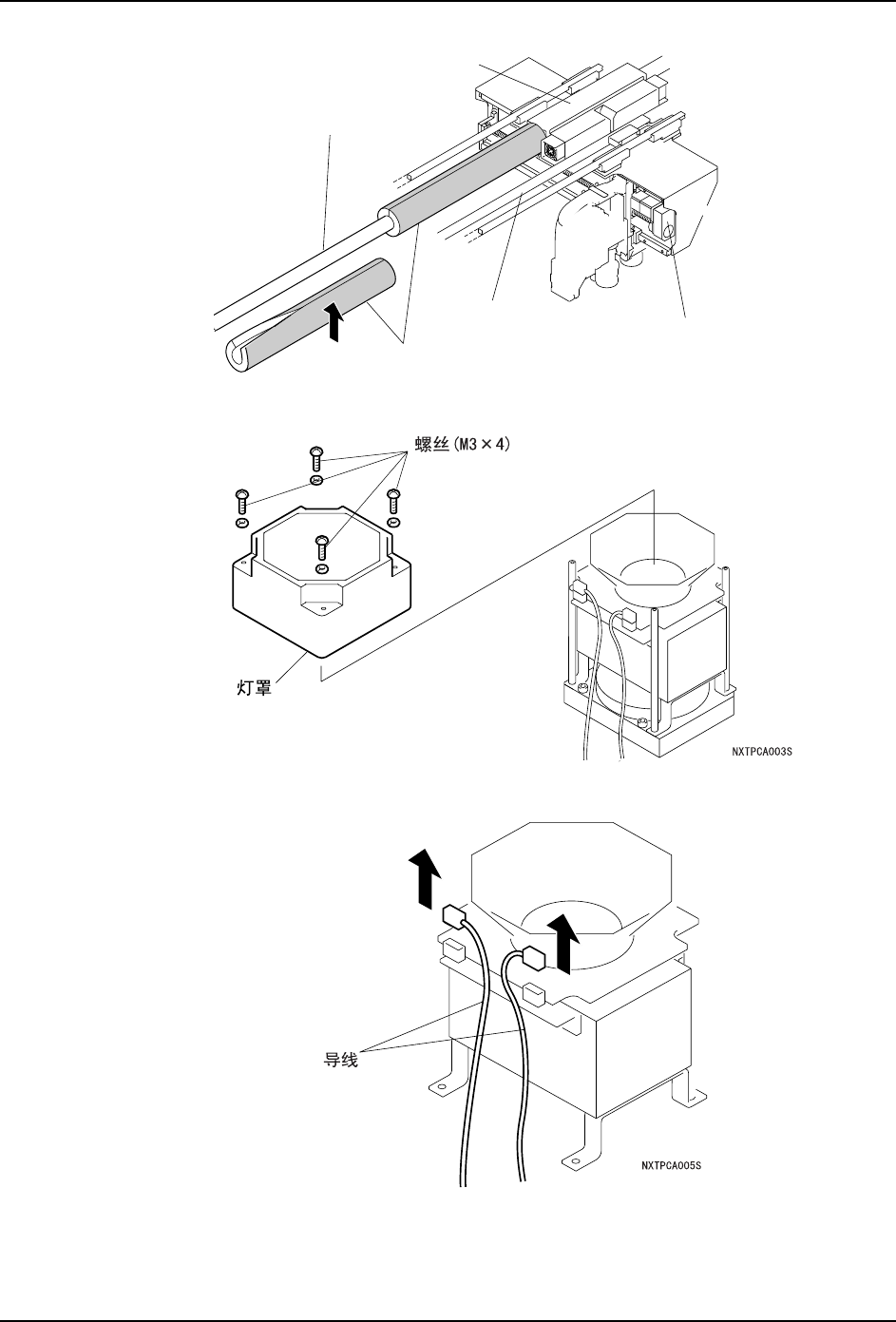
4. 用螺丝刀将固定盖罩的螺丝 (4 根)松开后拆下。
5. 从照明单元上取下导线插头 (2 个 )。
01MEC-0326Sb
ֱᡸⲪ㔽
㒓ᗻ偀䖒㒓䚼ߚ
㒓ᗻ偀䖒䕈
;䕈啓䕂Ⲫ㔽
㒓ᗻᷛሎ

QD145-11 8. 部件的更换
NXT II 机械手册 405
6. 用扳手拧松螺栓(4根)并取下。小心地拆下灯具。
注意 )安装的时候,请注意在螺柱上不要被导线咬住,有可能发生短路。
7. 用扳手拧松固定在相机单元上的螺栓(4根)并取下。
01MEC-0201Sb
䗣䬰
㶎᷅䆚߿ᷛ䆄
᮴ῑ
⫼Ѣᷛޚ
3Ⳍᴎ㧕
ḍῑ
㧔⫼Ѣ催ߚ
䕼⥛Ⳍᴎ㧕
ḍῑ
㧔⫼Ѣջܝ♃
Ⳍᴎ㧕
✻ᯢऩܗ
㶎᷅Փ⫼0⫼ⱘ݁㾦ᡇ
ḍῑ
㧔⫼Ѣᷛޚ
3Ⳍᴎ㧕

8. 部件的更换 QD145-11
406 NXT II 机械手册
8. 从相机后部拆下连接线插头 (2 个 )。
9. 按照与取下时相反的顺序安装新的单元。
注意 )在安装灯具单元时,请注意双头螺栓不要咬住连接线。否则连接线有可能短路。
10.安装相机单元到模组上的时候,请注意以下几点。
a. 相机的安装方向为使相机单元的切口朝向搬运轨道侧。
b. 将基座上的定位销与相机单元(反面)的U字漕对齐。
ᨀ䖤䔼䘧
ߛষ
ᴎ఼ࠡᮍ
01MEC-1094S
Ⳍᴎऩܗ
ᅮԡ䫔8ᄫῑ
㧨ᇚⳌᴎऩܗᅝ㺙ᴎ఼Ё༂ⱘᯊ㧪
$,03&$6