NXT part list(Vol.1-Vol.3).pdf - 第42页
A 9 1 2 3 10 11 12 13 3 4 7 8 6 15 16 14 21 22 20 UL02003 1. PARTS PLACING / 部品装着 42 PTS-NXT-06JE

1.4.2. H04-NE18A-NOZZLE STATION
1.4.2. H04-NE18A-ノズルステーション
UL01903
No. Drg.No. & Code No. QTY Description Rating Materials Remark
番号 図番 & コード番号 個数 品名 規格 材質 備考
1 AA0AG05 1 HOLDER ホルダ OT
2 PM40224 1 HOLDER ホルダ AL
3 PM35033 2 PIN, REFERENCE ピン 基準 FE
4 PS00771 1 SHEET シート PL
5 R5012C 2 ROLLER, NEEDLE ローラ ニードル ゚3X11.8 OT
6 PZ10120 18 PIN ピン FE
7 PM04922 1 PIN ピン FE
8 PZ05021 1 SPRING, TENSION スプリング 引張 FE
9 PX02910 1 SEAL, BAR CODE シール バーコード OT
10 PX02900 1 SEAL, BAR CODE シール バーコード PL
11 PB22155 1 SHUTTER シャッタ FE
12 PM06841 8 PIN ピン FE
13 K51692 8 SCREW, C/R COUNTERSUNK 小ネジ 十穴皿 M02.5X006(ステンレス)OT
14 AA1YF00 1 GUIDE ガイド OT
15 H5276A 2 BOLT, HEX SOCKET ボルト 六角穴 M03X010 FE
16 W1010A 2 WASHER, CONICAL ワッシャ 皿 M- 3-L FE
20 AA1YG01 1 BLOCK ブロック OT
21 H5276A 2 BOLT, HEX SOCKET ボルト 六角穴 M03X010 FE
22 W1010A 2 WASHER, CONICAL ワッシャ 皿 M- 3-L FE
1. PARTS PLACING / 部品装着 41 PTS-NXT-06JE

A
9
1
2
3
10
11
12
13
3
4
7
8
6
15
16
14
21
22
20
UL02003
1. PARTS PLACING / 部品装着 42 PTS-NXT-06JE

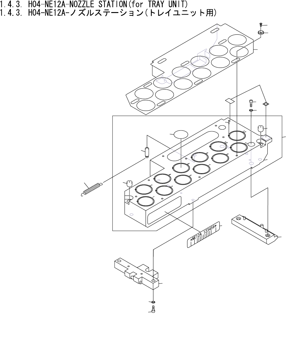
1.4.3. H04-NE12A-NOZZLE STATION(for TRAY UNIT)
1.4.3. H04-NE12A-ノズルステーション(トレイユニット用)
UL02003
No. Drg.No. & Code No. QTY Description Rating Materials Remark
番号 図番 & コード番号 個数 品名 規格 材質 備考
1 AA12C03 1 HOLDER ホルダ OT
2 PM51784 1 HOLDER ホルダ AL
3 PM35033 2 PIN, REFERENCE ピン 基準 FE
4 PS00991 1 SHEET シート PL
6 PZ10120 12 PIN ピン FE
7 PM04922 1 PIN ピン FE
8 PZ05021 1 SPRING, TENSION スプリング 引張 FE
9 PX03450 1 SEAL, BAR CODE シール バーコード OT
10 PX03440 1 SEAL, BAR CODE シール バーコード PL
11 PB28951 1 SHUTTER シャッタ FE
12 PM06841 9 PIN ピン FE
13 K51692 9 SCREW, C/R COUNTERSUNK 小ネジ 十穴皿 M02.5X006(ステンレス)OT
14 AA12D02 1 GUIDE ガイド OT
15 H5293A 2 BOLT, HEX SOCKET ボルト 六角穴 M04X025 FE
16 W1011A 2 WASHER, CONICAL ワッシャ 皿 M- 4-L FE
20 AA29Z01 1 BLOCK ブロック OT
21 H5276A 2 BOLT, HEX SOCKET ボルト 六角穴 M03X010 FE
22 W1010A 2 WASHER, CONICAL ワッシャ 皿 M- 3-L FE
1. PARTS PLACING / 部品装着 43 PTS-NXT-06JE