NXT part list(Vol.1-Vol.3).pdf - 第861页
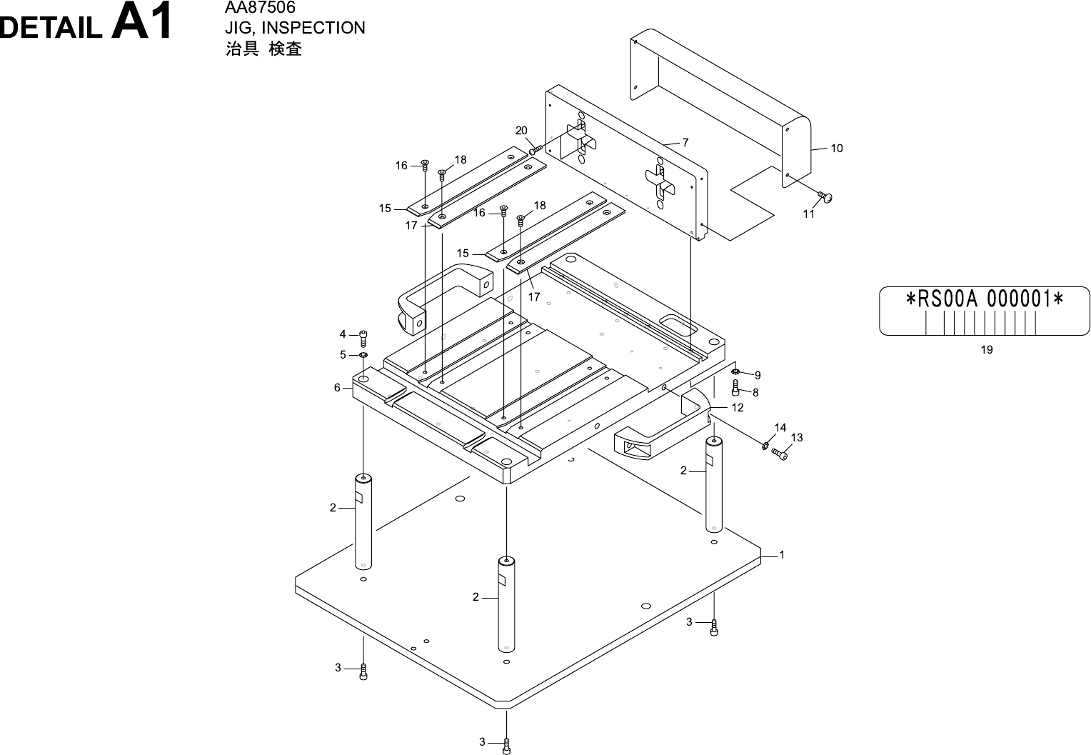
No. Drg.No. & Code No. QTY Description Rating Materials Remark 番号 図番 & コード番号 個数 品名 規格 材質 備考 1 PM14994 1 PLATE プレート FE 2 PM14950 4 SUPPORT COLUMN 支柱 FE 3 H5299A 4 BOLT, HEX SOCKET ボルト 六角穴 M05X012 FE 4 H5303A 4 BO…

292 PTS-NXT-06JE

No. Drg.No. & Code No. QTY Description Rating Materials Remark
番号 図番 & コード番号 個数 品名 規格 材質 備考
1 PM14994 1 PLATE プレート FE
2 PM14950 4 SUPPORT COLUMN 支柱 FE
3 H5299A 4 BOLT, HEX SOCKET ボルト 六角穴 M05X012 FE
4 H5303A 4 BOLT, HEX SOCKET ボルト 六角穴 M05X022 FE
5 W1012A 4 WASHER, CONICAL ワッシャ 皿 M- 5-L FE
6 PM14933 1 BASE ベース FE
7 PM14943 1 PLATE プレート FE
8 H5290A 4 BOLT, HEX SOCKET ボルト 六角穴 M04X015 FE
9 W1011A 4 WASHER, CONICAL ワッシャ 皿 M- 4-L FE
10 PB09160 1 COVER カバー FE
11 K5170T 4 SCREW, C/R TRUSS 小ネジ 十穴トラス M03X006 ユニクロメッキ(シロ)FE
12 T5014L 2 HANDLE 取手 UPCN21 (ロット10) OT
13 H5322A 4 BOLT, HEX SOCKET ボルト 六角穴 M06X015 FE
14 W1013A 4 WASHER, CONICAL ワッシャ 皿 M- 6-H FE
15 PM14973 2 PLATE, GUIDE プレート ガイド FE
16 K5357M 4 SCREW, HEX SOCKET COUNTERSUNK 小ネジ 六角穴皿 M03X006 FE
17 PM14983 2 PLATE, GUIDE プレート ガイド FE
18 K5357M 4 SCREW, HEX SOCKET COUNTERSUNK 小ネジ 六角穴皿 M03X006 FE
19 PX02050 1 SEAL, BAR CODE シール バーコード OT
20 XP00130 2 SCREW, C/R PAN 小ネジ 十穴鍋 OT
DETAIL A1
293 PTS-NXT-06JE

294 PTS-NXT-06JE