CP8机械手册.pdf - 第117页
消耗品的更换 >> 搬运轨道传送带 MEC-CP-842-1 .0S 6-5 6.4 搬运轨道传送带 要 点 在搬运轨道传送带断裂,损伤时 请进行更换。 方 法 1 请拆下电路板升降板。 2 拧松固定张力滑轮的螺丝,放 松皮带的张力。 3 拧松传送带导板的安装螺栓。 4 更换搬运轨道的传送带。 5 把厚度为 0.3mm 的厚薄规放入传送带与面板的中间, 在保证两者为 0.3mm 间隙的情 况下拧紧传送带导板的安装螺 栓。 6…

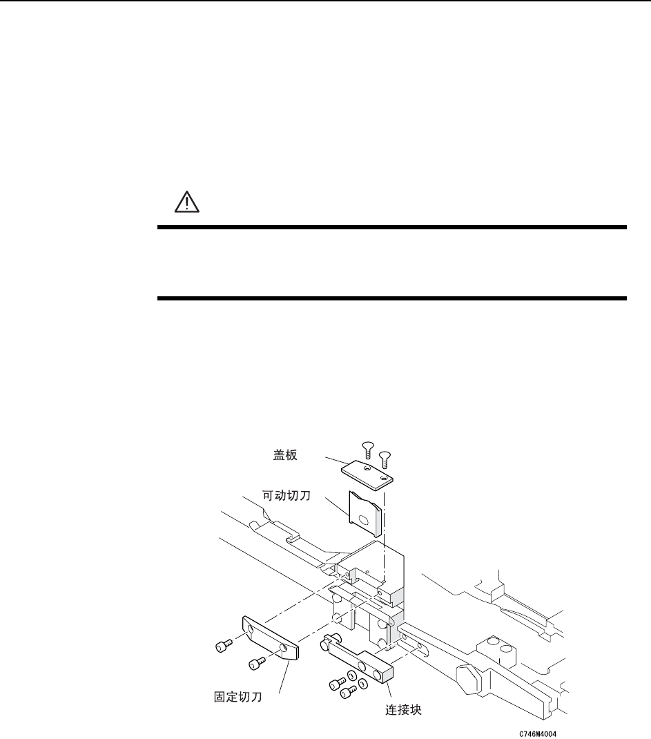
消耗品的更换 >> 废料带切刀
6-4 MEC-CP-842-1.0S
6.3 废料带切刀
要 点
由于切刀的破损引起料带切断的不良,将导致废料带堵塞以及供料器送料的不良。
方 法
1 拆下废料带切刀上部的盖板。
2 拆下安装固定切刀用的 2 个螺丝。
3 拆下安装在可动切刀的连接块上的 2 个螺丝。
4 装上新的固定切刀和可动切刀。
备注 ) 安装可动切刀前请在转动部位涂上润滑油。(参照 5.2.9 废料带切断装置的加油处)。
警 告
作业前必须要切断主电源。
凸轮轴在初始位置 (0 度)以外的情况时,因为弹簧弹力的作用,会发生
回转。在机器内部作业有危险,请充分注意安全。

消耗品的更换 >> 搬运轨道传送带
MEC-CP-842-1.0S 6-5
6.4 搬运轨道传送带
要 点
在搬运轨道传送带断裂,损伤时请进行更换。
方 法
1 请拆下电路板升降板。
2 拧松固定张力滑轮的螺丝,放松皮带的张力。
3 拧松传送带导板的安装螺栓。
4 更换搬运轨道的传送带。
5 把厚度为 0.3mm 的厚薄规放入传送带与面板的中间,在保证两者为 0.3mm 间隙的情
况下拧紧传送带导板的安装螺栓。
6 用 1 到 1.5 公斤的力沿着箭头方向加在传送带上并保持拉紧的状态,拧紧张力滑轮的
螺丝。
备注 ) 一边以 1~2mm 朝箭头方向拉紧张力滑轮,一边拧紧螺丝,也能够给传送带加上规定
的张力。
警 告
作业前请切断主电源。

消耗品的更换 >> 搬运轨道传送带
6-6 MEC-CP-842-1.0S
搬运轨道的张力规定值如下。
请使用张力计测定图中的箭头处的张力。