CP8机械手册.pdf - 第18页
安全指南 >> 本机型独有的注意 事项 2-6 MEC-CP-842-1.0S 2.3 本机型独有的注意事项 2.3.1 CP-842E/842ME 警告 不要将手或身体从搬运轨道开口部伸入到机器内部。 · 手或身体有被机器卷入而受伤 的可能性。 不要在防护罩处于拆下的状态下运转机器。 · 手或身体有被机器卷入而受伤 的可能性。 检查凸轮箱上部时请关闭电源。 · 检查凸轮箱上部时请关闭电源 ,否则有触电的危险。 请确认凸轮是…

安全指南 >> 全机型共同的注意事项
MEC-CP-842-1.0S 2-5
注意
请不要在传感器被拆除或是无效的状态下运转机器
·此时连锁功能不能正常工作,机器各部分会相互干扰并造成损坏。
装有自动换线装置的机器,请使用监视器上的信息来确认机器的运转状态
·装有自动换线装置的机器,在自动运转模式下即使正在自动换线,从机器的前部也很
难判断机器的运转状况。请按照监视器上显示出的机器信息和指示进行操作。
关闭电源后,至少在 5 分钟内不要接触伺服放大器的电源端子。
·即使关闭了电源,伺服放大器内也会有残存的高电压。如果需要接触伺服放大器的电
源端子,至少要等 5 分钟。在确认 CHARGE 灯熄灭后,才可进行。
小心触电
请使用把手开闭安全门和防护罩
·有可能手被挤压而受伤。
·快速开闭时有可能破损。

安全指南 >> 本机型独有的注意事项
2-6 MEC-CP-842-1.0S
2.3 本机型独有的注意事项
2.3.1 CP-842E/842ME
警告
不要将手或身体从搬运轨道开口部伸入到机器内部。
·手或身体有被机器卷入而受伤的可能性。
不要在防护罩处于拆下的状态下运转机器。
·手或身体有被机器卷入而受伤的可能性。
检查凸轮箱上部时请关闭电源。
·检查凸轮箱上部时请关闭电源,否则有触电的危险。
请确认凸轮是否处于原位置 (0 度)。
·请充分注意不要将凸轮轴在原位置 (0 度)以外的位置停止。
(在紧急停止时,凸轮轴会在原位置以外的位置停止)。
贴装工作头驱动系统有可能会因为弹簧反力而回转,有危险。
·当凸轮轴不在原位置 (0 度)时,请使用凸轮轴摇手柄将凸轮轴转回到原位置后再进
行机器的操作。

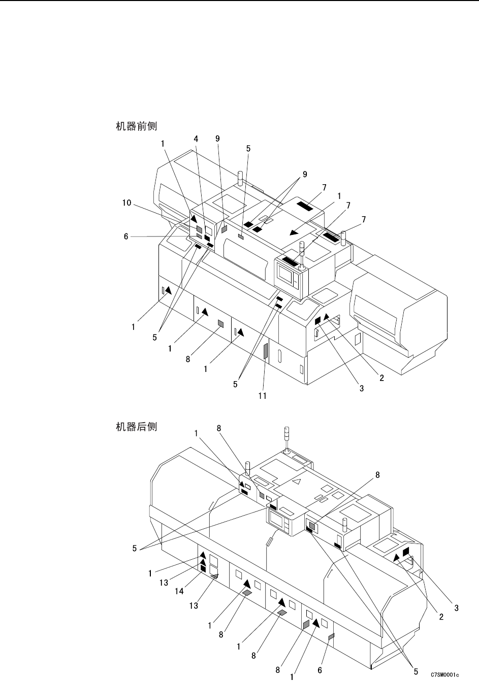
安全指南 >> 安全标记
MEC-CP-842-1.0S 2-7
2.4 安全标记
表示在操作机器时的注意事项的安全标记粘贴在机器上的下图所示位置。请认真阅读其记
载内容,安全的使用机器。
<CP-842E>