CP8机械手册.pdf - 第175页
调 整 >> 站的各部 MEC-CP-842-1 .0S 7-37 7.1.1 1 贴装角度还原动作 (第 10 站) 要 点 将在 9ST 贴装完毕的吸嘴反转,反转量与在 2ST 及 8ST 所转过的角度 相同。 离合器的啮合确认 这里的确认请用 LOW 吸嘴进行。 备注 )1 6 支贴装工作头中压下量为最低值的称为 “ LOW 贴装头” 。 2ST , 8ST 以及 10ST 的各离合 器啮合的确认,请使用 “ LOW …

调 整 >> 站的各部
7-36 MEC-CP-842-1.0S
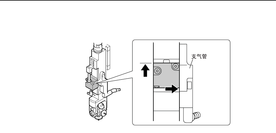
9 将 2 个 O 型密封圈与机械阀安装到轴上。将机械阀上面顶住轴侧安装槽的上面,然后
将机械阀右端靠压在支气管 (黑色树脂制)内。
10 用 0.8N·m (8Kgf·cm)的力矩拧紧安装螺栓使其固定。
C84PHD004

调 整 >> 站的各部
MEC-CP-842-1.0S 7-37
7.1.11 贴装角度还原动作 (第 10 站)
要 点
将在 9ST 贴装完毕的吸嘴反转,反转量与在 2ST 及 8ST 所转过的角度相同。
离合器的啮合确认
这里的确认请用 LOW 吸嘴进行。
备注 )16支贴装工作头中压下量为最低值的称为“LOW 贴装头”。 2ST,8ST 以及 10ST 的各离合
器啮合的确认,请使用 “LOW 贴装头”进行。
1 按下 [ 紧急停止 ] 按钮,切断 200V 电源,只使用 100V。
2 在凸轮角度为 0 度时,将 10ST 的电磁阀设置为 ON,使凸轮杆开始动作。
3 将千分表设置在吸嘴轴旋转制动器的下面。
4 请边看凸轮刻度盘边旋转凸轮手柄,将凸轮角度调整到 200 度。
5 确认离合器是否正常的啮合。确认 LOW 贴装头是否被压下 0.30~0.35mm。
警 告
作业前必须要切断 200V 电源。
凸轮轴在初始位置 (0 度)以外的情况时,因为弹簧弹力的作用,会发生
回转。
在机器内部作业时有危险,请充分注意安全。

调 整 >> 站的各部
7-38 MEC-CP-842-1.0S
离合器啮合检测传感器位置的调整
1 按下 [ 紧急停止 ] 按钮,切断 200V 电源,只使用 100V。
2 请边看凸轮刻度盘边旋转凸轮手柄,将凸轮角度调整到 200 度。
3 使用微动操作,将 R θ轴对准 R θ数据位置。
4 在离合器正常啮合的状态下,调整托座 A 的安装高度,使下图的间隙 C 为 0.2mm。
5 在该位置调整托座 B,使挡片的孔与传感器的光轴一致。
离合器啮合检查传感器放大器的调整
调整传感器放大器,使之在离合器啮合的状态下为 OFF,在离合器没有啮合且挡片被下压
的状态下为 ON。
拆下放大器的面板后进行以下的设定。
注意 ) 注意不要让放大器的面板掉进机器内。
警 告
作业前必须要切断 200V 电源。
凸轮轴在初始位置 (0 度)以外的情况时,因为弹簧弹力的作用,会发生
回转。
在机器内部作业时有危险,请充分注意安全。