CP8机械手册.pdf - 第80页
保养作业 >> 清 扫 5-16 MEC-CP-842-1.0S 5.1.14 搬运爪用无连杆汽缸 (每月1次) 要 点 驱动搬运爪的无连杆汽缸的移动面上吸附了在运转中飞散的切屑 和纤维等。 请定期清扫无 连杆汽缸。 方 法 1 用软布轻轻擦拭无连杆汽缸的滑行 面。汽缸两端的滑块与缓冲器座之 间如果有黑的 带状物时,请除去。 2 用软布沾上润滑油擦拭汽缸的滑行 面。 备注 ) 此处使用的是出光公司生产的 Daphne Epo…

保养作业 >> 清 扫
MEC-CP-842-1.0S 5-15
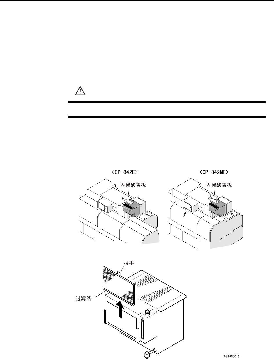
5.1.13 润滑油冷却箱用空气过滤器 (每月 1 次)
要 点
润滑油冷却单元中装有空气过滤器。过滤器堵塞后将导致润滑油冷却单元故障。请定期的清
扫空气过滤器。
方 法
1 取下机器上的丙稀酸盖板。
2 抓住过滤器板的拉手,向上拉出过滤器。
3 用吸尘器等来清扫过滤器。
警 告
作业前请切断主电源。

保养作业 >> 清 扫
5-16 MEC-CP-842-1.0S
5.1.14 搬运爪用无连杆汽缸 (每月1次)
要 点
驱动搬运爪的无连杆汽缸的移动面上吸附了在运转中飞散的切屑和纤维等。请定期清扫无
连杆汽缸。
方 法
1 用软布轻轻擦拭无连杆汽缸的滑行面。汽缸两端的滑块与缓冲器座之间如果有黑的
带状物时,请除去。
2 用软布沾上润滑油擦拭汽缸的滑行面。
备注 ) 此处使用的是出光公司生产的 Daphne Eponex No.2 润滑油。
警 告
作业前请切断主电源。

保养作业 >> 清 扫
MEC-CP-842-1.0S 5-17
5.1.15 吸嘴部过滤器 (每 3 个月 1 次)
要 点
吸嘴轴内的过滤器随着机器的运转而变脏。请每 3 个月左右更换新品。
如果某个特定的吸嘴发生吸件不良时,有可能是在过滤器上积满垃圾导致空气不流通所致。
方 法
1 用手指压一下卡口,取出过滤器。
注意 ) 请不要在吸嘴轴上加很大的力。
拆装过滤器时,请注意上下方向。
2 从过滤器 Assy 上拔出固定销,更换过滤器和固定销。
警 告
作业前请切断主电源。