NXTII 机械手册.pdf - 第259页
QD145-04 6. 预防保养 NXT Ⅱ机械手册 237 与吸嘴尺寸相吻合的清扫用的通条的选择 有内径的前端和内部不同的吸嘴 。 请参考下表选择适合清扫的吸 嘴。 使用不合适的通条时, 有可能使吸嘴破损。 关于超声波清洗器的使用 使用超声波清洗器清洗吸嘴的时 候,请遵守以下要点。 ·清洗器 : 60W 以上 、眼镜、贵金属所用 · 清洗液 : 以乙醇酒精、异丙醇酒精为主要成分的清洗 液 ·清洗时间 : 约 15 分钟 · 对于贴有 …

6. 预防保养 QD145-04
236 NXT Ⅱ机械手册
6.10.5 吸嘴的清扫
以 150,000 次的吸嘴吸取为大致标准进行清扫。
清扫步骤
1. 从吸嘴置放台上取下吸嘴。
2. 正确地拿着吸嘴,使用与吸嘴相符合的通条 (AMPJ8100 或者 AA4XY01),除去吸嘴前端以
及内部的污垢。(参考 「与吸嘴尺寸相吻合的清扫用的通条的选择」。)
此外,在 H01 工作头的φ 1.0 吸嘴的时候,请分解进行清扫。
注意 )清扫时请正确地拿住吸嘴。将吸嘴前端 (陶瓷部分)拉出后进行清扫。拿住法兰盘部
分时,对前端部分会施加压力而造成损伤。
3. 关于 2D 编码部分,请使用沾有清洗液(乙醇酒精、异丙醇酒精)的棉花棒,擦去表面的
污垢。在 2D 编码部分剩余的清洗液请用空气枪等除去。
4. 请确认吸嘴管子是否可以顺畅地上下移动。用推拉尺等压住吸嘴的前端,确认是以 20gf
以下的力动作。另外,H01 工作头吸嘴的时候,请确认在法兰盘面上是否有压痕、翘曲、
扭转等。
注意 )吸嘴的动作不叫迟缓时会对生产造成影响。请不要使用。
5. 将吸嘴安装在吸嘴置放台上时,请将管子处于降低的状态。
另外,在 H01 工作头时,请擦去法兰盘面的油污。
备注 )0603 用吸嘴清扫治具 (AA4XY01)的通针非常细,破损的时候可以仅仅更换通针。请
参考以下的表格,另外定购通针进行更换。
吸嘴直径 (对象元件) 图号 名称
φ 0.4 (0603 用) PB75690 通针
ℷ⹂ⱘᣓ⊩
䫭䇃ⱘᣓ⊩
㧨+Ꮉ༈ޔǾఈⱘᚙމϟ㧪
ᔍㇻ
ㅵᄤ
䫔
㧻ൟ
⊩݄Ⲭ
ᢚ䰸㧻ൟޔᢨᥝ䫔䖯ߚ㾷
1;71=&6
⏙ᠿ䗮ᴵ
$:3-
ㅵᄤϟ䰡
ㅵᄤ亲ߎᴹ
ℷ⹂
䫭䇃
1;71=&6
ఈ㕂ᬒৄ

QD145-04 6. 预防保养
NXT Ⅱ机械手册 237
与吸嘴尺寸相吻合的清扫用的通条的选择
有内径的前端和内部不同的吸嘴。请参考下表选择适合清扫的吸嘴。使用不合适的通条时,
有可能使吸嘴破损。
关于超声波清洗器的使用
使用超声波清洗器清洗吸嘴的时候,请遵守以下要点。
·清洗器 : 60W 以上、眼镜、贵金属所用
·清洗液 : 以乙醇酒精、异丙醇酒精为主要成分的清洗液
·清洗时间 : 约 15 分钟
·对于贴有 2D 编码粘纸的吸嘴,请不要使用超声波清洗器。有用 2D 激光刻度的吸
嘴可以用超声波清洗器进行清洗。
·第一次使用清洗器时,请事先用 1 ~ 2 个吸嘴进行试验,以确认是否对吸嘴的涂
装以及橡胶垫有影响。
·洗净后,请立即用气枪将残留在吸嘴中的清洗液除去。另外,请充分进行清洗液
的污垢管理,以防止吸嘴被逆向污染。
φ 0.7 (1005 用) PB75700 通针
吸嘴直径 (对象元件) 图号 名称
〈H08〉 〈H04〉
吸嘴直径 通条直径 吸嘴直径 通条直径
( 上面刻印 ) 吸嘴前端 吸嘴里面 吸嘴前端 吸嘴里面
φ 0.3 ( 推荐用超声波清洗 ) φ 1.0 φ 0.6 φ 0.35
φ 0.4 ( 推荐用超声波清洗 ) φ 1.3 φ 0.9 φ 0.6
φ 0.7 φ 0.35 φ 1.8 φ 0.9 φ 0.6
φ 1.0 φ 0.6 φ 0.35 φ 2.5 φ 1.9 φ 0.6
φ 1.3 φ 0.9 φ 0.35 〈H01〉
φ 1.8 φ 0.9 φ 0.35 φ 1.0 φ 0.6 φ 0.35
φ 2.5 φ 1.9 φ 0.35 φ 1.3 φ 0.9
φ 1.3A φ 0.9 φ 0.6 φ 1.8 φ 0.9
φ 1.3B φ 0.9 φ 0.6 φ 2.5 φ 1.9 φ 1.35
φ 2.5A φ 1.9 φ 0.6 - - -
ఈ
䗮ᴵ
ఈ
䗮ᴵ
1;71=&6
⏙ᠿఈࠡッ䚼ߚᯊ ⏙ᠿఈ䞠䴶ᯊ

6. 预防保养 QD145-04
238 NXT Ⅱ机械手册
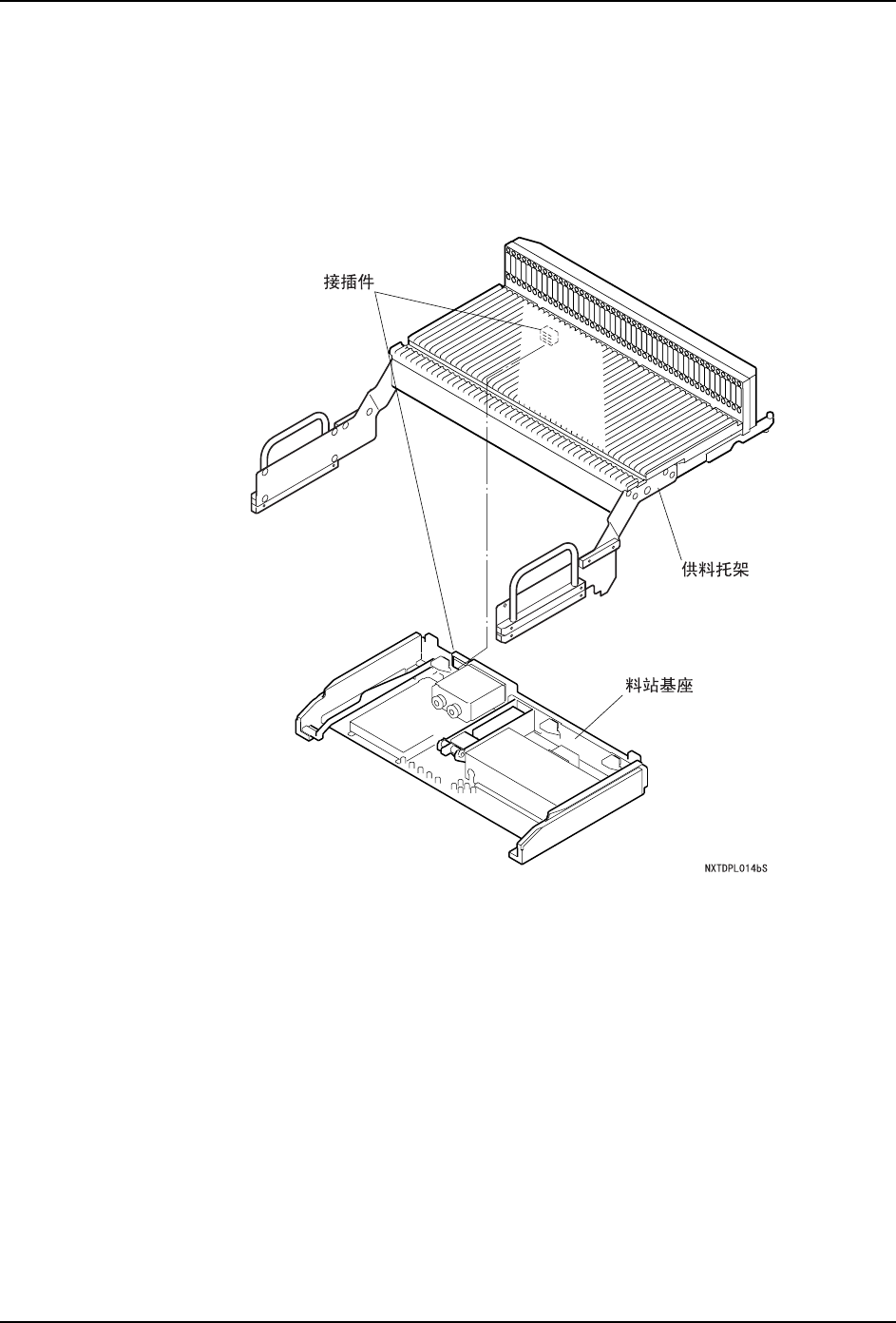
6.10.6 料站基座与料站托架间接插件的清扫
托架夹紧发生异常时
如果出现警告,请进行以下的清扫。
1. 拆下料站托架。( 详细请参考 " 5.3 料站托架的拆除 / 安装 ")
2. 用吸尘器吸取残留在接插件 ( 料站托架侧与基座两侧 ) 的垃圾及灰尘。
6.10.7 贴装工作头真空过滤器的检查·更换 〈H01/H02 工作头〉
吸嘴真空异常时,请检查贴装工作头真空过滤器的污染状况。污垢严重的时候请与新品进行
更换。(关于更换步骤,请参考 " 6.5.4 贴装工作头真空过滤器的清扫 ")
6.10.8 搬运轨道传送带张力的检查
检查时期
电路板的停止位置不稳定或者发生电路板搬运错误的时候,请检查搬运轨道传送带。(关于
更换步骤,请参考 " 6.9.11 搬运轨道传送带张力的检查 ")