NXTII 机械手册.pdf - 第288页
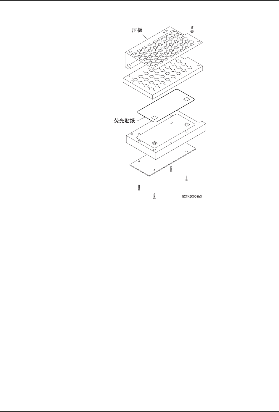
7. 消耗品的更换 QD145-04 266 NXT Ⅱ机械手册 7.8 吸嘴置放台萤光粘纸 7.8.1 更换时期 在确认有无吸嘴中发生错误时。 7.8.2 更换方法 参考 " 5.7 吸嘴置放台的拆除 / 安装 ",将吸嘴置放台 从吸嘴更换器上拆下。请根据不同 型号按下述步骤,贴换萤光粘纸 。 <H01/H02 类型 > 请直接贴换荧光粘纸。 <H04 类型 > 请直接贴换荧光粘纸。 <…

QD145-04 7. 消耗品的更换
NXT Ⅱ机械手册 265
7.7.5 更换后的各种设定
电池更换后有必要进行基座的网络设定。
设定方法
1. 将主电源开关 ON。
2. 显示出电池用尽的画面,按下次 OK 按键。显示出网络的设定画面。
备注 )不显示出电池用尽的画面,显示出网络设定画面时,请进行以下步骤。
3. 在网络设定画面上,设定 IP address,Subnet mask,Default gateway。
备注 )在前项即使按下 OK 按键也不显示网络设定画面时。
请使用软件工具 「NetworkSetting」设定网络。参考 (NXT Ⅱ系统手册)。
4. 暂时使主电源开关 OFF,重新将其 ON。
5. 更进一步,要指定 DNS 伺服或者主电脑名的时候,请使用软件工具 「NetworkSetting」
设定网络。参考 (NXT Ⅱ系统手册)。
Module <<Normal Mode>>
Fuji_VM Version V02.61
Fuji Machine Mfg. Co., Ltd.
Booting system
DIO Initialize Done
CUnet Initialize Done
Panel Initialize Done
IO Shell Initialize Done
Boot Error occurred
ErrorCode :0x8000EB0D
SubErrorCode :0x00000000
Battery Error(Base)
:
:
:
01MEC-0027
01MEC-0028

QD145-04 7. 消耗品的更换
NXT Ⅱ机械手册 267
2. 取下压板,更换荧光贴纸。
