JM-10_使用说明书.pdf - 第412页
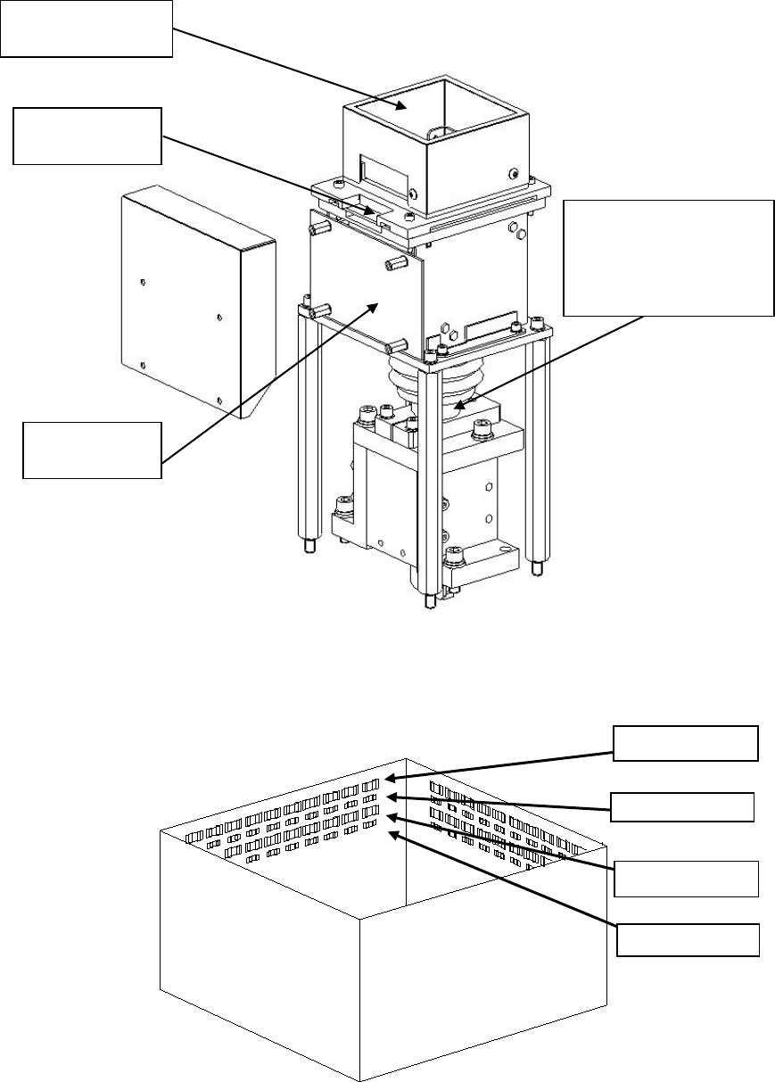
第 1 部 基本篇 第 4 章 制作生产程序 4- 130 图 4-3-7-7-1 VCS 单元 图 4-3-7-7-2 侧面 照明单元 侧面照明蓝色(1层) 侧面照明红色(1层) 侧面照明蓝色( 2 层) 侧面照明红色( 2 层) 侧面照明 (4 方向 ) 同轴照明 ・ 54mm 视野摄像机 ・ 27mm 视野摄像机 ・ DFFP 摄像机 (选择摄像机) 下方照明

第 1 部 基本篇 第 4 章 制作生产程序
4-129
4-3-7-7 VCS 的构造
JM-10的元件用照明大致有以下2种照明类型:
●反射照明(标准照明、红色)
●侧面照明(BGA、FBGA用照明,蓝色、红色)
(1)
反射照明
(参见图 4-3-7-7-1、图 4-3-7-7-2)
是由同轴照明(半透半反镜照明)、下方照明,红色侧面照明(上下层)3个照明区构成的红色
照明。是除去BGA元件的元件默认照明,由于是从3个方向照明,因此即使像镜面引脚、
镀锡引脚等很难检测的引脚也不易受引脚材质、加工、涂层的影响,可进行稳定的元件摄
像。
(2)
侧面照明
(参见图 4-3-7-7-1、图 4-3-7-7-2)
是用于识别基板型BGA(FBGA)
※
1
焊球的照明。从球的横向进行照明(通常为蓝色)。
此外,侧面照明有通常的蓝色侧面照明(上下层)和红色侧面照明(上下层)
※
2
,但蓝色侧面照
明和红色侧面照明不能同时亮灯。
※1 基板型BGA: 为一般的BGA,球体明亮,背景为暗色。
与此相反,背景颜色明亮的BGA被称为陶瓷型BGA。
※2 红色侧面照明: 对基板型BGA(FBGA)的背景 (保护层和插入件)使用蓝色材料的元
件,在蓝色侧面照明、背景发光时使用此照明。

第 1 部 基本篇 第 4 章 制作生产程序
4-130
图 4-3-7-7-1 VCS 单元
图 4-3-7-7-2 侧面照明单元
侧面照明蓝色(1层)
侧面照明红色(1层)
侧面照明蓝色(
2 层)
侧面照明红色(
2 层)
侧面照明(4 方向)
同轴照明
・ 54mm 视野摄像机
・
27mm 视野摄像机
・
DFFP 摄像机
(选择摄像机)
下方照明

第 1 部 基本篇 第 4 章 制作生产程序
4-131
4-3-8 数据完成状态
检查数据的完成状态。若未完成则不能进行优化。
从菜单栏中单击「数据」/「数据完成状态」,显示如下画面。
图 4-3-8-1 数据完成状态
如果记录数目和完成数目一致,则表示数据已完成,在完成的“( )”中显示“*”。
另外,「吸取数据」及记录数目为0的项目,即使不显示“*”,也被看作完成。
当有未完成的项目时,请完成该项目。