KE-3010A_20VA_20VRA_使用说明书.pdf - 第1070页
第2部 功能详解篇 第1 3章 选项组件 13-41 13-9 供料器位置指示器( FPI ) FPI 位于供料器台的号码标 签 ( 表示供料器类 安装位置的号码标签 ) 的前方,号码标签的位置 编号上有 一对一的 LED ,通过 LED 的亮灯和闪烁,可直观地告知供料器的安装位置和元件供应情况。 FPI 的功能列表如下。 机器状态 LED 状态 功能 准备更换时 闪烁 显示用生产程序指定的供料器安装位置 ( 定位销插入孔 )( 编号 …

第2部 功能详解篇 第13章 选项组件
13-40
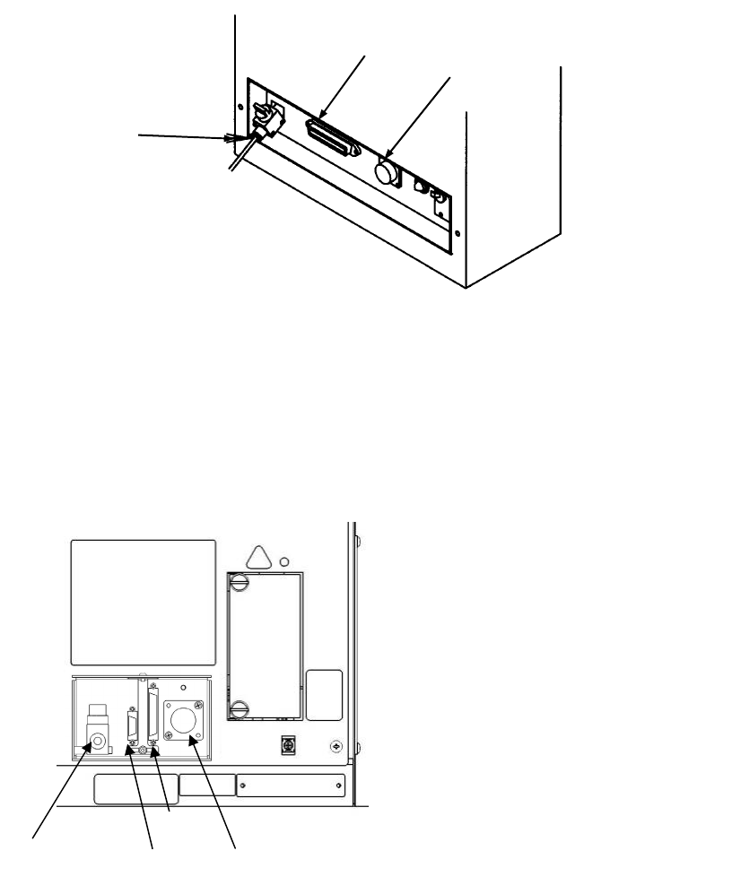
(6) 把各电缆及气管插到主机右侧的接口板上的「MTS 用电源插口」、「接口插口」、「MTS 用
6管
取出口」上。
① MTS 用电源插口
② MTS 用接口插口
③ MTS 用
6 管取出口
(7) 接通装置的电源,进行机器设置「使用单元」及「MTS 组装位置偏移」设置。
①
②
③
TR5SNX/5DNX
TR7DN
④
①
②
③
①MTS用电源插口
②MTS用接口插口
(KE-3010A/20VA/20VRA时)
③MTS用接口插口
(KE-2070/80/80R时)
④MTS 用
6 管取出口

第2部 功能详解篇 第13章 选项组件
13-41
13-9 供料器位置指示器(FPI)
FPI位于供料器台的号码标签(表示供料器类安装位置的号码标签)的前方,号码标签的位置编号上有
一对一的LED,通过LED的亮灯和闪烁,可直观地告知供料器的安装位置和元件供应情况。
FPI的功能列表如下。
机器状态 LED 状态 功能
准备更换时
闪烁 显示用生产程序指定的供料器安装位置(定位销插入孔)(编号)。
亮灯 显示要安装的供料器在供料器台上所占的范围。
基板生产时 闪烁
任意供料器的剩余元件数低于生产程序设置的元件数警告级别
(为了得知元件剩余数不多而设置的数值)时,相应的供料器安装
位置的 LED 将闪烁,告知供料器的元件剩余数已少。
元件用完时 亮灯
在生产基板时,供料器上出现生产程序设置的元件数初始值剩余数
为 0 时,该供料器安装位置上的 LED 将亮灯,告知该供料器元件
已用完。
手动控制时
供料器送料针
ON:亮灯
OFF:熄灯
用手动控制模式控制供料器送料针进行料带的传送动作、或单纯
的顶推动作时,使控制位置上各供料器定位销的 LED 与供料器送
料针的动作连动而相应地闪烁,以显示正在控制哪一位置的送料
针。
要准确地反映元件的剩余数和元件用尽,在设置切换基板生产的元件数据时,必须准确地输入与
供给供料器元件的相等数量、或与此相当的数量,否则将不能正确显示。
注意:

第2部 功能详解篇 第13章 选项组件
13-42
13-10 坏板标记传感器
(1) 坏板标记的颜色及大小
a) 在经过抗腐蚀加工的基板上,使用大于φ2.5mm且有光泽的白色标记。
b) 在白色的陶瓷基板上,使用大于φ2.5mm的黑色标记。
标记过小或出现飞白时,将无法进行检测。因此,标记必须清晰。
(2) 显示坏板标记传感器的外观。
①功率放大部分 ⑤按钮2
②光纤传感器部分 ⑥RAN(通常检测位置)
③数字显示部分 ⑦SELECT(操作选择)
④按钮1 ⑧MODE(附带功能操作)
(3) 坏板标记传感器灵敏度的调整方法
请参见「机器设置」的「8-4-13 坏板标记读入器示教」。
注意
请受过本装置操作培训的人进行操作。
为了避免工作人员以外的人误操作引起意外启动,请充分注意周围各种情况
后进行安装作业。
注意:
①
12
③
④⑤
⑥
⑦
⑧
②