CP7 Series Level3 Tutorial Manual.pdf - 第112页
Notes: Chapter 6 6.1 Replacing the NZ-Motor Edition 2.0 6-4 CP-7-series Level 3 T utorial

6.1.1 Removing the NZ-Axis Motor
Procedure:
1. Turn OFF the machine power.
2. Disconnect both electrical connections to the motor.
3. Loosen the coupling in order to separate the motor from the NZ-axis.
4. Remove the two (2) mounting bolts holding the motor to the coupling
bracket and remove the motor.
6.1.2 Installing the NZ-Axis Motor
Procedure:
1. Secure the new motor to the machine with the two (2) mounting bolts.
2. Reconnect the two (2) electrical connectors to the motor.
Note: Do not tighten the coupling at this stage.
Notice
Note that as the CP-7 utilizes absolute encoders on all axes, it is no
longer necessary to boot up the machine in Mechacheck mode when
performing motor adjustments.
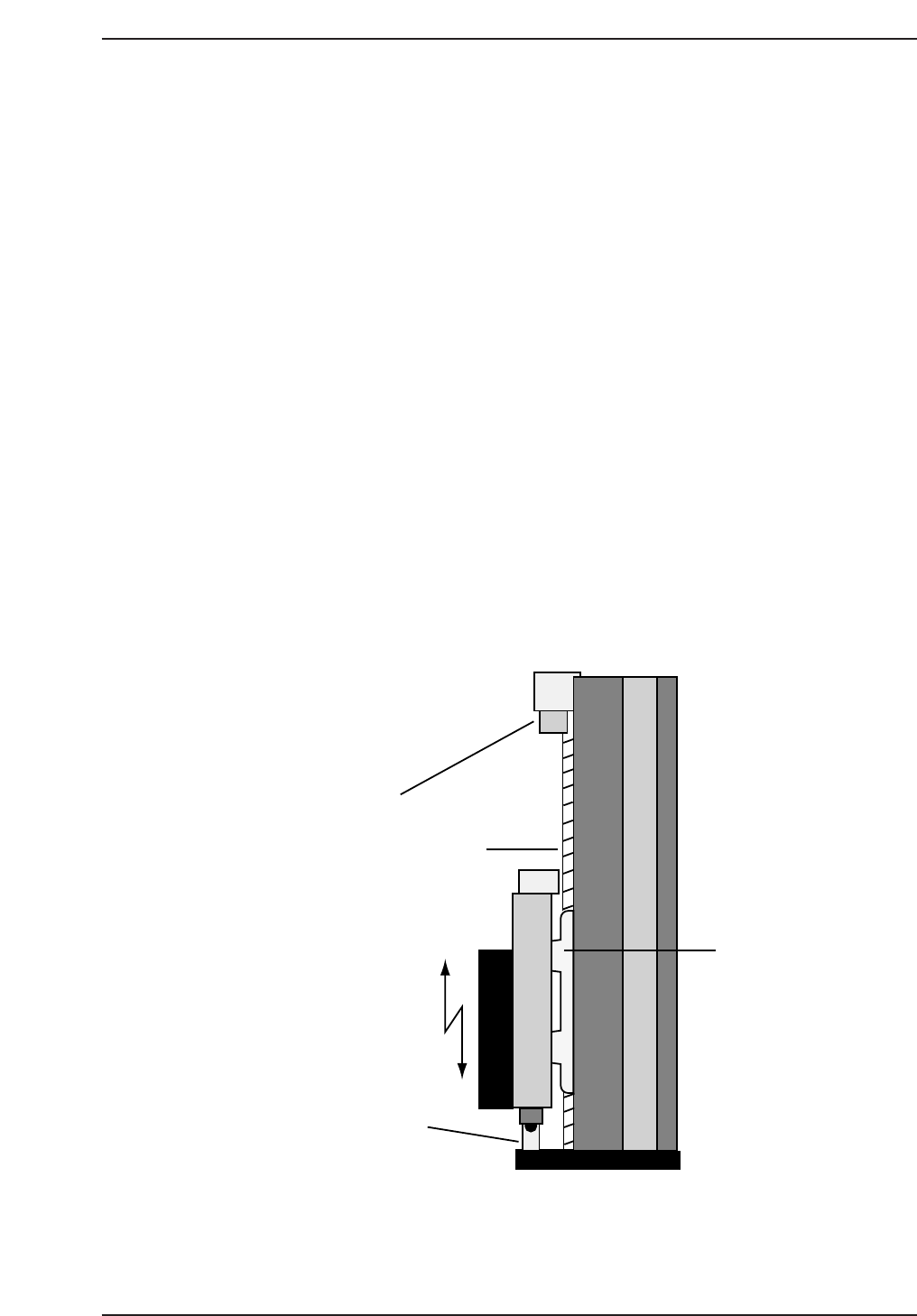
N001
Remove both
mounting bolts
Coupling
CP7T36003
Chapter 6 6.1 Replacing the NZ-Motor
Edition 2.0 6-3 CP-7-series Level 3 Tutorial

Notes:
Chapter 6 6.1 Replacing the NZ-Motor
Edition 2.0 6-4 CP-7-series Level 3 Tutorial

6.2 NZ-Axis Adjustments
Procedure:
1. Loosen the NZ-axis motor coupling and push it against the minus
mechanical stopper.
2. Manually rotate the motor until the counter value reads zero, then
tighten the coupling (torque: 0.8 Nm).
3. Pull the axis against the minus mechanical stopper and ensure the motor
position is 0 ± 50 pulses. Move the axis 100 pulses away from the
stopper position and set this in calibration data using the following
commands:
[MAINTENANCE] → [CALIBRATION] → [TRAVEL LIMITS] →
[MINIMUM LIMIT NZ].
4. Pus the axis against the plus mechanical stopper and ensure that the
motor position is 12770 ± 500. Move 100 pulses back from this position
and set this in calibration data using the following commands:
[MAINTENANCE] → [CALIBRATION] → [TRAVEL LIMITS] →
[MAXIMUM LIMIT NZ].
5. Rotate the cam angle to zero and activate the pickup solenoid using the
I/O: Y031 ST1 PICKUP SOL ENGAGED.
Ballscrew
Plus mechanical
stopper
Minus mechanical
stopper
Linear-
guide
CP7T36004
Chapter 6 6.2 NZ-Axis Adjustments
Edition 2.0 6-5 CP-7-series Level 3 Tutorial