FX-3_Instruction_Manual_Rev00_C.pdf - 第397页
第1部 基本编 第4章 制作生产程序 4-67 4-3-5-2-4 吸取条件 注意 如果在变更吸取条 件后变更了基本部分的项目, 吸取条件的 值有可能恢复为默认值。 图 4-3-5-2-4-1 元件数据(吸取条件) (1) 吸取高度补偿 是指元件吸取时的按入量。当设置为“0”时, 因元件尺寸(高度)偏差等的影响,吸嘴到达不 了元件,无法吸取元件或发生芯片站立等现象。 出现这种情况时,请增加吸嘴到达元件的高度补偿量(输入正值)。 初始值为…

第1部 基本编 第4章 制作生产程序
4-66
<使用夹式吸嘴时的设置项目>
除上述“吸嘴数据”外,夹式吸嘴的下述设置与通常的元件不同。
①使用新夹式吸嘴时,先通过“机器设置”中的“文件”/“读出吸嘴数据”,从 FD(软盘)
读入夹式吸嘴的信息。
②将吸嘴安装到 ATC 上。
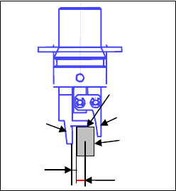
将夹式吸嘴安装到 ATC 单元上,从正面看,夹式吸嘴的固定臂应在后面,摇臂应在近前。
③设置元件数据。
a.设置吸嘴编号
吸嘴编号为 800 多号。
b.设置激光高度
指定从固定臂前端到激光面的距离。
设置基准:-(元件高度-3.5mm
※
)/2,
根据引脚位置进行微调。
※ 图 1 的 c 至固定臂的距离=3.5mm
例:元件高度为 5mm 时
-(5-3.5)/2 = -0.75mm
④设置吸取数据。
XY与通常的示教方法相同。由于Z是利用在机器设置中已注册的吸嘴信息与元件高度自动计
算的,因此无需示教。
a
b
元件
c
固定臂
摇 臂

第1部 基本编 第4章 制作生产程序
4-67
4-3-5-2-4 吸取条件
注意
如果在变更吸取条件后变更了基本部分的项目,吸取条件的
值有可能恢复为默认值。
图 4-3-5-2-4-1 元件数据(吸取条件)
(1) 吸取高度补偿
是指元件吸取时的按入量。当设置为“0”时,因元件尺寸(高度)偏差等的影响,吸嘴到达不
了元件,无法吸取元件或发生芯片站立等现象。
出现这种情况时,请增加吸嘴到达元件的高度补偿量(输入正值)。
初始值为 “0.2mm”(0603、0402为0mm)。
(2) 重试次数
设置在生产中发生吸取错误时再次吸取的次数。
当设置为“1”时,如果连续发生2次吸取错误,则变为“元件用完错误”。
当生产过程中发生重试超限时,以黄色信号灯闪烁发出通知。

第1部 基本编 第4章 制作生产程序
4-68
(3) 吸取偏移量XYZ
吸取偏移量XY:设置吸取元件时从元件中心到吸取坐标的距离。
制作吸取数据时在自动算出的“XY”的初始值上加减该值。
当元件中心有突起或坑洼,不能进行正常吸取时请设置此项。
吸取偏移量Z :设置吸取元件时从吸取基准高度起计算的按入深度。
制作吸取数据时在自动算出的“Z”的初始值上加减该值。
把从元件中心的坐标移动偏移量后的位置作为吸取坐标时,因元件旋转的影响
范围大于实际元件外形尺寸范围,故将作为与该状态相应的外形尺寸运行。
吸取坐标已完成时,吸取偏移量 XYZ 的值即使有变更,也不会进行吸取坐标的
重新计算。但若把已变更的元件数据的吸取数据的供给变更为“自动选择”,
再指定吸取位置时,则吸取坐标会被重新计算,并被反映到 Z 的值中。
(4) Z 下降速度、Z 上升速度
选择吸取时的 Z 轴移动速度。
请从下拉菜单中选择 1(速度慢)到 10(速度快)进行设置。
速度越慢操作越稳定,但是会降低节拍(导致生产速度降低)。
(5) 2 段调整
设置是否进行吸取时吸嘴的上升、下降速度 2 级别控制。
调整设置为“是”时,要分别输入对上升、下降 2 级别进行控制的高度。
(6) 真空时间调整
对是否调整真空时间进行设置。
调整设置为“是”时,要以 ms 为单位输入“开始时间”、“开始校正值”、“稳定时间”的调
整时间。
使用夹式吸嘴时,在吸取动作时不进行调整。
(7) 吸取位置校正
是以激光定心的带状元件为对象,根据激光识别结果来自动校正吸取位置偏差的功能。
设置为“是”时,校正的结果将被反映到“吸取数据”的吸取坐标中。
如果选择吸取位置校正,因生产时的吸取坐标会发生变化,生产途中有时不能
同时吸取。
(8) 自动示教
此项功能是在进行跟踪吸取位置时,自动测量元件中心的功能。
除方形芯片的0402~3216纸带(8mm间距)以外,此项不能设置为“是”。
设置为“是”时,将在进行跟踪吸取位置时执行自动示教。