2OM-GXH-3使用说明书.pdf - 第278页
4-109 0708-001 6.5 其他教示 • 安装头旋转中心补正值 Ym(+) Xm(+) Fig.2D50-1 • 基准标记补正值 Ym(+) Xm(+) Fig.2D50-2 安装头旋转中心 线路板识别照相机中心 Pm: 装置基准坐标原点 安装头旋转中心 安装头旋转中心 Xm-Ym: 装置基准坐标系 线路板识别照相机中心 安装头旋转中心 线路板识别照相机中心 Xm-Ym: 装置基准坐标系 线路板识别照相机中心 Pm: 装置基准…

4-108
•
教示的步骤
(1) 执行教示前,交换治具吸嘴的吸嘴,在元件识别照相机的治
具放置场所设置 QFP 玻璃治具。
请将 QFP 玻璃治具的印刷面朝下。
(2) 选择执行安装头旋转中心 / 基准标记位置教示的安装头 (1
~ 4)。
(3) 按 [ 实行安装头旋转中心教示 ] 按钮。
执行安装头旋转中心补正值的教示。
•
执行教示时,检测到启动条件。
•
在教示的执行途中发生异常时或按操作台的 [STOP] 按钮,
装置便进入暂停中状态。可以重新启动。
•
在暂停中状态下,不能选择其他菜单。
结束教示后,指定的安装头自动返回到原点。
教示结果显示在
“
安装头旋转中心教示
”
显示部中。
(4) 按 [ 实行基准标记位置教示 ] 按钮。
执行基准标记补正值的教示。
•
执行教示时,检测到启动条件。
•
在教示的执行途中发生异常时或按操作台的 [STOP] 按钮,
装置便进入暂停中状态。可以重新启动。
•
在暂停中状态下,不能选择其他菜单。
结束教示后,指定的安装头自动返回到原点。
教示结果显示在
“
基准标记位置教示
”
显示部中。
(5) 结束教示后,拆卸 QFP 玻璃治具。
0708-001
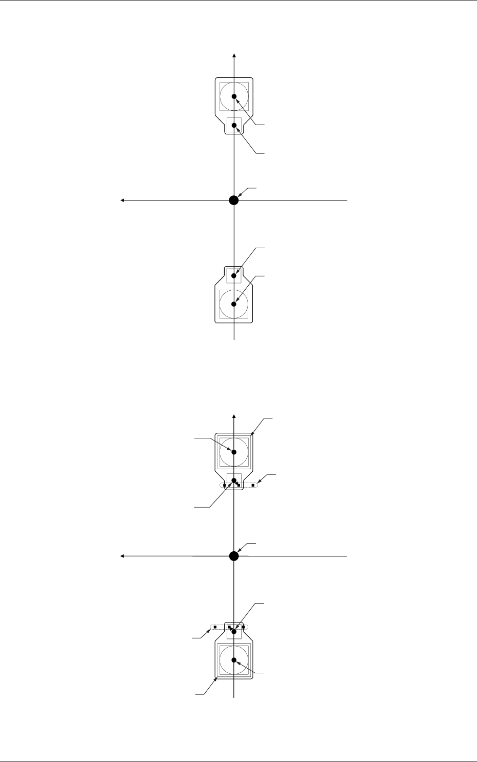
6.5 其他教示

4-1090708-001
6.5 其他教示
•
安装头旋转中心补正值
Ym(+)
Xm(+)
Fig.2D50-1
•
基准标记补正值
Ym(+)
Xm(+)
Fig.2D50-2
安装头旋转中心
线路板识别照相机中心
Pm: 装置基准坐标原点
安装头旋转中心
安装头旋转中心
Xm-Ym: 装置基准坐标系
线路板识别照相机中心
安装头旋转中心
线路板识别照相机中心
Xm-Ym: 装置基准坐标系
线路板识别照相机中心
Pm: 装置基准坐标原点
元件识别照相机
元件识别照相机
基准记号
基准记号

4-1100708-001
6.5 其他教示
6.5.6 Fly 识别照相机补正值
求取元件识别照相机上停止摄像时和 Fly 识别摄像时的偏离量 ( 伺服
放大器和闸门的迟延时间、图像偏离的影响为主 ),补正摄像定时的偏
离。
是在迟延的影响下,使元件不偏离视野的补正值数据。
(1) 在
“
教示
”
子菜单栏中,按 [ 其他 ] 按钮,便弹出显示其他教示机
能菜单栏。
(2) 按弹出菜单栏中的 [Fly 识别照相机补正值 ] 按钮。
Fig.2D51
“
Fly 识别照相机补正值
”
界面
[1] 照相机选择按钮
用图像显示表示照相机位置的按钮。
选择进行教示的照相机。
[2]
“
Fly 识别照相机补正值
”
显示部
对各照相机 (1 ~ 4),显示 X 横 (mm)、Y 纵 (mm) 的补正值数据。
实行前 : 进行教示前的值。
实行后 : 进行教示后的结果。
[1]
[2]
[3]
[4]