00196508-02_UM_X-Serie_SR705_PT.pdf - 第191页
Manual do usuário SIPLACE Série X D ados técnicos da máquina automática A partir da versão de software SR.70x.xx Edição 01 /2011 Alimentadores X 191 3.9.5 Interface de energia e de dados p a ra o aliment ador X Artigo Nº…

Dados técnicos da máquina automática Manual do usuário SIPLACE Série X
Alimentadores X A partir da versão de software SR.70x.xx Edição 01/2011
190
Localidades dos alimentadores ocupadas 3 3
Reserva de componentes Por carregador de barras máx. 150 peças, 3
segundo o comprimento do componente 3
Dados específicos para carregador de barras 9,5 mm de largura / 3 peças 3
15 mm de largura / 2 peças 3
> 15 mm de largura / 1 peça 3
30 mm de largura / 1 peça 3
Tempo de vibração Com SIPLACE Pro regulável de 400 até
mais de 1.000 mseg 3
3.9.4.3 Adaptador de alimentador para a série X com Reject Conveyor
(módulo de eliminação)
3
Fig. 3.9 - 16 Adaptador de alimentador para a série X com Reject Conveyor
(1) Adaptador alimentadores da série X (nº do artigo 00141305-xx)
(2) Placa adaptadora para Reject Conveyor (Nº. de artigo 00141308-xx)
(3) Reject Conveyor (módulo de eliminação)

Manual do usuário SIPLACE Série X Dados técnicos da máquina automática
A partir da versão de software SR.70x.xx Edição 01/2011 Alimentadores X
191
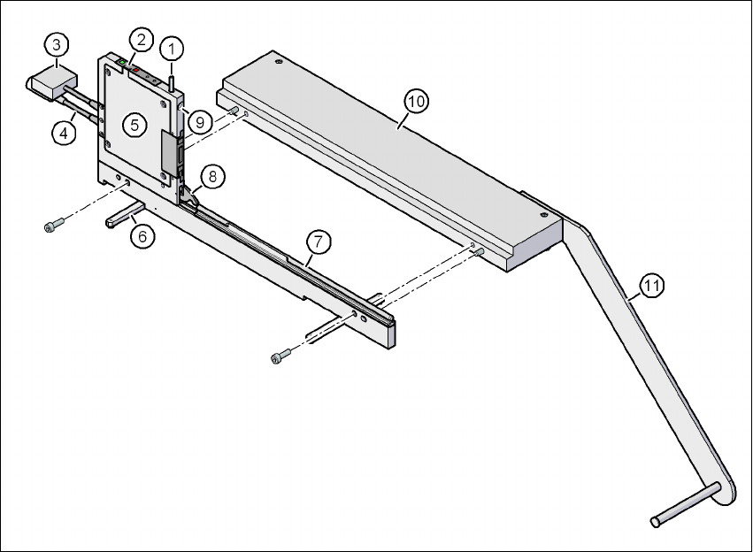
3.9.5 Interface de energia e de dados para o alimentador X
Artigo Nº. 00141247-xx Interface de energia e de dados para o alimentador X
3
Fig. 3.9 - 17 Interface de energia e de dados para o alimentador X
(1) Tecla de desbloqueio para soltar o trinco de bloqueio
(2) Área de comando
(3) Cabo de dados
(4) Cabo de alimentação de energia
(5) Carcaça do sistema eletrônico
(6) Pés desdobráveis
(7) Perfil Omega para a condução dos alimentadores
(8) Trinco de bloqueio
(9) Orifício de admissão para o pino de centrar frontal do alimentador
(10) Placa de base
(11) Suporte da bobina

Dados técnicos da máquina automática Manual do usuário SIPLACE Série X
Alimentadores X A partir da versão de software SR.70x.xx Edição 01/2011
192
3.9.5.1 Descrição
Com o auxílio da interface de energia/de dados poderão colocar-se em funcionamento os alimen-
tadores X também fora da máquina automática e do local de preparação. A interface consiste de
uma estrutura em alumínio com perfil Omega (Pos. 7 na Fig. 3.9 - 15
, página 189) para admissão
e condução dos alimentadores. Como no carro de componentes, o alimentador é colocado com
os guiamentos por contato sobre o perfil Omega e empurrado para a frente, até o pino de centrar
frontal do alimentador ser completamente introduzido no orifício de admissão (Pos. 9 na Fig. 3.9
- 15, página 189). O trinco de bloqueio (Pos. 8 na Fig. 3.9 - 15, página 189) bloqueia o alimentador
nesta posição. Para retirar o alimentador deverá carregar simplesmente na tecla de desbloqueio
(Pos. 1 na Fig. 3.9 - 15
, página 189). O trinco de bloqueio (Pos. 8 na Fig. 3.9 - 15, página 189) é
pressionado para baixo e liberta o alimentador. Os pés desdobráveis (Pos. 6 na Fig. 3.9 - 15
,
página 189
) estabilizam a posição da interface de energia e de dados, especialmente no caso de
alimentadores largos.
A carcaça do sistema eletrônico (Pos. 5 na Fig. 3.9 - 15
, página 189) acomoda a eletrônica de
controle para a interface de energia e de dados. A área de comando (Pos. 2 na Fig. 3.9 - 15
, pá-
gina 189
) consiste das teclas de arranque e de parada e de dois LEDs para a indicação de es-
tado. A comunicação com um PC é feita através do cabo de dados (Pos. 3 na Fig. 3.9 - 15
, página
189
). O cabo de alimentação de energia (Pos. 4 na Fig. 3.9 - 15, página 189) é ligado à alimen-
tação de corrente elétrica fornecida.
3.9.5.2 Utilização
A interface de energia e de dados serve para a verificação, manutenção e reparação de alimen-
tadores X. Além disso poderá ainda ser usada na produção de PCI para o reequipamento. Para
tal, a interface de energia e de dados é fixada na placa de base (Pos. 10 na Fig. 3.9 - 19
, página
195
). Também o suporte da bobina (Pos. 11 na Fig. 3.9 - 19, página 195) se encontra montado
na placa de base. Caso se encontre colocada fita de componentes poderá verificar ou voltar a
definir o progresso, a posição de recolha e a velocidade de transporte. Um manual do usuário
detalhado descreve o funcionamento da interface e ainda os trabalhos de assistência.
3.9.5.3 Conteúdo do fornecimento
– Single Slot IFED
a
– Parte da rede, 100 - 120 / 200 - 240 V~, +30V-, 4,3 A
– Placa de base com bobina
– Manual do usuário
a) IFED (interface de energia e dados)