KE-3010A_20VA_20VRA使用说明书.pdf - 第163页
第 1 部 基本篇 第 2 章 生产 2-30 (2) 降下定心销。 (基准销选项有效时) 定心销 ( 基准销和从动销 ) 与外形基准块被一体化,固定在支撑台上。 在此状态下,如果支撑台上升,则定心销会碰到基板。 因此,使用外形基准时,请降下定心销,在设定时要使定心销不与基板接触。 < 设定方法 > ● 降下定心销时 → 沿箭头方向按 A 。 ● 升起定心销时 → 沿箭头方向按 B 。 (3) 请拧松定心销 ( 从动侧 ) …

第 1 部 基本篇 第 2 章 生产
2-29
2-7-1-3 外形基准的调整方法
所谓外形基准,是指对以基板前端为基准停止的基板进行夹紧的方法。
像陶瓷基板等材质、没有基准销用孔的基板、或孔径与基准销的直径不一致的基板,应选择外形
基准。
<步骤>
(1) 请从菜单栏的[生产]菜单选择[支援准备]。
请按[传送控制]按钮。
显示传送控制画面。

第 1 部 基本篇 第 2 章 生产
2-30
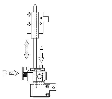
(2) 降下定心销。(基准销选项有效时)
定心销(基准销和从动销)与外形基准块被一体化,固定在支撑台上。
在此状态下,如果支撑台上升,则定心销会碰到基板。
因此,使用外形基准时,请降下定心销,在设定时要使定心销不与基板接触。
<设定方法>
● 降下定心销时→沿箭头方向按A。
● 升起定心销时→沿箭头方向按B。
(3) 请拧松定心销(从动侧)导块。
转动导块螺栓、支撑台操作手柄,拧松。

第 1 部 基本篇 第 2 章 生产
2-31
(4) 将停止挡块
⑩置于 ON。
选择“挡块”,并按“ON/OFF”。
(5) 将生产基板顶在挡块
⑩上。
基板与挡块接触的部分因有缺口等而不稳定时,请松动挡块底部的螺丝(2根),用手加以调整。
(6) 请配置支撑销。
请配合生产基板将支撑销⑫配置在支撑台⑬上。如果在QFP等对贴片精度有特别要求的元件
下配置支撑销,可提高贴片精度。
(7) 调整完成后,请点击[传送控制]画面上的[结束],以退出传送控制。
注意
外形基准位置为程序数据的基板坐标原点(基准位置)。
因此,调整挡块后,必须在
「2-7-1-5 贴片基准位置的调整」中进行
再调整。
基板原点位置可在生产程序中的
「基板数据」(参见第 4 章 4-3-3 基板
数据)中进行变更。
注意
在机器运行中,请绝对不要将手和头等伸入装置内部。
松开 2 根螺栓