FX-1R_InstructionManual_C_Rev03a.pdf - 第67页
第2章 基本操作 2-9 2.3.5 操作台 可从机器主机的操作台控制机器的动作。 前 后 图 2.3-4 操作台装置及操作板概略图 表 2.3-2 开关功能概要 No 开关名称 功 能 1 ・ 切换键盘可以〈前〉 〈后〉方交替操作。 ・ 按此开关时,开关亮灯。 2 FEEDER 送料器 ・ 切换送料器单元的有效/无效。 ・ 按此开关,开关灯点亮时,为〈有效〉状态。 3 ONLINE 联机 ・ 设备与 HLC 联机时使用。 ・ 联机状态…

第2章 基本操作
2-8
2.3.3 跟踪球
设备主机标准设备,配备有跟踪球鼠标。
图 2.3-3 跟踪球概略图
注意:跟踪球中央部的按键无效。
2.3.4 触摸屏 (选项)
从选项选择触摸屏后,可通过触摸屏进行操作。
注1
左键
右键

第2章 基本操作
2-9
2.3.5 操作台
可从机器主机的操作台控制机器的动作。
前 后
图 2.3-4 操作台装置及操作板概略图
表 2.3-2 开关功能概要
No 开关名称 功 能
1
・切换键盘可以〈前〉〈后〉方交替操作。
・按此开关时,开关亮灯。
2
FEEDER 送料器
・切换送料器单元的有效/无效。
・按此开关,开关灯点亮时,为〈有效〉状态。
3
ONLINE 联机
・设备与 HLC 联机时使用。
・联机状态中,开关灯点亮。
4
ORIGIN 回原点
・进行全轴返回原点。
5
START 开始
・开始生产或模拟生产操作时使用。
6
PAUSE, STOP
暂停,停止
・结束生产或模拟生产操作时使用。
・按一下暂停,再按一下结束。
7
SERVO FREE
解除伺服
・用于解除 X 轴,Y 轴,Z 轴,θ轴伺服马达。
・解除伺服时开关灯点亮。再按一下马达即被励磁。
8
SINGLE CYCLE
单次循环
・生产完一块基板即结束生产时按此按钮。再按一次,此模式解
除。
9
EMERGENCY
紧急停止
・要紧急停止时按此开关。设备动作异常、或有可能对人体造成
危险时,应立即停机。按下此开关能停止马达及其他驱动部分工
作,按下时亮出红信号灯。
要复原时,向箭头方向旋转开关。
1. REAR(背面)的操纵板装置为选
购件。
2. REAR(背面)操纵板装置显示的
画面与FRONT(前面)的显示器相
同。图像画面,与前面操作板显
示器的图像相同。
注意:
监视器
操作板
键盘
KEYBOARD 键盘

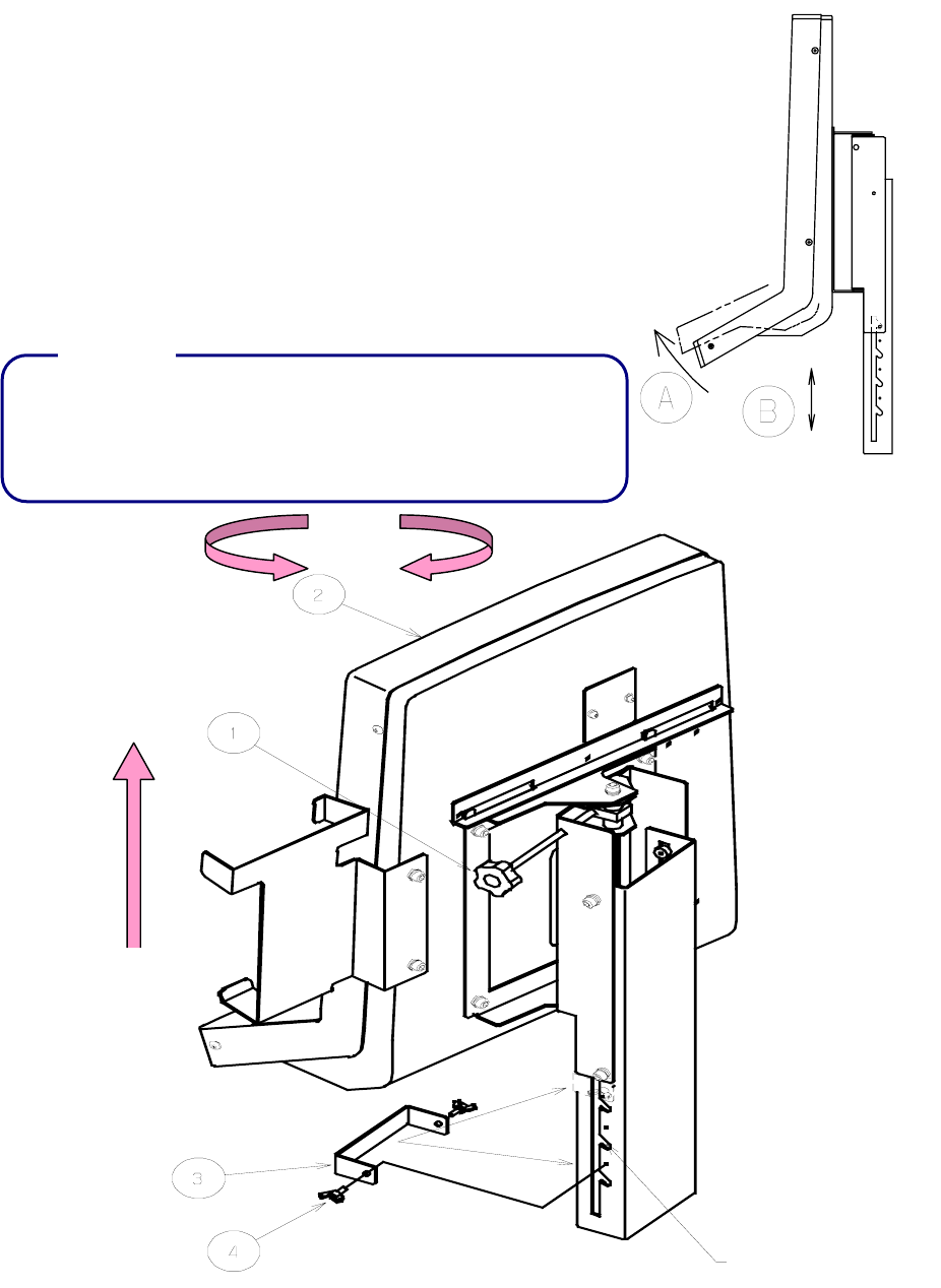
第2章 基本操作
2-10
调整高度
2.3.6 调整操作装置的位置
可以调整操作装置的旋转方向和高度。
调整旋转方向的方法如下:
把操作装置的固定把①拧松,
可任意调整操作装置②的旋转方向,然后把①拧紧。
调整高度的方法如下:先把操作装置②向A方向稍微抬高
后,即可按B上下方向调整高低,固定时请对准4个槽沟或者把
操作装置调到最下端。
有时因使用带状送料器,或因安装的位置,会与操作装置互相干
扰。为防止干扰,可适当调整高度,再把停止挡块③用固定螺丝
④拧紧。
旋转
调整高度
注意:
槽沟