NXT-II 机械手册.pdf - 第110页
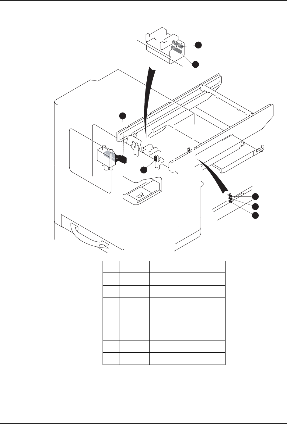
QD145-21 4. 传感器配置图 NXT II 机械手册 83 4.15.2 料盘塔 No. 地址 信号名 1 IN1D 托架夹紧关闭确认 2 IN1C 托架夹紧打开确认 3 IN15 托架下部交接关闭确认 1-2 4 IN14 托架下部交接打开确认 1-2 5 IN27 空料盘排出确认 6 IN28 料盘高度确认 1 7 IN29 料盘高度确认 2 8 IN2B 料盘收存确认 9 IN2C 上部交接托架有无 10 IN2D 下部交…

4. 传感器配置图 QD145-21
82 NXT II 机械手册
4.15 料盘单元 -L 传感器
4.15.1 安全门
No. 地址 信号名
1 IN00 上部安全门关闭确认
2 IN01 后面安全门关闭确认
3 IN02 下部安全门关闭确认
4 IN04 紧急停止
5 IN1E 供应结束 SW
1
2
5
3
4

QD145-21 4. 传感器配置图
NXT II 机械手册 83
4.15.2 料盘塔
No. 地址 信号名
1 IN1D 托架夹紧关闭确认
2 IN1C 托架夹紧打开确认
3 IN15 托架下部交接关闭确认 1-2
4 IN14 托架下部交接打开确认 1-2
5 IN27 空料盘排出确认
6 IN28 料盘高度确认 1
7 IN29 料盘高度确认 2
8 IN2B 料盘收存确认
9 IN2C 上部交接托架有无
10 IN2D 下部交接托架有无
11 OUT20 塔部托架夹紧
12 OUT21 塔部托架松开
13 OUT25 塔下部托架交接开关
14 OUT1D 上部门部 LED 显示
15 OUT1E 下部门部 LED 显示
NXTMTU019a
1
2
4
5
6
8
10
14
13
11
12
9
8
3
7
15

4. 传感器配置图 QD145-21
84 NXT II 机械手册
4.15.3 往返搬运轨
No. 地址 信号名
1 IN20 往返搬运轨后退端
2 IN21 往返搬运轨夹紧打开确认
3 IN22 往返搬运轨夹紧关闭确认
4 OUT22 往返搬运轨部托架夹紧开
关
5 IN18 TY 轴料盘高度监视 3
6 IN19 TY 轴料盘高度监视 2
7 IN2A TY 轴料盘高度监视 1
1
4
3
2
7
6
5
NXTMTU020a