NXT-II 机械手册.pdf - 第272页
QD145-21 6. 预防保养 NXT II 机械手册 245 〈H08/H08Q 工作头〉 1. 拆下贴装工作头。 (详细请参 考 「5.8 贴装工作头的拆除 / 安装」 。) 2. 旋转过滤器罩环,卸下过滤器套和 过滤器。 3. 将过滤器套和过滤器浸在中性洗涤 剂溶液中进行洗净。污垢严重时, 请与新品更换。 备注 )将收存在过滤器套中的过滤器放入用于清洗的选项网笼中 (K1325C) 。请在中性洗涤 剂中浸泡 5 分钟后用超声波清…

6. 预防保养 QD145-21
244 NXT II 机械手册
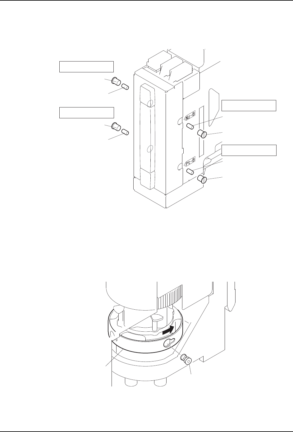
〈H02/H02F 工作头〉
1. 拆下贴装工作头。(详细请参考 「5.8 贴装工作头的拆除 / 安装」。)
2. 使用一字型螺丝刀,松开过滤器套并卸下过滤器。
3. 将过滤器盖罩浸在中性洗涤剂溶液中进行清洗。污垢严重时,请更换新的部件。
备注 )将过滤器放入用于清洗的选项网笼中 (K1325C)。请在中性洗涤剂中浸泡 5 分钟后用
超声波清洗器清洗。
〈H04/H04S/H04SF 工作头〉
1. 拆下贴装工作头。(详细请参考 「5.8 贴装工作头的拆除 / 安装」。)
2. 旋转过滤器罩环,拆下过滤器套和过滤器。
3. 将过滤器套与过滤器浸在中性洗涤剂溶液中进行清洗。污垢严重时,请更换新的部品。
备注 )将收存在过滤器套中的过滤器放入用于清洗的选项网笼中 (K1325C)。请在中性洗涤
剂中浸泡 5 分钟后用超声波清洗器清洗。
0(&6
ఈ༈%পఈ⫼
ఈ༈$পఈ⫼
ఈ༈%পܗӊ⫼
ఈ༈$পܗӊ⫼
䖛Ⓒ఼
োĩ;+
䖛Ⓒ఼༫
䖛Ⓒ఼༫
䖛Ⓒ఼༫
䖛Ⓒ఼༫
䖛Ⓒ఼
োĩ;+
䖛Ⓒ఼
োĩ;+
䖛Ⓒ఼
োĩ;+
1;73+'6D
䖛Ⓒ఼㔽⦃
䖛Ⓒ఼༫$$2$/
ݙ᳝䖛Ⓒ఼

QD145-21 6. 预防保养
NXT II 机械手册 245
〈H08/H08Q 工作头〉
1. 拆下贴装工作头。(详细请参考 「5.8 贴装工作头的拆除 / 安装」。)
2. 旋转过滤器罩环,卸下过滤器套和过滤器。
3. 将过滤器套和过滤器浸在中性洗涤剂溶液中进行洗净。污垢严重时,请与新品更换。
备注 )将收存在过滤器套中的过滤器放入用于清洗的选项网笼中 (K1325C)。请在中性洗涤
剂中浸泡 5 分钟后用超声波清洗器清洗。
〈H08M/H08MQ 工作头〉
1. 拆下贴装工作头。(详细请参考 「5.8 贴装工作头的拆除 / 安装」。)
2. 旋转过滤器罩环,卸下过滤器套和过滤器。
3. 将过滤器套和过滤器浸在中性洗涤剂溶液中进行洗净。污垢严重时,请与新品更换。
备注 )将收存在过滤器套中的过滤器放入用于清洗的选项网笼中 (K1325C)。请在中性洗涤
剂中浸泡 5 分钟后用超声波清洗器清洗。
ഴਭ$$2$/
1;73+'6E
䗽┚ಞ㖟⧥
䗽┚ಞྍ
δᴿ䗽┚ಞε
1676
䗽┚ಞ㖟⧥
ഴਭAA19H**
䗽┚ಞྍ
δᴿ䗽┚ಞε

6. 预防保养 QD145-21
246 NXT II 机械手册
〈H12/H12S/H12SQ/H12HS/H12HSQ 工作头〉
1. 拆下贴装工作头。(详细请参考 「5.8 贴装工作头的拆除 / 安装」。)
2. 旋转过滤器罩环,卸下过滤器套和过滤器。
3. 将过滤器套和过滤器浸在中性洗涤剂溶液中进行洗净。污垢严重时,请与新品更换。
备注 )将收存在过滤器套中的过滤器放入用于清洗的选项网笼中 (K1325C)。请在中性洗涤
剂中浸泡 5 分钟后用超声波清洗器清洗。
〈V12 工作头〉
1. 拆下贴装工作头。(详细请参考 「5.8 贴装工作头的拆除 / 安装」。)
2. 旋转过滤器罩环,卸下过滤器套和过滤器。
3. 将过滤器套和过滤器浸在中性洗涤剂溶液中进行洗净。污垢严重时,请与新品更换。
备注 )将收存在过滤器套中的过滤器放入用于清洗的选项网笼中 (K1325C)。请在中性洗涤
剂中浸泡 5 分钟后用超声波清洗器清洗。
01MEC-0194S
ഴਭAA19H**
䗽┚ಞ㖟⧥
䗽┚ಞྍ
δᴿ䗽┚ಞε
01NST-0872Sa
䗽┚ಞ㖟⧥
ഴਭAA19H**
䗽┚ಞྍ
δᴿ䗽┚ಞε