NXT-II 机械手册.pdf - 第293页
6. 预防保养 QD145-21 266 NXT II 机械手册 8. 请用手动将贴装工作头 (X 轴单元)进行 10 个往复的冲程,使润滑油循环。 9. 请用清洁的布擦去渗出的多余润滑 油。 XS 轴的加油 10.请用清洁的布擦去 XS 轴齿轮 (2) 的污垢。 11.取 0.5cc 的 Mobilith SH C460WT(Mobil) 到刷子上 。 12.用刷子将润滑油均 匀地涂敷到 XS 轴齿轮 (2) 上。 13.请用手动将 …

QD145-21 6. 预防保养
NXT II 机械手册 265
3. 请等到线性马达轴处于常温后,拆除保护盖罩。
X 轴的加油
4. 请取下 X 轴齿轮盖罩和 XS 轴齿轮盖罩。
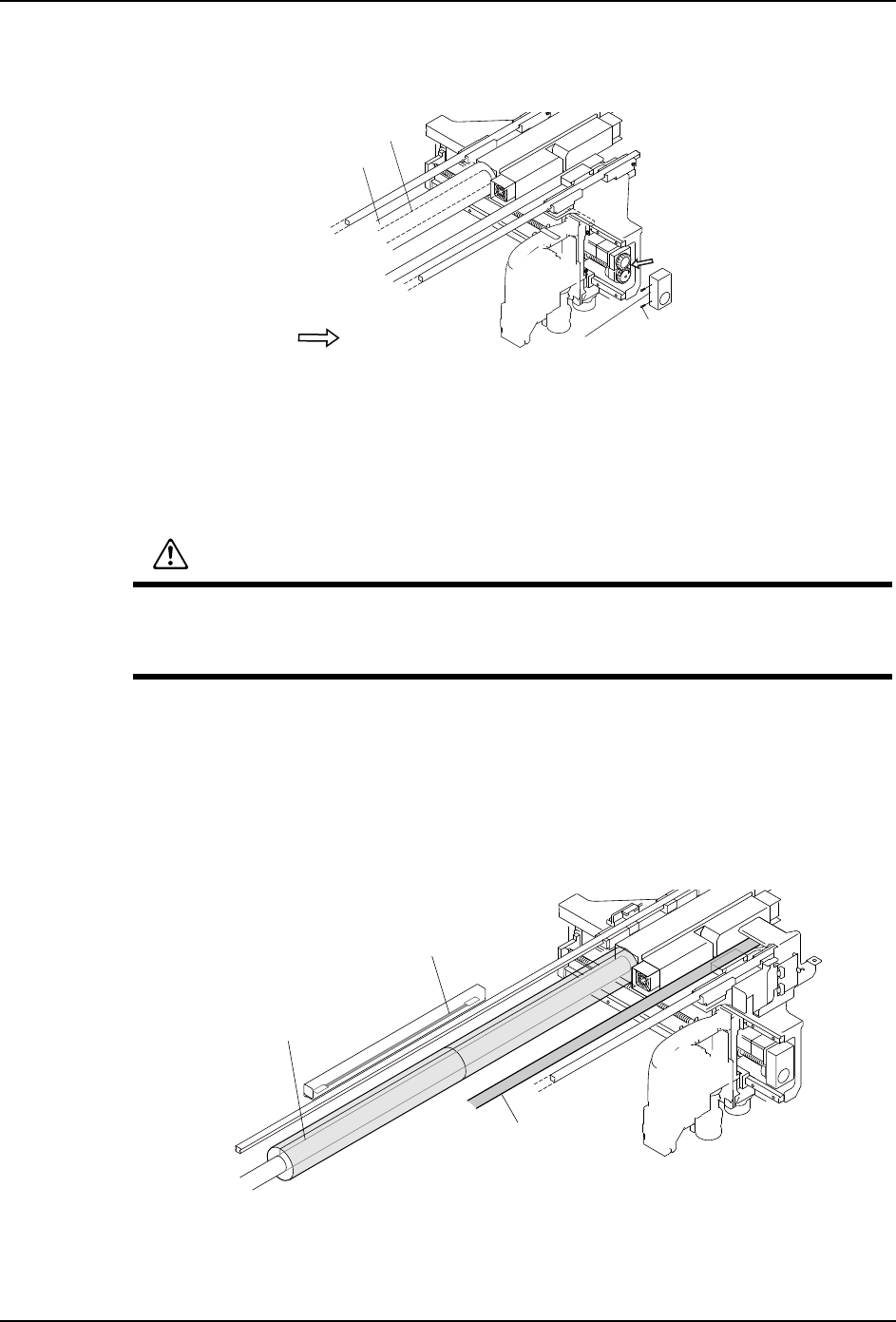
5. 请用清洁的布擦去 X 轴齿轮 (1) 污垢。请取润滑油枪的 1 喷射量的指定轮滑油到毛刷
上。
6. 取 0.5cc 的 Mobilith SHC460WT(Mobil) 到刷子上。
7. 用刷子将润滑油均匀地涂敷到 X 轴齿轮 (1) 上。
1
1
2
2
01MEC-0590Sb
㓵ᙝ傢䗴
⎸ᮭ
;䖪Ƚ<䖪
;6䖪喵䖤ⴌ㖟
;䖪喵䖤ⴌ㖟
;6䖪
ؓᣚⴌ㖟
㓵ᙝ傢䗴䖪
1P
1P

6. 预防保养 QD145-21
266 NXT II 机械手册
8. 请用手动将贴装工作头 (X 轴单元)进行 10 个往复的冲程,使润滑油循环。
9. 请用清洁的布擦去渗出的多余润滑油。
XS 轴的加油
10.请用清洁的布擦去 XS 轴齿轮 (2) 的污垢。
11.取 0.5cc 的 Mobilith SHC460WT(Mobil) 到刷子上。
12.用刷子将润滑油均匀地涂敷到 XS 轴齿轮 (2) 上。
13.请用手动将 XS 轴单元进行 10 个全程往复,使润滑油循环。
14.请用清洁的布擦去渗出的润滑油。
15.安装 X 轴齿轮盖罩和 XS 轴齿轮盖罩。
16.加润滑油后,请确认元件相机表面、吸嘴置放台、搬运轨、Y 轴线性标尺等没有附着润
滑油。如果附着润滑油,请用干净的没有线脚的干布擦去。
注意 )· 线性标尺附着润滑油时,在 Y 轴动作时有时会发生错误。
· 擦去的时候,请不要用力过度以免损伤单元。
17.请取下线性马达轴的保护盖板。
18.插入模组。(参考 「5.1 模组的拉出 / 插入」)
〈M6-2 模组时〉
备注 )Fuji 润滑油枪的润滑油一次喷射量是 0.6cc,请作为加油量的参考值。
1. 拉出模组。(参考 「5.1 模组的拉出 / 插入」)
2. 将主电源开关 OFF。
3. 线性马达的轴处于常温后,请安装保护盖罩。
注意
将 XY 机械手用手进行移动时,请抓住框架部分。抓住贴装工作头主体或者手柄时,请
不要对工作头施加压力。
请不要按压 X 轴齿轮盖罩。齿轮盖罩有可能变形。
注意
将 XY 机械手用手进行移动时,请抓住框架部分。抓住贴装工作头主体或者手柄时,请
不要对工作头施加压力。
请不要按压 X 轴齿轮盖罩。齿轮盖罩有可能变形。
润滑油 加油处 加油量标准 (1 处) 加油量 (cc)
Mobilith SHC460WT(Mobil) (1) X 轴齿轮 喷射器 1 喷射 0.5

QD145-21 6. 预防保养
NXT II 机械手册 267
X 轴的加油
4. 拆除 X 轴齿轮的盖罩。
5. 请用清洁的布,擦去 X 轴齿轮的污垢。
6. 取 0.5cc 的 Mobilith SHC460WT(Mobil) 到刷子上。
7. 用刷子将润滑油均匀地涂敷到 XS 轴齿轮 (2) 上。
8. 用手动将贴装工作头 (X 轴单元 ) 进行 10 次全程往复,使润滑油循环。
9. 用清洁的布,擦去渗出的多余润滑油。
10.安装 X 轴盖罩。
11.加润滑油后,请确认元件相机表面、吸嘴置放台、搬运轨、Y 轴线性标尺、共面性传感
器用线性标尺等没有附着润滑油。如果附着润滑油,请用干净的没有线脚的干布擦去。
注意 )· 线性标尺附着润滑油时,在 Y 轴动作时有时会发生错误。
· 擦去的时候,请不要用力过度以免损伤单元。
12.请取下线性马达轴的保护盖板。
13.插入模组。(参考 「5.1 模组的拉出 / 插入」)
0(&6D
;䖪喵䖤ⴌ㖟
⎸ᮭ
㓵ᙝ傢䗴䖪
ؓᣚⴌ㖟
1P
注意
将 XY 机械手用手进行移动时,请抓住框架部分。抓住贴装工作头主体或者手柄时,请
不要对工作头施加压力。
请不要按压 X 轴齿轮盖罩。齿轮盖罩有可能变形。
01MEC-0970S
㒓ᗻ偀䖒䕈
݅䴶ᗻӴᛳ఼⫼㒓ᗻᷛሎ
㒓ᗻᷛሎ