00193935-01.pdf - 第166页
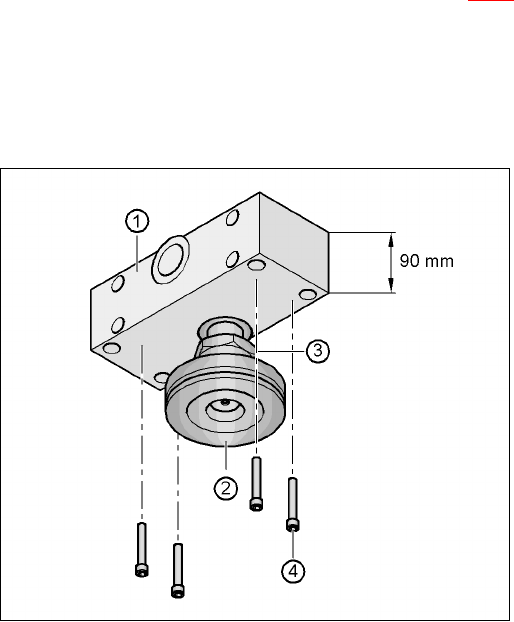
4 組立與啟用 SIPLACE HF 系列使用手冊 4.5 取置機的組立 軟體版本 SR.505.xx 05/2004 中文版 166 4 圖 4.5 - 2 取置機腳架 4 (1) 機器腳架 (2) "HS50" 機器腳 架 (3) 氣動單元側的間 隔器 (4) 電源供應裝置側 的間隔器 (5) "HS50" 機器腳架的螺孔 (T) PCB 輸送方向 (P) 氣動單元 (S) 電源供應裝置

SIPLACE HF 系列使用手冊 4 組立與啟用
軟體版本 SR.505.xx 05/2004 中文版 4.5 取置機的組立
165
Æ 在您頂高機器時,請確定在堆高叉上均勻的分佈重量。堆高叉與機器之間若加設堅固的支撐材
料,可以預防機器在頂高時傾倒。這也可以防止機器腳架上的重量偏向一側,而這會使機器腳
架的緊固件變形。我們建議請第二個人在機器頂高時負責監視機器,並確定機器在以叉式堆高
機頂高時沒有傾向一側。
Æ 用叉式堆高機將機器頂高約 35 cm。如果意外降下機器腳架時,這可避免腳部遭受傷害的危險。
取置機以 6 個腳架支撐站立。 4
- 4 個機器腳架 ( 圖 4.5 - 2
中的第 1 項 )
- 2 個 "HS50" 機器腳架 ( 圖 4.5 - 2
第 2 項 ),若需要,可附 2 個調整機器高度的間隔器 ( 圖 4.5 -
2 第3、4項)。

4 組立與啟用 SIPLACE HF 系列使用手冊
4.5 取置機的組立 軟體版本 SR.505.xx 05/2004 中文版
166
4
圖 4.5 - 2 取置機腳架
4
(1) 機器腳架
(2) "HS50" 機器腳架
(3) 氣動單元側的間隔器
(4) 電源供應裝置側的間隔器
(5) "HS50" 機器腳架的螺孔
(T) PCB 輸送方向
(P) 氣動單元
(S) 電源供應裝置

SIPLACE HF 系列使用手冊 4 組立與啟用
軟體版本 SR.505.xx 05/2004 中文版 4.5 取置機的組立
167
4.5.4.1 預設 "HS50" 機器腳架高度
先預設 "HS50" 機器腳架。間隔器必須根據機器的高度,以螺栓固定在正確位置的下側。 4
將 PCB 輸送高度設定到 830 mm 4
830 mm 的 PCB 輸送高度,您將不需要使用間隔器。 4
Æ 將 "HS50" 機器腳架盡可能旋入所附的螺紋中 ( 參閱圖 4.5 - 2 第5點)。
將 PCB 輸送高度設定到 900 mm 4
900 mm 的 PCB 輸送高度,您將需要使用間隔器。 4
Æ 對正間隔器,使 90 mm 側呈垂直,且供 "HS50" 機器腳架使用的孔朝下。
4
4
4
4
4
4
4
4
4
4
4
4
Fig. 4.5 - 3
輸送高度為 900 mm 的間隔器定位
4
(1) 間隔器高度 90 mm
(2) "HS50" 機器腳架
(3) M24 鎖緊螺帽
(4) 內六角螺絲 M12x80,4x