00193935-01.pdf - 第323页
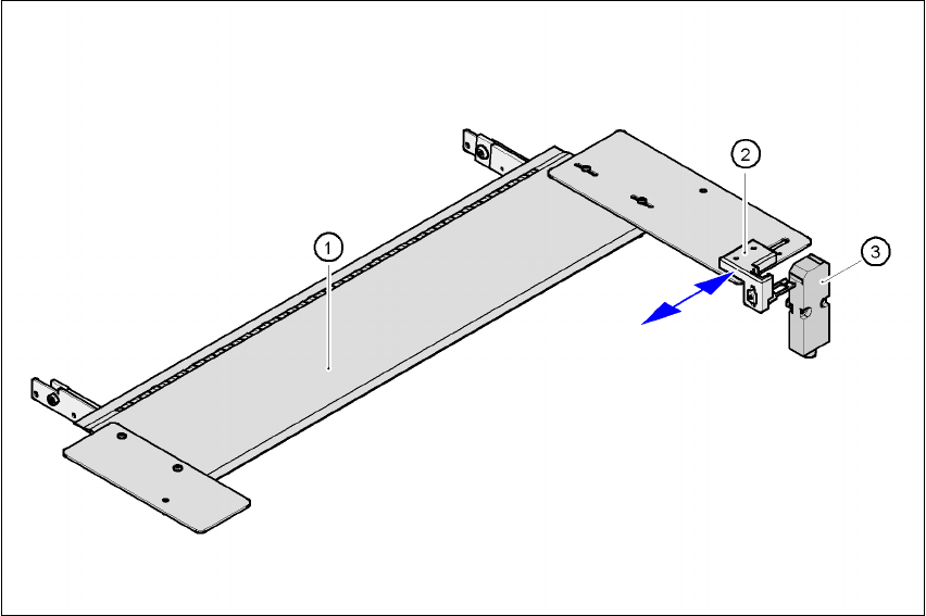
SIPLACE HF 系列使用手冊 7 工作站擴充 軟體版本 SR.505.xx 05/2004 ㆗文版 7. 9 送料器蓋板 323 7.9 送料器蓋板 元件送料器區㆖方 安裝㈲送料器蓋 板 。 它是設計用來避免頭部撞擊 到沒㈲正確接 合的直立送料 器定 位器。送料器蓋板 也可以防止送料 器的前面板 由於不正確的 操作而進入取 置頭的移動範 圍內。 7 圖 7.9 - 1位 置 1 及 3 的送料器蓋板 ( 1 ) 送料器蓋板 (2)…
7 工作站擴充 SIPLACE HF 系列使用手冊
7.8 PCB 定位 軟體版本 SR.505.xx 05/2004 ㆗文版
322
7.8.2 功能的說明
PCB 被輸送進入取置區直到雷射光柵觸發 PCB 輸送帶的停止訊號為止。㈲ PCB 止檔的升降平台接
著向㆖移動進入㆒個 PCB 尚未被夾置且仍可以由輸送帶移動的位置。兩個 PCB 止檔與 PCB 保持同
㆒㈬平高度,而 PCB 支架 ( 磁鐵針腳 ) 已經與 PCB 接觸。兩個輸送帶會移動 PCB 來對正 PCB 止檔
並同時將它們彼此對正。升降平台接著移動進入它的最㆖方位置,夾置 PCB 並將它從 PCB 止檔㆗
釋放,使它不再影響取置處理。取置程序之後,升降平台及 PCB 對正裝置會㆘降而 PCB 會離開這
個位置。
7

SIPLACE HF 系列使用手冊 7 工作站擴充
軟體版本 SR.505.xx 05/2004 ㆗文版 7.9 送料器蓋板
323
7.9 送料器蓋板
元件送料器區㆖方安裝㈲送料器蓋板。它是設計用來避免頭部撞擊到沒㈲正確接合的直立送料器定
位器。送料器蓋板也可以防止送料器的前面板由於不正確的操作而進入取置頭的移動範圍內。
7
圖 7.9 - 1位置1及3 的送料器蓋板
(1) 送料器蓋板
(2) 機械鎖
(3) 緊急停機迴路㆗的開關
7
77
7
送料器蓋板㈲兩種版本:㆒種供位置 1 或 3 使用,㆒種供位置 2 或 4 使用。
送料器蓋板的開關迴路也併入緊急停機迴路㆗。送料器蓋板必須以機械方式㆖鎖,這可使開關斷開
接通的緊急停機迴路。 7
77
7

7 工作站擴充 SIPLACE HF 系列使用手冊
7.10 元件感應器 軟體版本 SR.505.xx 05/2004 ㆗文版
324
7.10 元件感應器
7
圖 7.10 - 1 取置頭附元件感應器
(1) 取置頭
(2) 元件感應器