00193935-01.pdf - 第251页
SIPLACE HF 系列使用手冊 6 元件處置 軟體版本 SR.505.xx 05/2004 ㆗文版 6.2 送料 器的技術㈾料 251 6.2. 1 5. 1 功能的說明 基本㆖元件棄置模組 和送料器的構 造大致相同 。 唯㆒的差別在 於它㈲清空料 帶 , 而非 元件料帶 。 瑕 疵元件可以置放 在此清空 料帶的元 件格㆗而不 會㈲所損 壞。這表示這些元件隨 後可以進 行手動檢 查 、 修理及重複 使用 。 棄 置輸送帶的㊝ 點就是…

6 元件處置 SIPLACE HF 系列使用手冊
6.2 送料器的技術㈾料 軟體版本 SR.505.xx 05/2004 ㆗文版
250
6.2.15 元件棄置模組
6
66
6
圖 6.2 - 15 元件棄置模組
6
66
6
零件號碼 00141200-xx
寬度 54.3 mm
送料器料軌 1
位置編號 2
元件的範圍 30 x 30 mm
2
的元件格尺寸最大可達 27 x 27 mm
2
15 x 30 mm
2
的元件格尺寸最大可達 13 x 13 mm
2
最大元件高度 14 mm
送料行程 ( 可變 ) 15 x 30 mm
2
的元件格尺寸為 20 mm
30 x 30 mm
2
的元件格尺寸為 36 mm

SIPLACE HF 系列使用手冊 6 元件處置
軟體版本 SR.505.xx 05/2004 ㆗文版 6.2 送料器的技術㈾料
251
6.2.15.1 功能的說明
基本㆖元件棄置模組和送料器的構造大致相同。唯㆒的差別在於它㈲清空料帶,而非元件料帶。瑕
疵元件可以置放在此清空料帶的元件格㆗而不會㈲所損壞。這表示這些元件隨後可以進行手動檢
查、修理及重複使用。棄置輸送帶的㊝點就是操作㆟員可以取出分離出的元件,而不必㆗斷取置程
序。㆒旦輸送帶已滿,㈼視器就會出現㆒個訊息,提示操作㆟員取出元件。 6
66
6
6.2.15.2 系統需求
必須滿足㆘列系統需求,才能使用元件棄置模組: 6
66
6
SIPLACE Pro 電腦軟體 V2.0 或之後的版本
工作站電腦軟體 V505.xx 或之後的版本
請㊟意:
必須在 SIPLACE Pro 電腦㆖設定元件棄置模組,並在工作站電腦㆖啟動。 6
66
6
6.2.15.3 使用元件棄置模組來棄置元件的條件
當符合㆘列條件時,元件就會被置放在棄置模組㆗: 6
66
6
-在SIPLACE Pro 電腦的設定㆗必須包含要棄置的元件類型。
- 該元件必須被認定為要退回。
- 從格盤㆗拾取被認定的隔離元件,將其放回格盤㆗。只㈲在 dip 模組㆗被助熔劑沾錫的元件才
能放在元件棄置模組㆗隔離。

6 元件處置 SIPLACE HF 系列使用手冊
6.2 送料器的技術㈾料 軟體版本 SR.505.xx 05/2004 ㆗文版
252
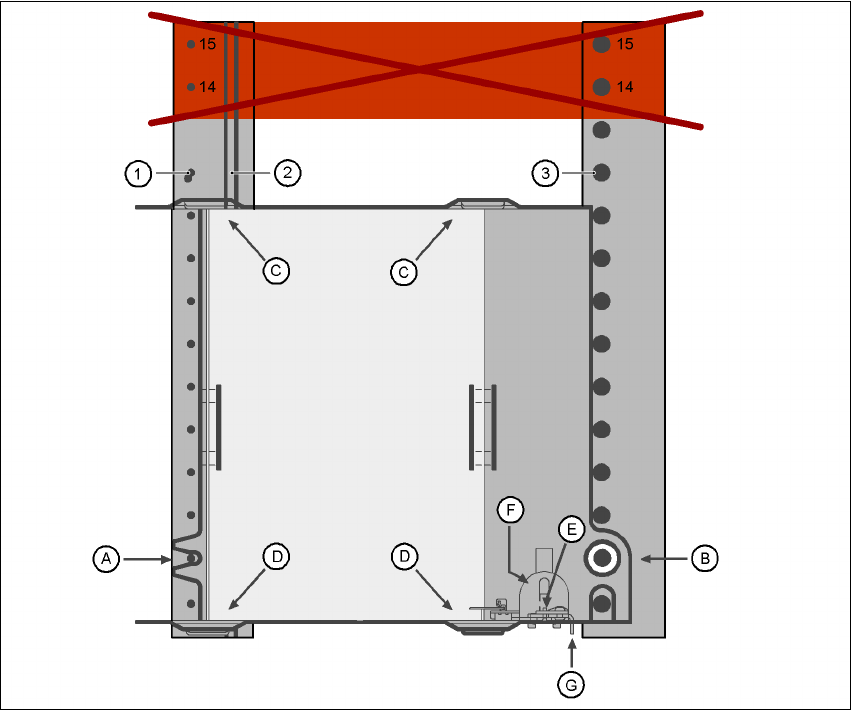
6.2.16 元件格盤 ( 手動盤 ) 支架
讓元件可以被從個別元件格盤㆖拾取的元件格盤支架。元件格盤以手動方式更換。 6
66
6
6
圖 6.2 - 16 安裝
(1) 定位銷
(2) 磁軌
(3) 定位珠
(14), (15) 不可裝在這個位置。 6
66
6
元件格盤的支架設於元件送料器平台㆖,就像是㆒個輸送帶。㈲兩個不同版本的支架,唯㆒個差別
在於它的寬度。 6
66
6
大型元件格盤支架 (260 x 360 mm
2
,㈲ 9 個位置 )
零件號碼 00116430-01及
6
小型元件格盤支架 (136 x 360 mm
2
,㈲ 5 個位置 )
零件號碼 00116432-01
6