00195732-01_UM_X-Serie_SR605_FI.pdf - 第182页
3 Automaatin tekniset tiedot Käyttöohje SIPLACE X-sarja 3.9 X-syöttömoduuleja SIPLACE X-sarjan komponenttivaunua va rten Alkaen ohjelmistover siosta SR.605.xx Painos 07/2008 FI 182 3.9.4.3 X-sarjan syöttömoduuliadapteri …

Käyttöohje SIPLACE X-sarja 3 Automaatin tekniset tiedot
Alkaen ohjelmistoversiosta SR.605.xx Painos 07/2008 FI 3.9 X-syöttömoduuleja SIPLACE X-sarjan komponenttivaunua varten
181
3.9.4.2 X-sarjan syöttömoduuliadapteri pitkittäistärykuljettimella
OHJE 3
X-sarjan syöttömoduulien adapterin toimituslaajuuteen kuuluu vielä yksi adapterilevy:
– Adapterileä käytetään kun komponenttien korkeus on 16,5 mm tai sen alle.
– Adapterileä käytetään kun komponenttien korkeus on välillä 16,5 mm - 25 mm.
3
Kuva 3.9 - 14 X-sarjan syöttömoduuliadapteri pitkittäistärykuljettimella
(1) Adapteri X-sarjan syöttömoduuleille (00141305-XX)
(2) Adapterilevy 16,5 mm (kuuluu toimitukseen)
(3) Pitkittäistärykuljetin

3 Automaatin tekniset tiedot Käyttöohje SIPLACE X-sarja
3.9 X-syöttömoduuleja SIPLACE X-sarjan komponenttivaunua varten Alkaen ohjelmistoversiosta SR.605.xx Painos 07/2008 FI
182
3.9.4.3 X-sarjan syöttömoduuliadapteri Reject Conveyor\:illa (jätteenpoistomoduulilla)
3
Kuva 3.9 - 15 X-sarjan syöttömoduuliadapteri pitkittäistärykuljettimella
(1) Adapteri X-sarjan syöttömoduuleille (00141305-XX)
(2) Adapterilevy Reject Conveyor:ille (Artikkeli-nro. 00141308-xx)
(3) Reject Conveyor (jätteenpoistomoduuli)

Käyttöohje SIPLACE X-sarja 3 Automaatin tekniset tiedot
Alkaen ohjelmistoversiosta SR.605.xx Painos 07/2008 FI 3.9 X-syöttömoduuleja SIPLACE X-sarjan komponenttivaunua varten
183
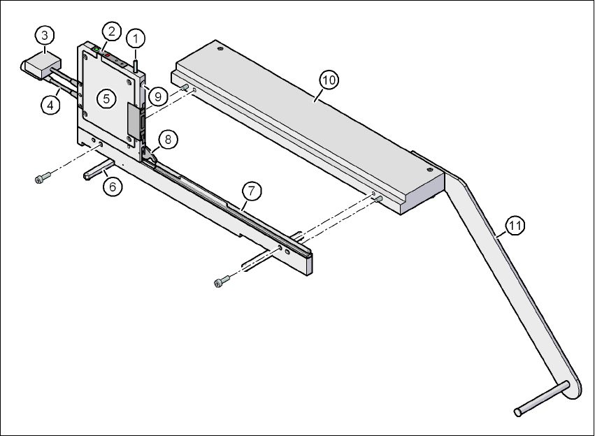
3.9.5 X-syöttömoduulien energia- ja datainterface
Artikkeli-nro. 00141247-xx Energia- ja datainterface X-syöttömoduulille
3
Kuva 3.9 - 16 X-syöttömoduulien energia- ja datainterface
(1) Lukituslinkun vapautuspainike
(2) Ohjauspaneeli
(3) Datakaapeli
(4) Virransyöttökaapeli
(5) Elektroniikkakotelo
(6) Uloskäännettävät jalat
(7) Omega-profiili syöttömoduulien ohjaamiseksi
(8) Lukituslinkku
(9) Vastereikä syöttömoduulin etupuolen keskitystapille
(10) Peruslevy
(11) Kelankannatin