00195732-01_UM_X-Serie_SR605_FI.pdf - 第456页
6 Asemalaajennukset Käyttöohje SIPLACE X-sarja 6.18 Koplanariteetti-lasermoduuli Alk aen ohjelmistoversiosta SR.605.xx Painos 07/2008 FI 456 LED St ate Tilanäyt tö Vihreä Mittausobjekti mittausalueella Keltainen Mittausa…

Käyttöohje SIPLACE X-sarja 6 Asemalaajennukset
Alkaen ohjelmistoversiosta SR.605.xx 6.18 Koplanariteetti-lasermoduuli
Painos 07/2008 FI
455
→ Liimaa varoituskilpi W216 koneen verhoukseen pääkytkimen viereen (katso pos. W216 ku-
vassa 6.18 - 3
, sivu 454.
6.18.6 LED-näytöt kontrollerissa
6
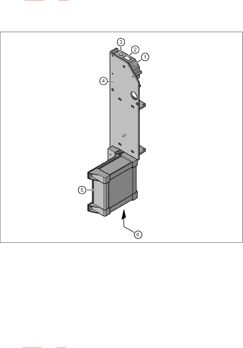
Kuva 6.18 - 4 Koplanariteetti-lasermoduuli
(1) Lasersensori
(2) Detektori
(3) Laseremitteri
(4) Asennuskulma
(5) Kontrolleri
(6) LED-näytöt, liitynnät kontrollerissa
Koplanariteettimoduulin tilat näytetään LED:eillä. LED:it ovat kontrollerin alasivulla (katso pos. 6
kuvassa 6.18 - 4
, sivu 455).

6 Asemalaajennukset Käyttöohje SIPLACE X-sarja
6.18 Koplanariteetti-lasermoduuli Alkaen ohjelmistoversiosta SR.605.xx
Painos 07/2008 FI
456
LED State Tilanäyttö
Vihreä Mittausobjekti mittausalueella
Keltainen Mittausalueen keskikohta
Punainen
Mittausalueen ulkopuolella,
matala heijastustaso
LED pimeä Laser kytketty pois päältä
LED Power Tilanäyttö
LED palaa Syöttöjännite päällä
LED avg avg1 avg2
Pois Pois Ei keskiarvoa
Punainen Pois Keskiarvo 1
Pois Punainen Keskiarvo 2
Punainen Punainen Keskiarvo 3

Käyttöohje SIPLACE X-sarja 6 Asemalaajennukset
Alkaen ohjelmistoversiosta SR.605.xx 6.19 3D-koplanariteetti-lasermoduuli
Painos 07/2008 FI
457
6.19 3D-koplanariteetti-lasermoduuli
Artikkeli-nro. 00119919-xx 3D-koplanariteettisensori
6.19.1 Turvallisuusohjeita
Samat turvallisuusohjeet, jotka on annettu 2D-koplanariteetti-lasermoduulille on annettu koh-
dassa 6.18
, sivu 451, ovat voimassa.
6.19.2 Kuvaus
3D-koplanariteetti-lasermoduuli ei toimi enää käyttäen pistemäista laservalolähdettä vaan laser-
valojuovaa. Mittausprosessi perustuu kolmiomittausperiaatteeseen (katso kuva 6.18 - 2
, sivu
452
). Siten on mahdollista tuottaa ja analysoida, komponenttien liitoskohtien kaksiulotteisen ra-
kenteen korkeusprofiili, esim. BGA, QFP jne.. Analyysi tuottaa arvot komponentin jalkojen tai
ball:ien koplanariteetille (samantasoisuudelle) ja kolineariteetille (samanlinjaisuudelle). 3D-kopla-
nariteetti-lasermoduulin voi installoida SIPLACE X2- ja X3-ladonta-automaatteihin.
6
Kuva 6.19 - 1 3D-koplanariteetti-lasermoduuli