AIM機械手冊.pdf - 第102页
5. 基本操作 QD053-07 86 AIM 机械手册 MEMO:

QD053-07 5. 基本操作
AIM 机械手册 85
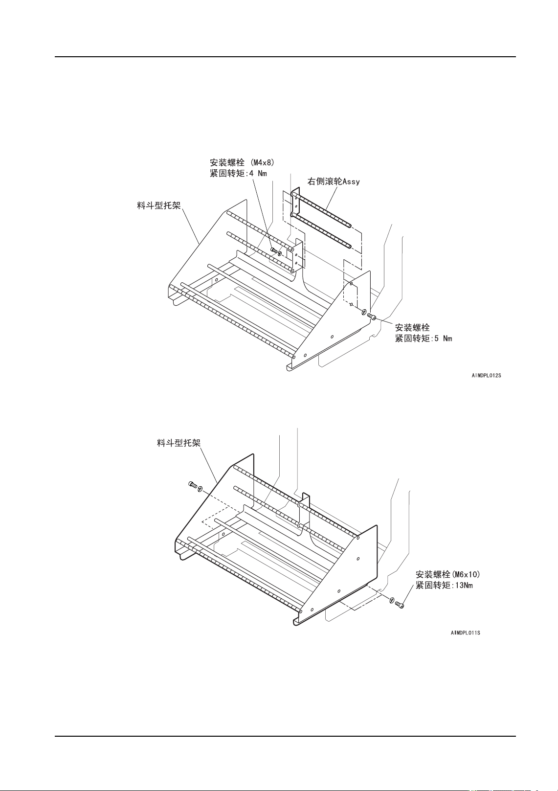
5.5.4 料斗型料带托架
使用料斗型料带托架时,安装、拆除请按照以下要领进行。
搭载 1 台料盘单元 -M 时
搭载 1 台料盘单元 -M 时,请将右侧滚轮 Assy 从托架主体上拆除。
搭载 2 台料盘单元 -M 时
请将料斗型托架整体拆除。

5. 基本操作 QD053-07
86 AIM 机械手册
MEMO:

QD053-07 6. 预防保养
AIM 机械手册 87
6. 预防保养
6.1 关于预防保养
预防保养工作有检查、清扫、加油等,是防止机器的不正常、使机器达到设计性能而不可缺
少的一项工作。请按照以下所记载的要领进行操作。
备注 )
1.此处记载的操作内容,既有针对负责维修保养的人员的内容,也有针对负责操作的人
员的内容。
2.此处只记载有关机器本体的保养操作内容,关于供料器的保养操作请参照 「FUJI 智
能供料器」使用手册。
6.1.1 关于操作周期
1 天 (24 小时 )、1 周 (160 小时 )、1 个月 (700 小时 )、3 个月 (2000 小时 )、6 个月 (4000
小时 )、1 年 (8000 小时 )、以及 12000 小时左右。此外还有机器在运行后的定期操作、特
定的机械操作所需要的操作、故障发生时等必须要进行的操作。
6.1.2 操作时的注意点
a. 在进行维修保养操作时,请使机器处于半停止或全停止的状态后再按照规定的步骤进
行操作。其他场合时,请切断电源和气源、排放出残留的空气后再进行操作。
b. 在机器内部,不容许使用压缩空气进行吹拂,以免使细小的元件和异物飞入机器内
部,影响机器的运转。
c. 请用布擦去多余的润滑油。
6.1.3 准备的用品
治具 用于吸嘴内部的清扫
治具 FUJI 润滑油枪配套工具 AWPJ8201 用于润滑油加油嘴的加油
ఈ⏙ᠿ⫼䗮ᴵ$:3-
⫼ఈ⏙ᠿ⊏$$;<