AIM機械手冊.pdf - 第39页
QD053-07 2. AIM 的构成部分 AIM 机械手册 23 2.6 料盘单元 -L 的构成部分 向机器供应料盘元件。

2. AIM 的构成部分 QD053-07
22 AIM 机械手册
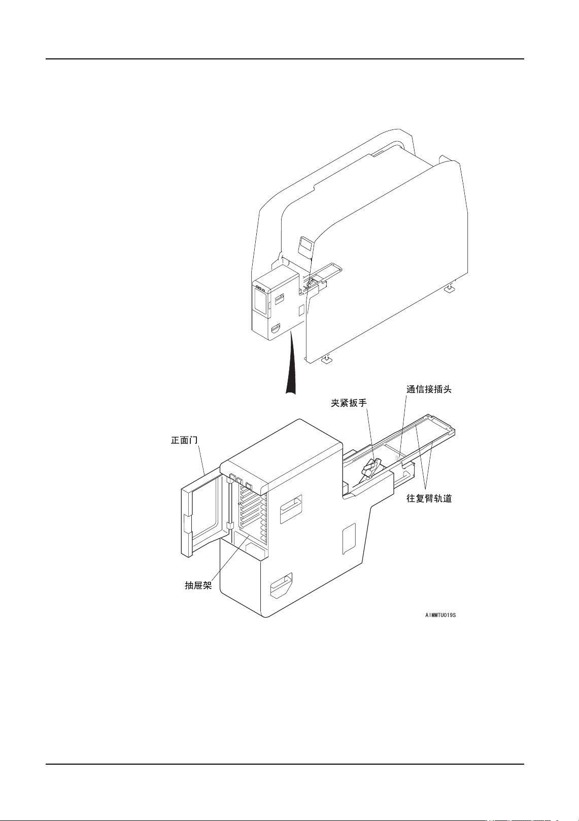
2.5 供料托架的构成部分
安装有各种供料器。料站托架上可以在搭载供料器的情况下进行一次性更换。

QD053-07 2. AIM 的构成部分
AIM 机械手册 23
2.6 料盘单元 -L 的构成部分
向机器供应料盘元件。

2. AIM 的构成部分 QD053-07
24 AIM 机械手册
2.7 料盘单元 -M 的构成部分
将料盘元件供应给模组。