AIM機械手冊.pdf - 第182页
7. 消耗品的更换 QD053-07 166 AIM 机械手册 〈H12S 吸嘴工作头〉

QD053-07 7. 消耗品的更换
AIM 机械手册 165
〈H04 吸嘴工作头〉
〈H08 吸嘴工作头〉

7. 消耗品的更换 QD053-07
166 AIM 机械手册
〈H12S 吸嘴工作头〉

QD053-07 7. 消耗品的更换
AIM 机械手册 167
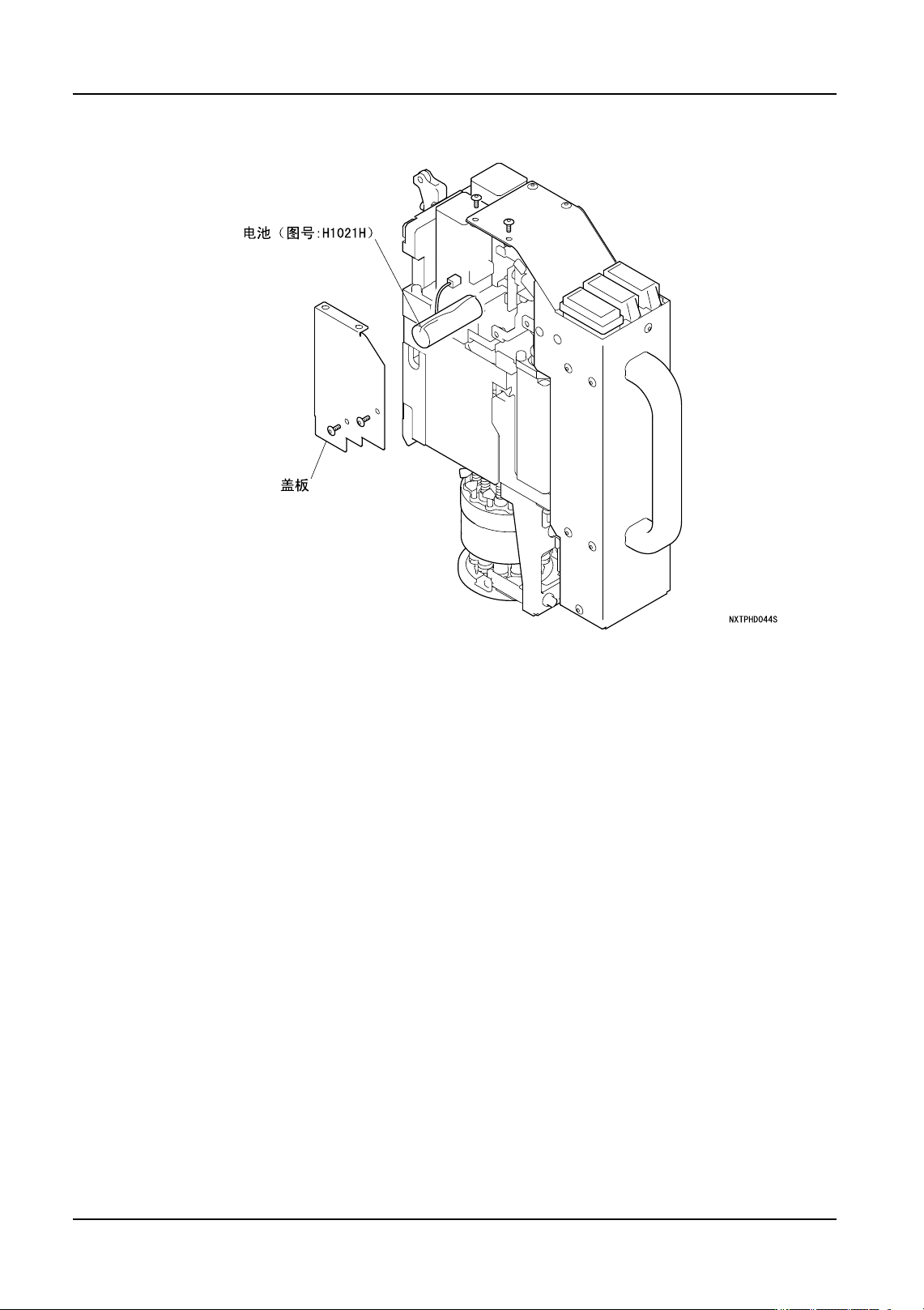
7.5 模组 CPU 箱电池的更换
机器在即使主电源开关处于 OFF 时,也可以根据 CPU 箱内存的电池保持以下的信息。但是,
电池在已经消耗的情况下,如果将机器的主电源开关处于 OFF 时,这些信息会消失。
d. 各种固有值
·矩阵数据 ·料站倾斜数据 ·自动校正结果
e. 模组功能设定值
f. 生产电路板信息
·生产 Job 名 ·生产信息 ·Profiler 信息 ·生产结束顺序信息
为了保持信息,请必须在进行准备操作后更换电池。
7.5.1 电池的种类
7.5.2 更换时期
电池报警时。
7.5.3 准备操作
1. 请确认是否有收存料站数据、料站倾斜数据的软盘。这个软盘在购买机器时被附加。没
有软盘时,有必要进行以下 0 的操作。
a. 请将模组的矩阵测定数据保存到 PC 中。详细内容请参考 「AIM 系统手册」。
b. 请获取模组的料站倾斜测定数据。料站倾斜测定数据在手动模式的信息指令上可以确
认。详细内容请参考 「AIM 系统手册」。
2. 请获取模组的功能设定的内容。模组功能设定的内容在附加软件上可以确认。详细请参
考 NXT 系统手册的 「7.11.3 模组单位的功能设定」。
接下来,请进行以下的操作。
1. 请从贴装工作头上拆下吸嘴。
2. 如果在机器内有电路板的话,请将其除去。
3. 请将与贴装工作头对应的治具安装在吸嘴更换器上。治具吸嘴的数量与吸嘴头的数量相
一致。
4. 请准备更换用电池、控制电源用的内存电阻 (电阻值 :1M Ω以上)用的腕带。
图号 H1019K
名称 电池
型号 CR2032
使用寿命 无运转:2.8 年,1 日 12 小时运转:5.6 年