AIM機械手冊.pdf - 第197页
QD053-07 7. 消耗品的更换 AIM 机械手册 181 7.12.2 侧盖板风扇的更换 1. 将主电源开关 OFF,切断机 器的电源。 2. 拆除侧盖板的安装螺丝。 3. 拆除冷却风扇上的导线接头。 4. 从盖罩上拆除地线的连接。 5. 拆除盖罩。 6. 拆除螺拴 ( 4 个) ,将冷却风扇从盖板上拆 除。 7. 将新的风扇安装在侧盖板上。 8. 连接地线到盖板上。 9. 连接冷却风扇的导线插头。 10.安装盖罩。 警告 更换作…

7. 消耗品的更换 QD053-07
180 AIM 机械手册
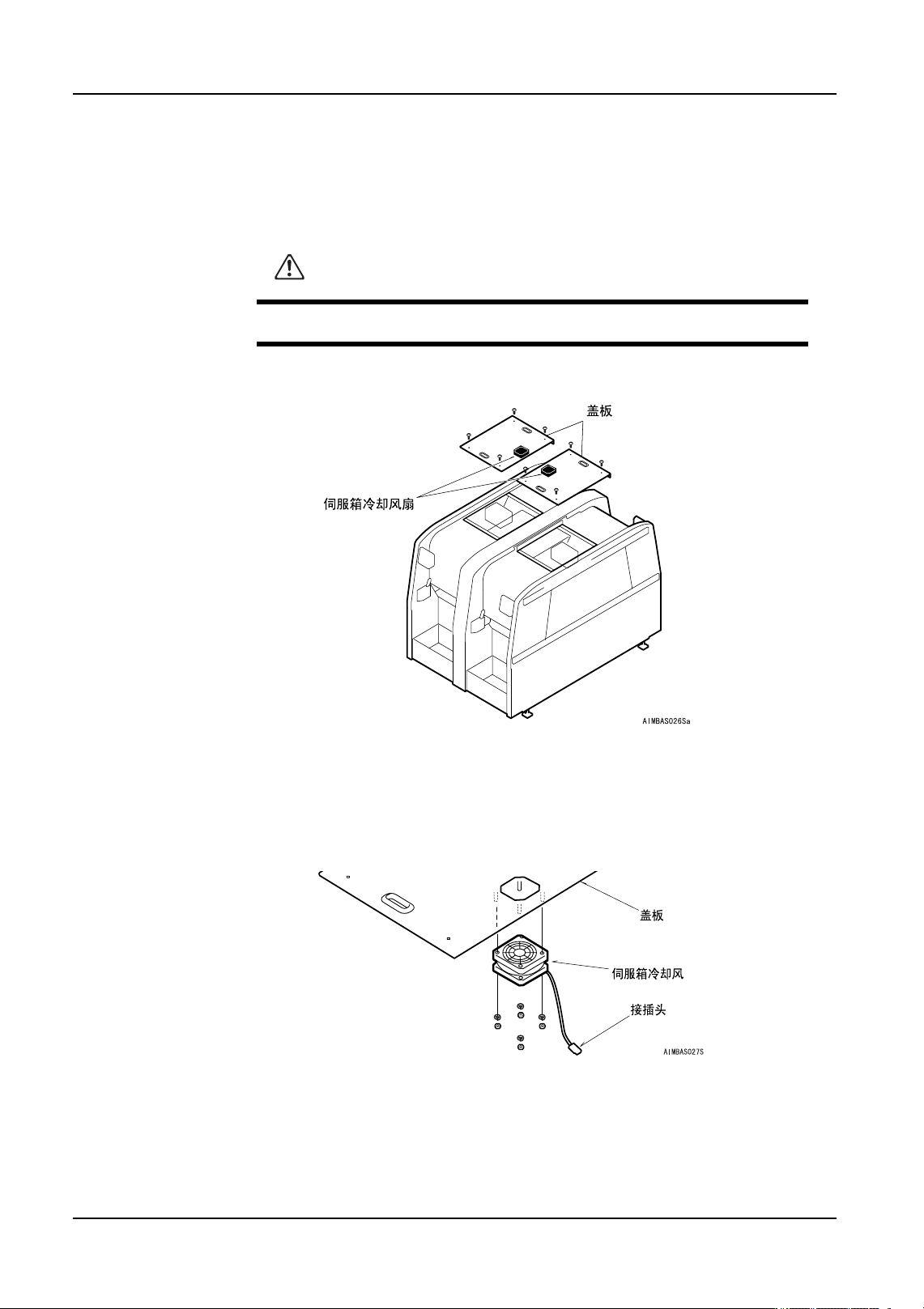
7.12 冷却风扇
7.12.1 伺服箱冷却用风扇
1. 将主电源开关 OFF,切断机器的电源。
2. 拆除机器上部盖罩的固定螺丝。
3. 拆除冷却风扇上的导线接头。
4. 从盖罩上拆除地线的连接。
5. 拆除盖罩。
6. 拆除螺母 (4 个),将冷却风扇从盖板上拆除。
7. 将新的风扇安装在侧盖板上。
8. 连接地线导线插头,安装盖板到机器上。
9. 连接冷却风扇的导线插座。
10.安装盖罩。
警告
更换作业请必须在切断电源后进行。

QD053-07 7. 消耗品的更换
AIM 机械手册 181
7.12.2 侧盖板风扇的更换
1. 将主电源开关 OFF,切断机器的电源。
2. 拆除侧盖板的安装螺丝。
3. 拆除冷却风扇上的导线接头。
4. 从盖罩上拆除地线的连接。
5. 拆除盖罩。
6. 拆除螺拴 (4 个),将冷却风扇从盖板上拆除。
7. 将新的风扇安装在侧盖板上。
8. 连接地线到盖板上。
9. 连接冷却风扇的导线插头。
10.安装盖罩。
警告
更换作业请必须在切断电源后进行。
$,0%$66D
Ⲫ㔽
ջⲪᵓ亢
ᦦ༈

7. 消耗品的更换 QD053-07
182 AIM 机械手册
7.12.3 料站托架 DC 电源用风扇的更换
更换用于料站基座 DC 电源的风扇时, 请预先拆下料站托架。(详细请参考 " 5.1 料站托架
的拆除 / 安装 "。)
1. 将主电源开关 OFF,切断机器的电源。
2. 拆下螺栓(4根)和风扇的插座,从供料托架上取下DC电源盖罩。
3. 拧下螺栓 (4 根 ),将风扇从 DC 电源盖罩中取出后进行更换。
警告
更换作业请必须在切断电源后进行。