AIM機械手冊.pdf - 第84页
5. 基本操作 QD053-07 68 AIM 机械手册 〈S/N:00002 4 ~ 000069 机器的时候〉 在机器上搭载有料盘托架的状态 下, 因为不能在料站基座内的夹紧汽缸上操作 , 所以不能用 手动进行解除。有必要将电源 ON。 〈S/N:00007 0 ~以后的机器的时候〉 该操作需要气源。 1. 在机器上连接气源。 (参考 「AI M 安装手册」 ) 2. 拆除脱卸后的料站托架 -L 的 模组旁边的盖板。 3. 旋转气阀…

QD053-07 5. 基本操作
AIM 机械手册 67
电源 OFF 时的料盘单元 -L 的拆除
因为不能使用机上编辑,所以将 PCU 安装在料站托架上后,用手动将机器一侧的锁定解除并
拆除。
拆除步骤根据机器的串行号 No. 不同。
〈S/N:000010 ~ 000023 机器的时候〉
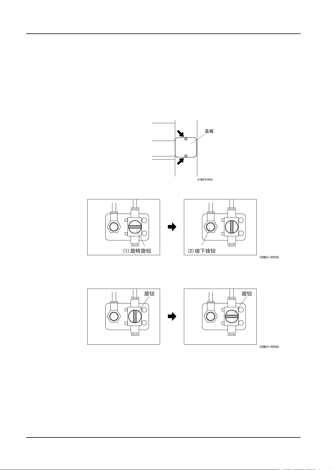
1. 拆除脱卸后的料盘单元 -L 的模组旁边的盖板。
2. 将空气阀的旋钮(2处)各自旋转后放掉空气。
3. 慢慢地将料盘单元从机器 ( 模组 ) 上拉出。
4. 将空气阀返回到各自的位置上,安装盖板。
注意
·请在只有不能对机器接通电源时使用这里刊载的方法打开空气阀,拆除
料站托架。通常请不要使用这里的方法。
·操作结束后,请将空气阀返回到原来 ( 关闭的 ) 的位置。

5. 基本操作 QD053-07
68 AIM 机械手册
〈S/N:000024 ~ 000069 机器的时候〉
在机器上搭载有料盘托架的状态下,因为不能在料站基座内的夹紧汽缸上操作,所以不能用
手动进行解除。有必要将电源 ON。
〈S/N:000070 ~以后的机器的时候〉
该操作需要气源。
1. 在机器上连接气源。(参考 「AIM 安装手册」)
2. 拆除脱卸后的料站托架 -L 的模组旁边的盖板。
3. 旋转气阀的旋钮后放掉空气,按下按钮后松开。
4. 慢慢地将料站托架 -L 从机器 ( 模组 ) 上拉出。
5. 将空气阀的旋钮返回到原来的位置上,安装盖板。

QD053-07 5. 基本操作
AIM 机械手册 69
5.2.2 安装方法
安装前的准备
使用料盘单元 -L 时,请拆除料带元件的相关机器 ( 废料带箱、不良元件箱、废料带输送槽
等 )。另外,也将元件相机的位置安装在右侧。
1. 打开安全门。
2. 打开安全门。
注意
·打开安全门时请将其完全抬起。如果将安全门在中途位置停止时,有落
下的危险。