AIM機械手冊.pdf - 第74页
5. 基本操作 QD053-07 58 AIM 机械手册 9. 将 PCU 的拉杆抬起,松开 料盘托架。 注意 )PCU 如果不紧紧地压入模组内就不能进行手柄的操作。 10.慢慢地拉出 PCU,将 其从料站托架上 脱离。 锁定脚轮使 PCU 不 要随意移动。 电源 OFF 时的料站托架的拆除 因为不能使用机上编辑, 所以将 PC U 安装在料站托架上后, 用手动将机器一侧的锁定 解除并 拆除。 拆除步骤根据机器的串行号 N o. 不同。…

QD053-07 5. 基本操作
AIM 机械手册 57
c. 按下箭头键,选择更换托架指令。
d. 按下 「OK」按钮。
7. 慢慢地拉出 PCU,将料站托架从机器中拉出。
8. 接下来将料站托架放在 PSU 上。
将料站托架的滚轮装载在 PSU 的导轨上,将 PCU 紧紧地压入直到碰到阻停块为止。
02SYS-0157

5. 基本操作 QD053-07
58 AIM 机械手册
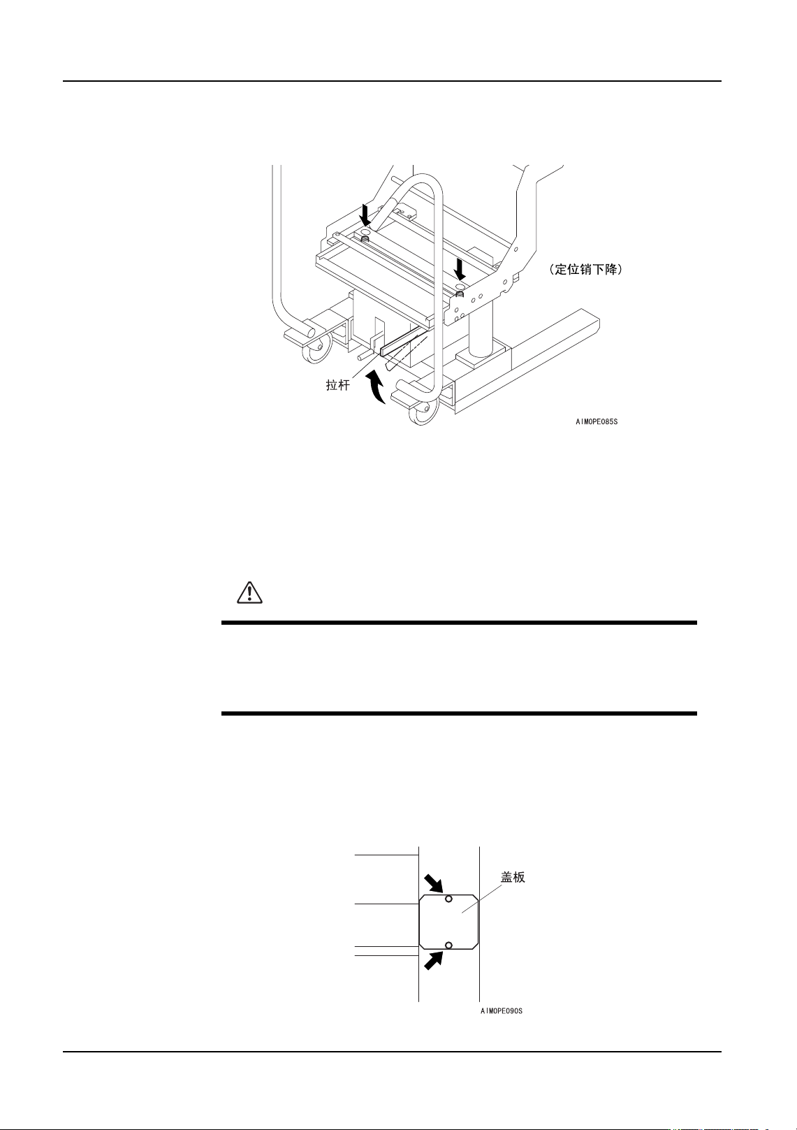
9. 将 PCU 的拉杆抬起,松开料盘托架。
注意 )PCU 如果不紧紧地压入模组内就不能进行手柄的操作。
10.慢慢地拉出 PCU,将其从料站托架上脱离。
锁定脚轮使 PCU 不要随意移动。
电源 OFF 时的料站托架的拆除
因为不能使用机上编辑,所以将 PCU 安装在料站托架上后,用手动将机器一侧的锁定解除并
拆除。
拆除步骤根据机器的串行号 No. 不同。
〈S/N:000010 ~ 000023 机器的时候〉
1. 将 PCU 插入料站托架并夹紧。( 参考 " 5.1.1 拆除方法 "。)
2. 拆除脱卸后的料站托架的模组旁边的盖板。
注意
·请在只有不能对机器接通电源时使用这里刊载的方法打开空气阀,拆除
料站托架。通常请不要使用这里的方法。
·操作结束后,请将空气阀返回到原来 ( 关闭的 ) 的位置。

QD053-07 5. 基本操作
AIM 机械手册 59
3. 将空气阀的旋钮(2处)各自旋转后放掉空气。
4. 慢慢地拉 PCU,将 PCU 从机器 ( 模组 ) 上拉出。
5. 将空气阀返回到各自的位置上,安装盖板。
〈S/N:000024 ~ 000069 机器的时候〉
1. 为了可以在料站基座的夹紧汽缸处操作,预先将料站托架下侧的盖罩拆去。
2. 将 PCU 插入料站托架并夹紧。( 参考 " 5.1.1 拆除方法 "。)
3. 拆除脱卸后的料站托架的模组旁边的盖板。