AIM機械手冊.pdf - 第69页
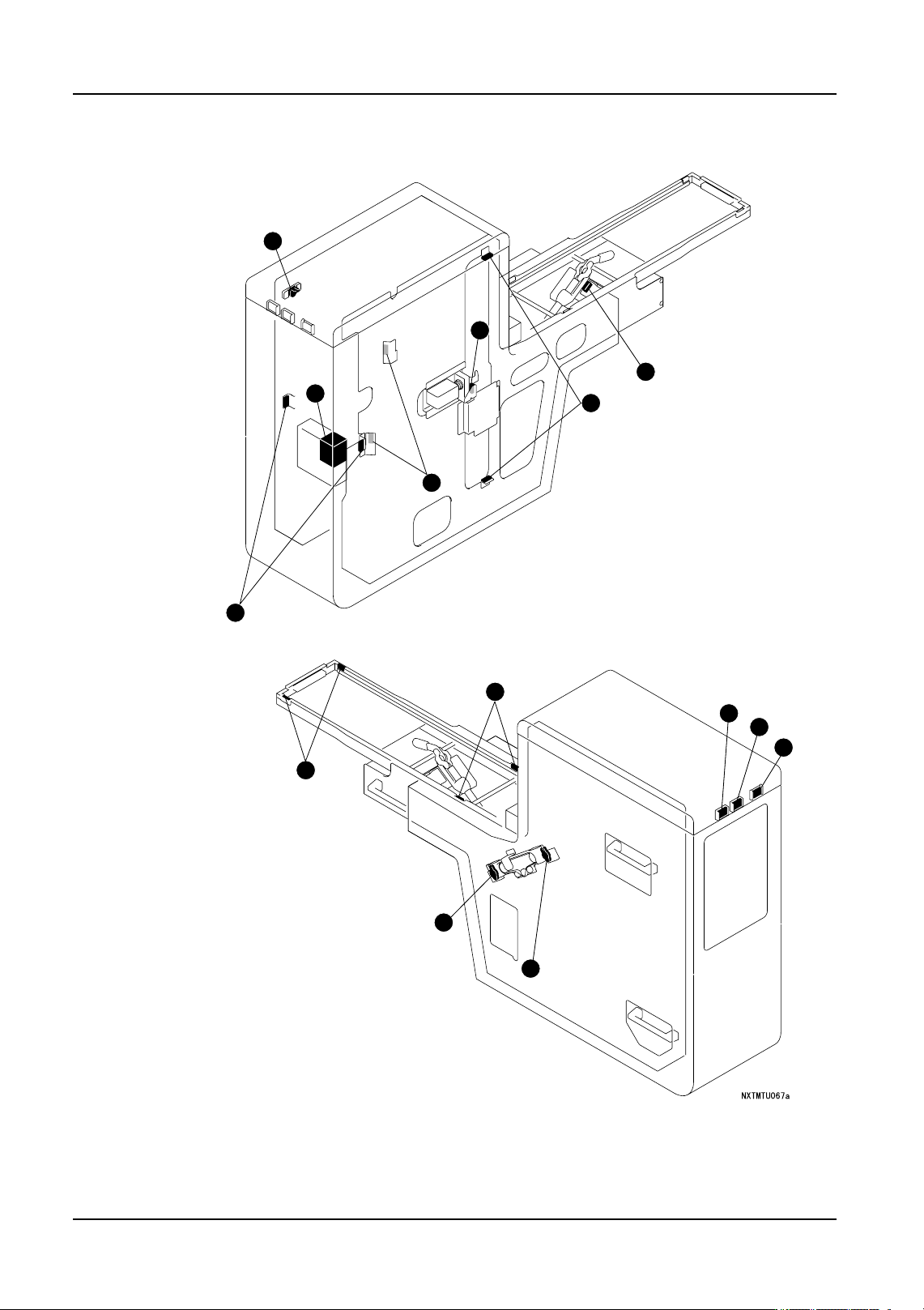
QD053-07 4. 传感器布置图 AIM 机械手册 53 ※上述地址未显示在 「I/O Monitor」上。 No. 地址 信号名 传感器名 1 IN02 料盘有无确认 - 2 I N 0 3 夹 紧O N确 认 - 3 IN04 夹紧 OFF 确 认 - 4 IN05 正面门关闭确 认 - 5 IN06 料盘托架门关 闭确认 - 6 IN07 供应预约 SW 输入 - 7 IN10 供应结束 SW 输入 - 8 IN11 TZ 轴…

4. 传感器布置图 QD053-07
52 AIM 机械手册
4.10 料盘单元 -M
9
8
5
7
1
2
3
4
6
13
10
11
12
14

QD053-07 4. 传感器布置图
AIM 机械手册 53
※上述地址未显示在 「I/O Monitor」上。
No. 地址 信号名 传感器名
1 IN02 料盘有无确认 -
2 IN03 夹紧ON确认 -
3 IN04 夹紧 OFF 确认 -
4 IN05 正面门关闭确认 -
5 IN06 料盘托架门关闭确认 -
6 IN07 供应预约 SW 输入 -
7 IN10 供应结束 SW 输入 -
8 IN11 TZ 轴干涉确认 -
9 IN12 料盘阻停块 ON 确认 -
10 IN13 更换预约 SW 输入 -
11 IN14 料盘前进 / 后退减速确认 -
12 IN15 料盘前进停止确认 -
13 IN16 料盘后退确认 -
14 - 单元夹紧确认 -

4. 传感器布置图 QD053-07
54 AIM 机械手册
MEMO: