AIM機械手冊.pdf - 第200页
7. 消耗品的更换 QD053-07 184 AIM 机械手册 7.13 料盘单元 -L 伺服控制箱电池的更换 7.13.1 更换时期 电池报警时。 7.13.2 更换方法 1. 拧松螺丝,打开控制箱的安全门。 2. 确认控制箱的 「RDY」L ED 处于点亮状态。 3. 打开控制箱前面的电池盖板。 注意 · 请不要使用指定以外的 电池。 · 请在 不切断机器电源状态下更换 电池。 没有接通电源的 状态下拆下电池 时,有必要重新设定马达…

QD053-07 7. 消耗品的更换
AIM 机械手册 183
7.12.4 Y 轴伺服马达盖罩风扇的更换
1. 将主电源开关 OFF,切断机器的电源。
2. 拆除 Y 轴伺服马达的安装螺丝 (3 根)。
3. 拆除冷却风扇的导线插座。
4. 从盖罩上拆除地线的连接。
5. 安装盖罩。
6. 将新的风扇安装到盖罩上。
7. 连接地线到盖罩上。
8. 连接冷却风扇的导线插座。
9. 安装盖罩。
警告
更换作业请必须在切断电源后进行。

7. 消耗品的更换 QD053-07
184 AIM 机械手册
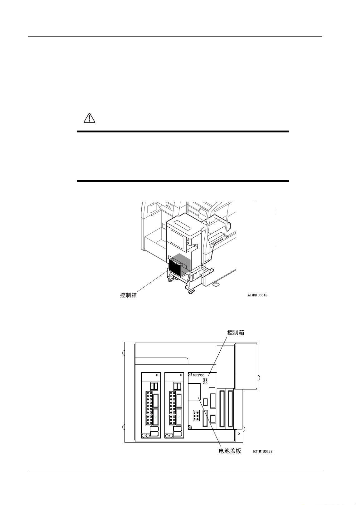
7.13 料盘单元 -L 伺服控制箱电池的更换
7.13.1 更换时期
电池报警时。
7.13.2 更换方法
1. 拧松螺丝,打开控制箱的安全门。
2. 确认控制箱的 「RDY」LED 处于点亮状态。
3. 打开控制箱前面的电池盖板。
注意
·请不要使用指定以外的电池。
·请在不切断机器电源状态下更换电池。没有接通电源的状态下拆下电池
时,有必要重新设定马达的原点。
·使用完的电池请根据进行处理的地区的规定进行处理。

QD053-07 7. 消耗品的更换
AIM 机械手册 185
4. 拆下电池的导线插头,与新品的电池更换。
5. 确认 「BAT」LED 已经点灭后,关上电池盖板。
6. 关紧控制箱的安全门。