AIM機械手冊.pdf - 第191页
QD053-07 7. 消耗品的更换 AIM 机械手册 175 <H08 吸嘴工作头、H12S 吸嘴工作头的时候 > 1. 拆下吸嘴置放台下部的弹簧。 2. 取下压板,更换荧光贴纸。

7. 消耗品的更换 QD053-07
174 AIM 机械手册
7.7 吸嘴置放台萤光粘纸的更换
7.7.1 更换时期
在确认有无吸嘴中发生错误时。
7.7.2 更换方法
参考 " 5.4 吸嘴置放台的拆除 / 安装 ",将吸嘴置放台从吸嘴更换器本体上拆下。请根据
不同型号按下述步骤,贴换萤光粘纸。
<H01 吸嘴工作头的时候 >
请剥离旧的荧光粘纸,贴上新的荧光粘纸。
<H04 吸嘴工作头的时候 >
请剥离旧的荧光粘纸,贴上新的荧光粘纸。

QD053-07 7. 消耗品的更换
AIM 机械手册 175
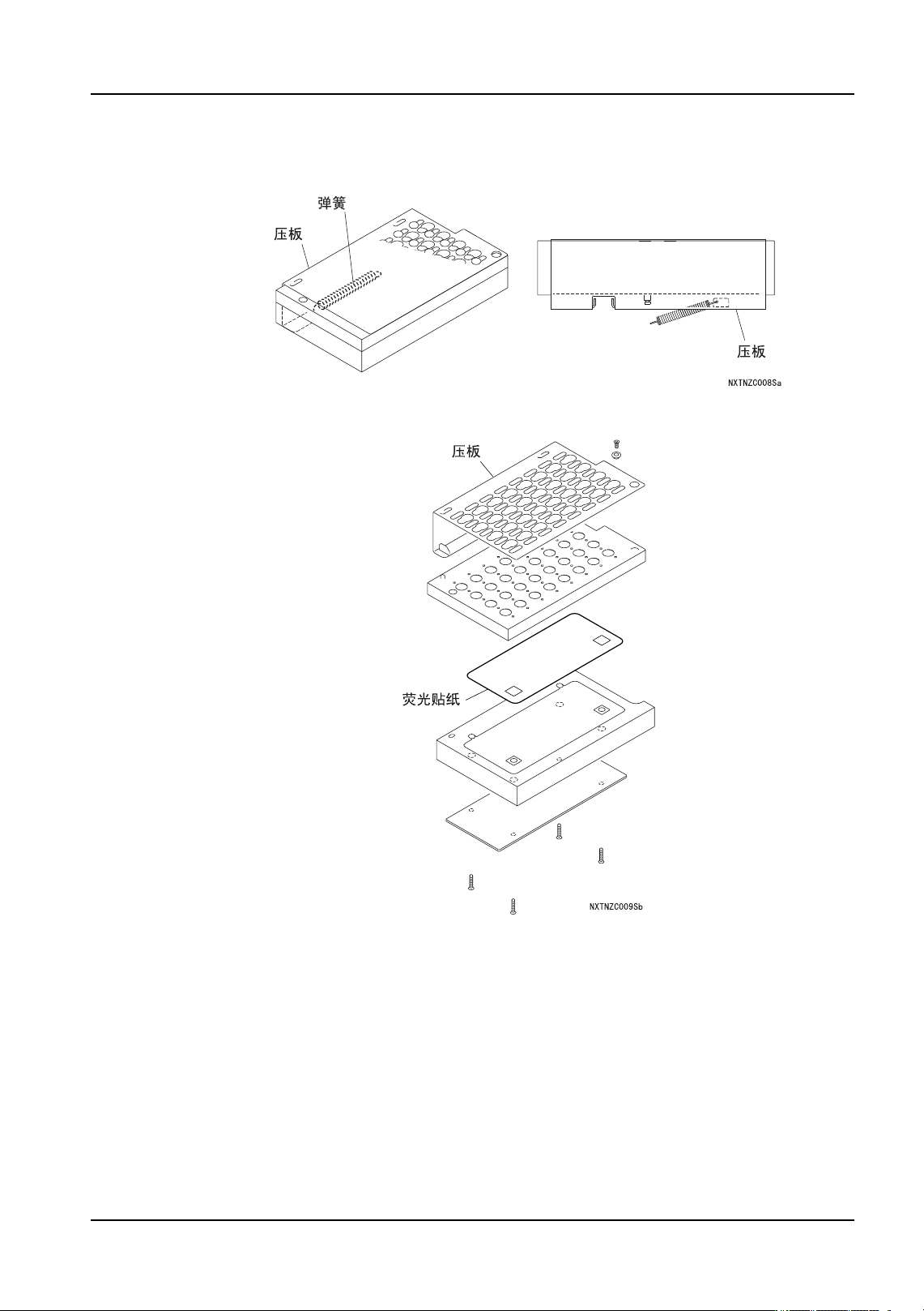
<H08 吸嘴工作头、H12S 吸嘴工作头的时候 >
1. 拆下吸嘴置放台下部的弹簧。
2. 取下压板,更换荧光贴纸。

7. 消耗品的更换 QD053-07
176 AIM 机械手册
7.8 远程控制 I/O 电路板保险丝的更换
保险丝烧断时, 电路板上的保险丝用的 LED 灯灭。请在确认保险丝是否烧断后进行更换。
7.8.1 更换方法
1. 拆下螺丝 (3 根),拆下远程控制 I/O 电路板的前盖板。
2. 确认烧断的保险丝后,将主电源开关 OFF 后切断机器的电源。
3. 从远程控制 I/O 电路板上拔下保险丝 (F1,F3) 并更换。
注意
·在更换保险丝前,请务必切断电源。
·请用与拆下的保险丝相同容量的保险丝更换。