AIM機械手冊.pdf - 第254页
8. 部件的更换 QD053-07 238 AIM 机械手册 8.16 分配器的更换 8.16.1 更换方法 1. 将主电源开关 OFF,切断机 器的电源。 2. 拆除机器上部盖罩的安装螺丝。 3. 拆除冷却风扇的导线插座。 4. 从盖板上拆除导线的连接。 5. 拆除盖罩。 警告 在进行更换操作时,请务必在 切断电源后进行。 注意 ·在接差导线接头时,请拿住接 插头进行更换,不要拉电缆。 ·在连接接插头时,请注意确认 接插头的名称不要搞…

QD053-07 8. 部件的更换
AIM 机械手册 237
4. 拆除下记得导线插头,取出远程控制 I/O 电路板。
5. 按照与拆除相反的步骤,安装新的远程控制 I/O 电路板。
AIMBAS040

8. 部件的更换 QD053-07
238 AIM 机械手册
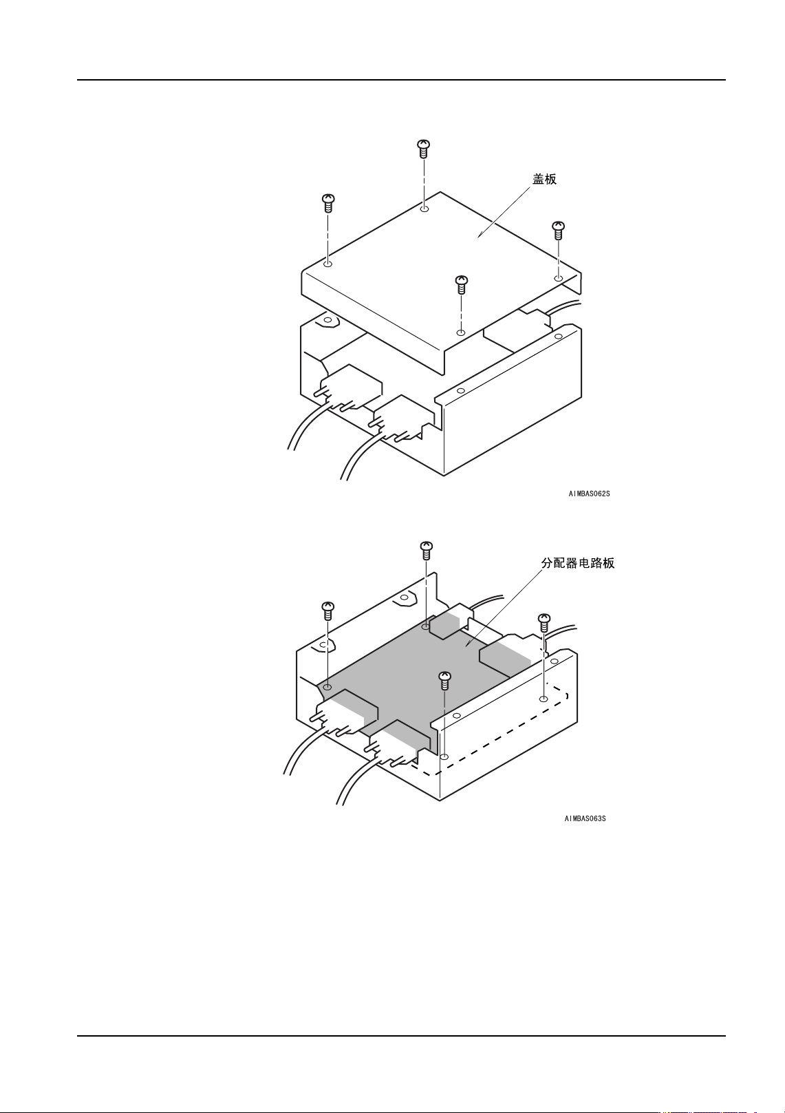
8.16 分配器的更换
8.16.1 更换方法
1. 将主电源开关 OFF,切断机器的电源。
2. 拆除机器上部盖罩的安装螺丝。
3. 拆除冷却风扇的导线插座。
4. 从盖板上拆除导线的连接。
5. 拆除盖罩。
警告
在进行更换操作时,请务必在切断电源后进行。
注意
·在接差导线接头时,请拿住接插头进行更换,不要拉电缆。
·在连接接插头时,请注意确认接插头的名称不要搞错。

QD053-07 8. 部件的更换
AIM 机械手册 239
6. 拆下螺丝,拆除分配器箱的盖罩。
7. 拆除下图的导线接插头 (4 根)。拆除螺丝后取出分配器电路板。
8. 按照与拆除相反的步骤,安装新的分配器电路板。
9. 连接地线到盖罩上。
10.连接冷却风扇的导线插座。
11.安装盖罩。