AIM機械手冊.pdf - 第133页
QD053-07 6. 预防保养 AIM 机械手册 117 6.6.3 XY 机械手的加油 1. 拆除模组隔板的前后盖板,创建出一个 操作空间。请将 XY 机械 手移动到其位置。 2. 拆下 X 轴齿轮罩。 3. 在 X 轴齿轮 (1) 上 涂上薄薄一层指定的润滑油。 4. 使用润滑油枪,用指定的润滑油给 X 、Y 轴滚珠丝杆油嘴 ( 2)、(4) 适量 地加油。 5. 使用润滑油枪,用指定的润滑油给 X 、Y 轴 LM 导轨油 嘴 (…

6. 预防保养 QD053-07
116 AIM 机械手册
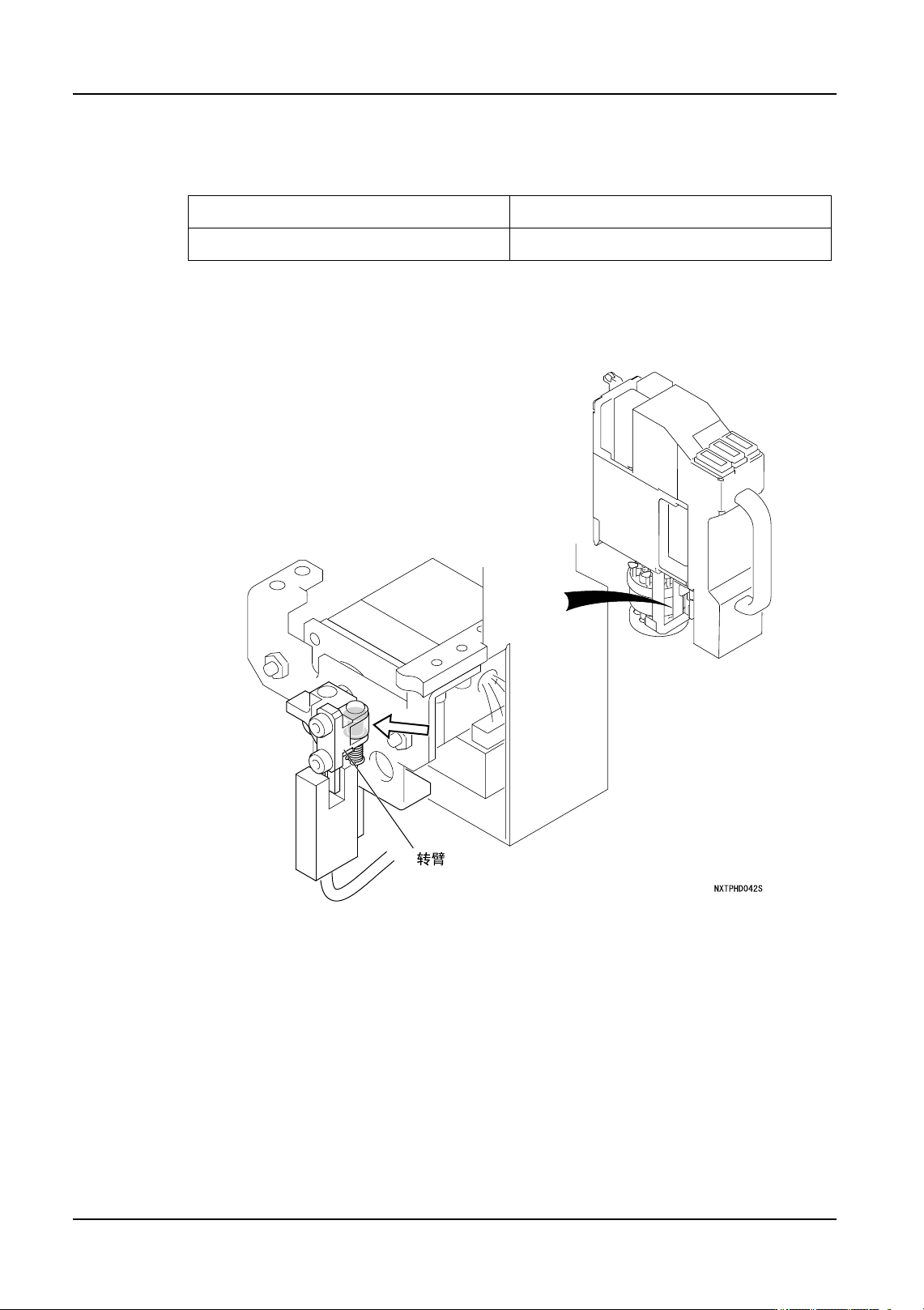
6.6.2 H08 吸嘴、H12S 吸嘴工作头 (转臂旋转轴)的加油
1. 拆除贴装工作头。(详细请参考 " 5.3 贴装工作头的拆除 / 安装 ")
2. 请使用棉棒等,用 Daphne Eponex No.2( 出光 ) 涂敷步进马达驱动部的转臂旋转轴以及
旋转折叠部。
3. 将转臂向旋转方向转动数次,与润滑油粘合。
润滑油 加油处
Daphne Eponex No.2( 出光 ) 转臂旋转轴以及旋转折叠部

QD053-07 6. 预防保养
AIM 机械手册 117
6.6.3 XY 机械手的加油
1. 拆除模组隔板的前后盖板,创建出一个操作空间。请将 XY 机械手移动到其位置。
2. 拆下 X 轴齿轮罩。
3. 在 X 轴齿轮 (1) 上涂上薄薄一层指定的润滑油。
4. 使用润滑油枪,用指定的润滑油给 X、Y 轴滚珠丝杆油嘴 (2)、(4) 适量地加油。
5. 使用润滑油枪,用指定的润滑油给 X、Y 轴 LM 导轨油嘴 (3)、(5) 适量地加油。
6. 用回丝擦去被挤压出的旧润滑油。
7. 安装 X 轴齿轮罩。
润滑油 加油处
Daphne Eponex No.2( 出光 ) (1) X 轴齿轮
(3) X轴LM导轨
(5) Y轴LM导轨
LRL3 (2) X 轴滚珠丝杆
(4) Y 轴滚珠丝杆
1
1
4
5
5
5
5
2
3
3
3
3

6. 预防保养 QD053-07
118 AIM 机械手册
6.6.4 料盘单元 -M 的清扫
1. 拆除料盘单元 -M。(详细请参考 " 5.5 料盘单元 -M 的安装 / 拆除 "。)
2. 请用清洁的布擦拭往复臂皮带和料盘箱皮带的表面。
᭭ⲬㆅⲂᏺ
ᕔ㞖Ⲃᏺ
1;70786