AIM機械手冊.pdf - 第198页
7. 消耗品的更换 QD053-07 182 AIM 机械手册 7.12.3 料站托架 DC 电源用风扇的更换 更换用于料站基座 DC 电源的风扇时, 请预先拆下料站托架。 (详细请 参考 " 5.1 料站托架 的拆除 / 安装 " 。 ) 1. 将主电源开关 OFF,切断机 器的电源。 2 . 拆 下 螺 栓( 4根)和 风 扇 的 插 座 , 从 供 料 托 架 上 取 下D C电 源 盖 罩 。 3. 拧下螺栓…

QD053-07 7. 消耗品的更换
AIM 机械手册 181
7.12.2 侧盖板风扇的更换
1. 将主电源开关 OFF,切断机器的电源。
2. 拆除侧盖板的安装螺丝。
3. 拆除冷却风扇上的导线接头。
4. 从盖罩上拆除地线的连接。
5. 拆除盖罩。
6. 拆除螺拴 (4 个),将冷却风扇从盖板上拆除。
7. 将新的风扇安装在侧盖板上。
8. 连接地线到盖板上。
9. 连接冷却风扇的导线插头。
10.安装盖罩。
警告
更换作业请必须在切断电源后进行。
$,0%$66D
Ⲫ㔽
ջⲪᵓ亢
ᦦ༈

7. 消耗品的更换 QD053-07
182 AIM 机械手册
7.12.3 料站托架 DC 电源用风扇的更换
更换用于料站基座 DC 电源的风扇时, 请预先拆下料站托架。(详细请参考 " 5.1 料站托架
的拆除 / 安装 "。)
1. 将主电源开关 OFF,切断机器的电源。
2. 拆下螺栓(4根)和风扇的插座,从供料托架上取下DC电源盖罩。
3. 拧下螺栓 (4 根 ),将风扇从 DC 电源盖罩中取出后进行更换。
警告
更换作业请必须在切断电源后进行。

QD053-07 7. 消耗品的更换
AIM 机械手册 183
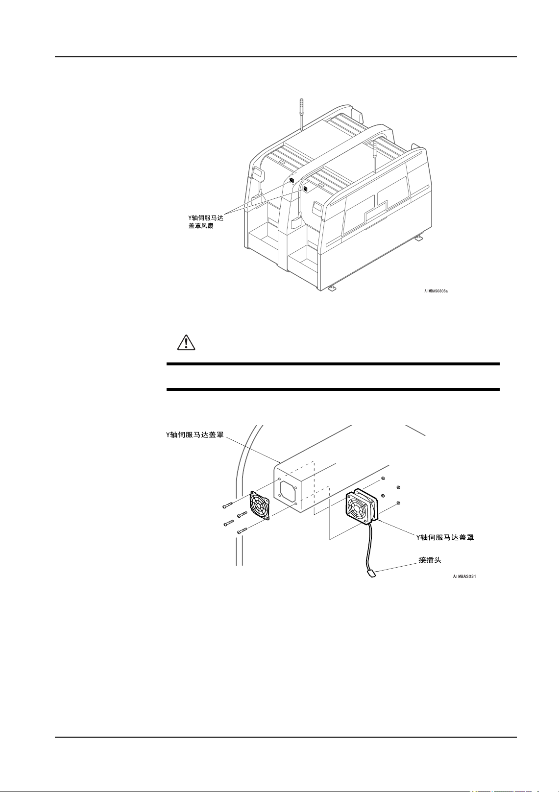
7.12.4 Y 轴伺服马达盖罩风扇的更换
1. 将主电源开关 OFF,切断机器的电源。
2. 拆除 Y 轴伺服马达的安装螺丝 (3 根)。
3. 拆除冷却风扇的导线插座。
4. 从盖罩上拆除地线的连接。
5. 安装盖罩。
6. 将新的风扇安装到盖罩上。
7. 连接地线到盖罩上。
8. 连接冷却风扇的导线插座。
9. 安装盖罩。
警告
更换作业请必须在切断电源后进行。