AIM機械手冊.pdf - 第98页
5. 基本操作 QD053-07 82 AIM 机械手册 3. 维持原样将料盘单元 -M 水平推进去。请将料盘单元 -M 的通信接插头确实地紧紧插入到 机器侧的接插头中。 4. 请按下夹紧扳手,将料盘单元 -M 固定到料站托架上。 以上结束了料盘单元 -M 的安装。 注意 安装后,请不要对料盘单元的上部 加上不必要的负荷或者给侧面挤压 。有 可能影响到元件的吸取精度或者使 机器受损。 A I MM T U029

QD053-07 5. 基本操作
AIM 机械手册 81
5.5.2 安装方法
搭载 1 台料盘单元 -M 时
请事前安装专用的废料带输送槽。( 参考 " 5.5.3 废料带输送槽和盖罩 "。)
使用料斗型托架时,请拆除右侧的滚轮 Assy。( 参考 " 5.5.4 料斗型料带托架 "。)
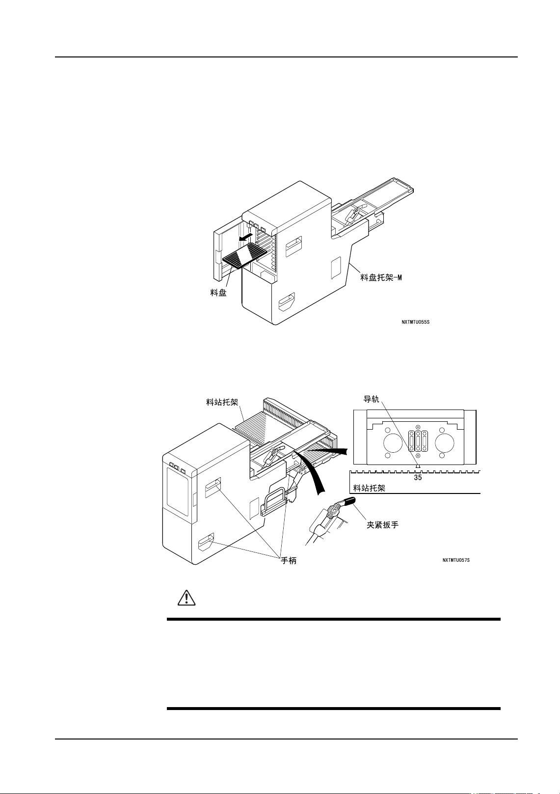
1. 准备料盘单元 -M. 在料盘托架中装有料盘时请将此除去。
2. 请将料盘单元 -M 安装在料站托架的料槽上。
a. 请将料盘单元 -M 安装在料槽 35 上。
b. 安装前,在抬起夹紧手柄的状态下固定。
警告
在搬运料盘单元 -M 时请 2 个操作员进行。此时,请紧紧地握住左右的手
柄。料盘单元 -M 落下后会使机器损坏或者受伤。
在料盘单元 -M 和料站托架之间请不要随意地将手靠近。手指有可能被夹
住受伤。

5. 基本操作 QD053-07
82 AIM 机械手册
3. 维持原样将料盘单元 -M 水平推进去。请将料盘单元 -M 的通信接插头确实地紧紧插入到
机器侧的接插头中。
4. 请按下夹紧扳手,将料盘单元 -M 固定到料站托架上。
以上结束了料盘单元 -M 的安装。
注意
安装后,请不要对料盘单元的上部加上不必要的负荷或者给侧面挤压。有
可能影响到元件的吸取精度或者使机器受损。
AIMMTU029

QD053-07 5. 基本操作
AIM 机械手册 83
双侧搭载料盘单元 -M 时
请事前安装专用的废料带输送槽。( 参考 " 5.5.3 废料带输送槽和盖罩 "。)
料站托架使用料斗型托架时,请拆除右侧的滚轮 Assy。( 参考 " 5.5.4 料斗型料带托架 "。)
备注 )可以设置 2 台料盘单元 -M,当前不对应仅仅在位置 A 上的运用。
夹紧手柄的操作比较困难,首先在机器外面将 2 台料盘单元 -M 安装在料站托架上夹紧。
1. 将料站托架搭载在 PCU 上。( 参考 " 5.1 料站托架的拆除 / 安装 "。)
2. 将 2 台料盘单元安装在料站托架上,紧固夹紧手柄。( 参考「单侧搭载料站单元 -M 时」。)
3. 将2台料盘单元-M与料站托架一起插入机器内部。(参考" 5.1 料站托架的拆除/安装 "。)
料槽 No.
位置 A 10
位置 B 35