LsrNXT2.pdf - 第105页
4. 生产 QD142-09 86 NXT II 系统手册 10.当完成所有的补充后,就会显示按下 COMPLETE 按钮的向导画面。 备注 )即使没有完成所有 料盘的补充, 如果生产中需要的料盘已被 安装,就 能够重新开始生 产。这时,也会显示按下 COMPLETE 按钮的向导画面。 11.请拿住捏手,放下 托架挡块。

QD142-09 4. 生产
NXT II 系统手册 85
5. 请使用 KIT Manager 或 KIT Handy 进行料盘验证。
a. 在 KIT Handy 画面或 KIT Manager 画面上选择要补充的料槽。
b. 使用 KIT Handy 或手持式扫描器扫描元件条形码或 DID。如果运用了带位置检查的料
盘验证时,请扫描 FIDL (托架)和 DID (料盘)。
备注 )关于料盘的验证检查,请参照[Fujitrax Verifier用户手册]的[5.料盘元件的验证]。
6. 如果需要指定料盘元件的吸取开始点时,请在这里设定。请参照 "4.8.6 指定料盘元件的
吸取开始点 "。
7. 将料盘安装到料盘托架上。
8. 将料盘托架安装到对象料槽上。
注意 )将料盘托架安装到料盘箱内时,在不产生冲击的情况下将料盘托架放入最里面。
备注 )想要改变料槽的顺序时,请通过操作面板的箭头键(上下)变更料槽,然后安装料盘。
9. 如果有其他料槽的料盘更换的向导,请重复上述 4. 项~ 8. 项。

4. 生产 QD142-09
86 NXT II 系统手册
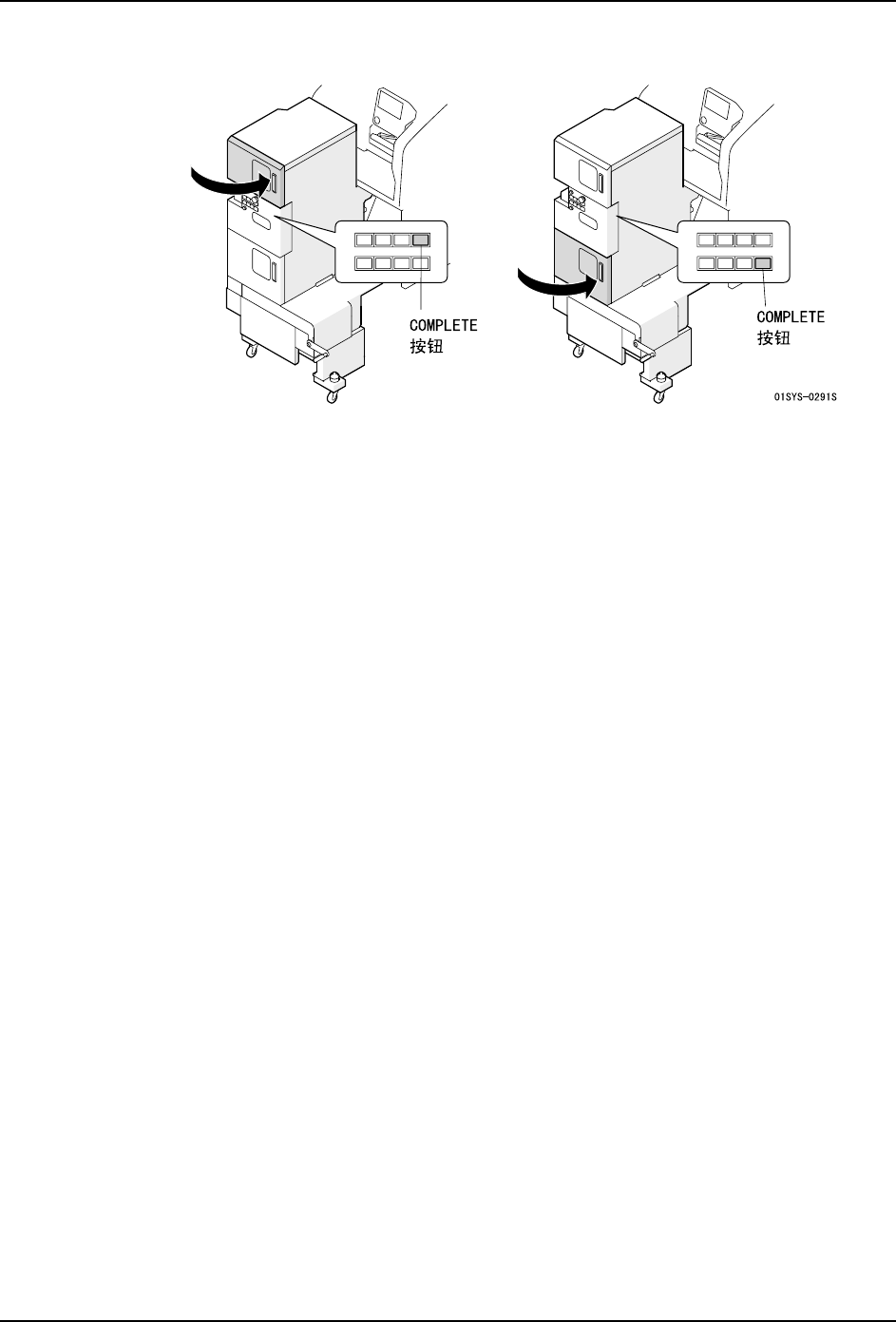
10.当完成所有的补充后,就会显示按下 COMPLETE 按钮的向导画面。
备注 )即使没有完成所有料盘的补充,如果生产中需要的料盘已被安装,就能够重新开始生
产。这时,也会显示按下 COMPLETE 按钮的向导画面。
11.请拿住捏手,放下托架挡块。

QD142-09 4. 生产
NXT II 系统手册 87
12.请关闭正面门,按下 COMPLETE 按钮。
备注 )请轻轻关闭正面门,以免料盘单元 -LTC 受到冲击。
13.如果使用了附加位置检查的料盘验证功能时,机器就会读取料盘托架的 FIDL,确认所安
装的元件种类、吸取开始点及料盘高度。当安装了别的元件或者元件从料盘的凹槽内跳
出时,就会再次显示料盘安装向导画面,因此请重新正确地安装料盘。