LsrNXT2.pdf - 第251页
5. 换线 QD142-09 232 NXT II 系统手册 料站托架的安装 以下说明在 M6-2 模组中的操作,M3 -2 模组时的安装步骤也同样如此。 1. 准备已放置了料站托架的 PCU。 旋转手柄使 PCU 上下移动, 请确认刻度使之对准机 器的电 路板搬运高度。 2. 请将 PCU 靠近基座的前面。 请慢慢推 PCU, 将导向臂插入基座的开口部。 当 PCU 被正确插 入时,导向臂就会自动被夹紧。 备注 )根据地面的情况 ,有…

QD142-09 5. 换线
NXT II 系统手册 231
5. 请提起托架锁定解除杆后,拉出料站托架。
备注 )转移到 PCU 上的料站托架被自动锁定。
6. 请握住滑动锁定解除杆,将 PCU 本体向后方滑动。
7. 请握住导向臂解除杆,慢慢拉出 PCU 使之脱离基座。

5. 换线 QD142-09
232 NXT II 系统手册
料站托架的安装
以下说明在 M6-2 模组中的操作,M3-2 模组时的安装步骤也同样如此。
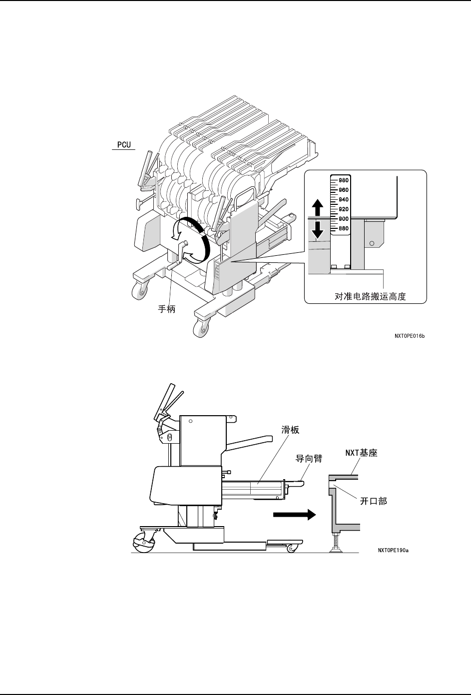
1. 准备已放置了料站托架的 PCU。旋转手柄使 PCU 上下移动,请确认刻度使之对准机器的电
路板搬运高度。
2. 请将 PCU 靠近基座的前面。请慢慢推 PCU,将导向臂插入基座的开口部。当 PCU 被正确插
入时,导向臂就会自动被夹紧。
备注 )根据地面的情况,有时导向臂与开口部的高度部会不一致。因此,在插入时一边目视
导向臂的高度一边推入 PCU。当高度不一致时,请旋转手柄进行微调整后插入。

QD142-09 5. 换线
NXT II 系统手册 233
3. 请握住 PCU 滑板锁定解除杆,使 PCU 本体向前方滑动。
备注 )只有握住解除杆,锁定才会被解除。
4. 请提起托架锁定解除杆后,将料站托架插入模组内。
备注 )转移到 PCU 上的料站托架被自动锁定。
5. 请握住滑板锁定解除杆,将 PCU 本体向后方滑动。