SER08989020_YV64 Service_J.pdf - 第98页
3- 77 SER08989020 調整 第 3 章 3 3.2.2 ピ ン ト & 絞 り 専用治具(フォーカスアジャスタ: KM1-M8803-100) を使って画像を観察し ながら、マルチ認識カメラのピントと絞りを調整します。以下の手順で行ってく ださい。 1 ヘッド1にタイプ 3 3 ノズルを付けます。 「 3/3/A5 ノズルチェンジ」コマンドを使ってヘッド 1 に指定されたノズルを 付けてください。 (オートノズルチ…

3-
76
SER08989020
調整
第
3
章
3
e
6
非常停止ボタンを押してから、カメラの視野を調整します。
1. 水平視野が35mm になるように、カメラの固定ボルトを緩めて取り付け高
さを調整してください。(視野を広くするときは下に、狭くするときは上に
移動させます。)このときスケールの目盛りが読めないほどピントがずれて
いる場合は、ピントリングを回して調整してください。(次項「3.2.2」を
参照)視野の調整後、固定ボルトを締めてください。
2. 非常停止を解除し、再び「部品認識」コマンドを実行して調整結果を確認
します。調整が完了するまで上記の手順を繰り返してください。
n
要点
ビジョンディスプレイ上で見た水平視野が35mmになるように、カメラの取り付け高さを調整します。
調整中にビジョンディスプレイに表示されている映像はメモリ画像です。ピントやカメラの高さを
調整しても映像は変化しません。調整結果を確認するには、再度「部品認識」コマンドを実行する
必要があります
。
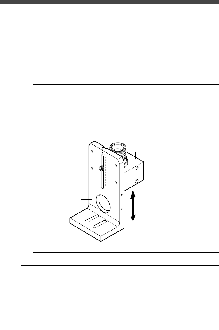
■マルチ認識カメラの高さ(視野)調整
20843325-00
マルチ認識カメラ
カメラスタンド
w
警告
カメラの高さを調整するときは、必ず非常停止ボタンを押してください。
e
7
非常停止ボタンを押してから、スケールをノズルから取り外し
ます。
8
補助調整を終了します。
吸着動作を止めるには「部品廃棄」コマンド、補助調整を終了するには「終
了」コマンドを実行してください。この調整では、保存するマシンデータはあ
りません。

3-
77
SER08989020
調整
第
3
章
3
3.2.2 ピント & 絞り
専用治具(フォーカスアジャスタ:KM1-M8803-100)を使って画像を観察し
ながら、マルチ認識カメラのピントと絞りを調整します。以下の手順で行ってく
ださい。
1
ヘッド1にタイプ33 ノズルを付けます。
「3/3/A5 ノズルチェンジ」コマンドを使ってヘッド1 に指定されたノズルを
付けてください。(オートノズルチェンジャーが付いていないマシンでは、非
常停止ボタンを押してから、手でノズル交換してください。)
w
警告
「ノズルチェンジ」コマンドを実行すると、ヘッド部がノズルステーションに移動します。体の一
部がヘッド可動範囲に絶対に入らないようにしてください。(指定ノズルが付いている場合はヘッ
ド部は動きません。)
e
2
非常停止ボタンを押してから、調整の準備をします。
1. フィーダープレート部のキャリアテープ排出ガイド(あるいは一括交換台
車)が取り付けられている場合は、それを取り外します。
2. 絞りリングとピントリングのロックスクリューを緩めます。
3. ピントを最短位置(0.5m)に合わせ、ロックスクリューを締めます。
4. 絞りリングをF2 に合わせ、ロックスクリューを締めます。
5. レンズホルダーのセットスクリューを軽く緩め、フォーカスアジャスタを
用意します。
■ マルチカメラ調整準備
20843308-00
絞りロックスクリュー
レンズホルダー用
セットスクリュー
キャリアテープガイド
ピントロックスクリュー
絞りリング
ピントリング

3-
78
SER08989020
調整
第
3
章
3
3
非常停止を解除します。
非常停止ボタンを回転解除し、YPU の[REAFY]ボタンを押してください。
e
4
「ピント & 絞り」コマンドを実行します。
1.「3/3/B1 調整項目選択」→「マルチカメラ」→「ピント & 絞り」を選択
します。
2. 調整専用治具を「使用する」を選択します。
3.「マルチカメラ1」を選択します。
5
安全を確認して、[ENTER]キーを押します。
ヘッド部が部品吸着位置へ移動します。
e
6
非常停止ボタンを押してから、調整専用治具をヘッド1 に吸着
させます。
フォーカスアジャスタを下図の向きでヘッド1 に吸着させてください。
■ フォーカスアジャスタの取り付け
20843309-00
ヘッド1
フォーカスアジャスタ
7
非常停止を解除して、[ENTER]キーを押します。
非常停止ボタンを解除し、YPU の[READY]ボタンを押してください。
e
8
安全を確認して、再度[ENTER]キーを押します。
ヘッド部がカメラ上を繰り返し移動し、ビジョンディスプレイにフォーカスア
ジャスタの映像およびプロファイル曲線が表示されます。