CX-1_使用说明书.pdf - 第814页
第2部 功能详细篇 第1 2章 选项元件 12-3 FPI(送料器位置指示器) FPI位于送料器台的号码标签(表示送料器类安装位置的号码标签)的前方, 号码标签的位置编 号上有一对一的LED,通过LED的亮灯和闪烁,可直观地得知送料器的安装位置和元件供应情 况。 FPI功能表示如下。 表 1 2-3-1 机器状态 LED 状态 功能 闪烁 显示用生产程序指定的送料器安装位置(定位销插入孔)(编号)。 准备更换时 亮灯 显示要安装的送料器…

第2部 功能详细篇 第12章 选项元件
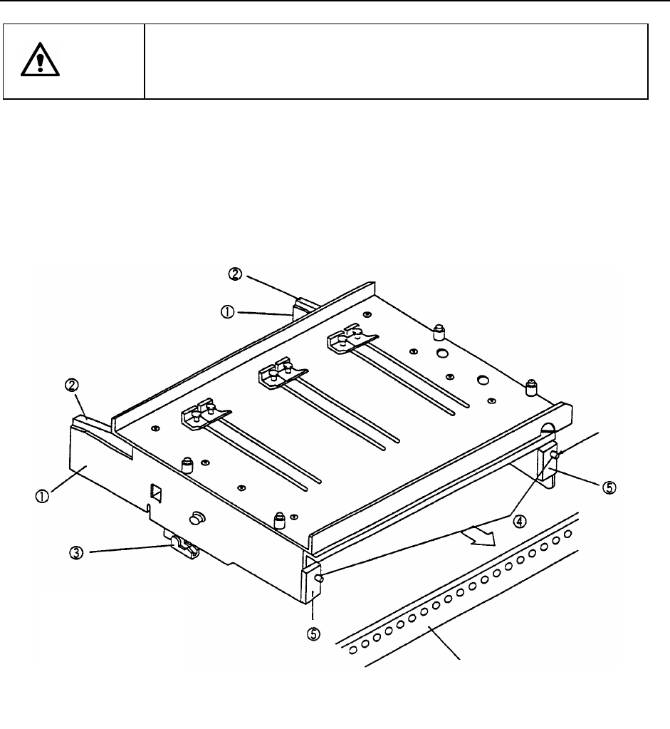
12-2 矩阵·托盘支架的更换
注意
如在 XY 轴或贴片头正在动作时更换托盘支架更换,托盘支架更换可能会接
触到动作元件,危及人身或损坏装置。
XY 轴和贴片头正在动作时,请决对不要更换托盘支架更换。
请务必打开安全护罩后再更换托盘支架更换。
1) 握住边板①和锁紧杆②,打开锁紧支架③。
2) 在后台的固定板上插入前面的销④。
3) 在销④插入且前板⑤顶住固定板的位置上,放开边板①和锁紧杆②,用锁紧支架③固定。
4) 拆卸时请按照相反的步骤进行。
基准销
⑤前板
④销
③锁紧支
架
②托盘锁紧杆
①边板
固定板
图
12-2-1
12-5

第2部 功能详细篇 第12章 选项元件
12-3 FPI(送料器位置指示器)
FPI位于送料器台的号码标签(表示送料器类安装位置的号码标签)的前方,号码标签的位置编
号上有一对一的LED,通过LED的亮灯和闪烁,可直观地得知送料器的安装位置和元件供应情
况。
FPI功能表示如下。
表 12-3-1
机器状态 LED 状态 功能
闪烁 显示用生产程序指定的送料器安装位置(定位销插入孔)(编号)。
准备更换时
亮灯 显示要安装的送料器在送料器台上所占的范围。
基板生产时 闪烁
如果任意送料器的剩余元件数低于用生产程序的元件数设定所输
入的警告级别(为了得知元件剩余数不多而设置的数值),则将通
过相应送料器安装位置的 LED 闪烁来告知哪个送料器的元件剩余
数不足。
元件用尽时 亮灯
在基板生产时,如果任意的送料器的用生产程序的元件数设定所输
入的初始值剩余数为 0,则将通过相应送料器安装位置 LED 的亮灯
来告知哪个送料器元件用尽。
使用手动控
制时
送料器定位销
ON:亮灯
OFF:熄灯
如果用手动控制的送料器定位销控制来进行带式传送动作或单纯
的定位动作,则可通过使控制位置上各送料器定位销的 LED 与送
料器定位销的动作进行连动并使其闪烁,从而显示正在控制哪一
位置的定位销。
为了显示供件的剩余数和元件用尽,必须在基板生产的数据切换的元件设定中,正确输入与
送料器内供应元件数相同的数或与此相当的数量,否则将不能正确显示。
注意:
12-6

第2部 功能详细篇 第12章 选项元件
12-4 坏板标记传感器
1) 坏板标记的颜色及大小
a) 在经过抗腐蚀加工的基板上,使用大于φ2.5mm且有光泽的白色标记。
b) 在白色的陶瓷基板上,使用大于φ2.5mm的黑色标记。
标记过小或出现飞白时,将无法进行检测。因此请清晰地进行标记。
2) 显示坏板标记传感器的外观。关于安装位置的详细内容,请参照贴片头部分的说明。
图 12-4-1
①反光等级显示 ⑤SET按钮
②入射显示 ⑥输出计时器转换开关
③余量显示 ⑦输出模式转换开关
④SET显示 ⑧模式开关
3) 坏板标记传感器灵敏度的调整方法
请参照“机器设置”的“8-5-9-11 坏板标记传感器示教”。
注意
请由受过本装置操作培训的人进行操作。
为了避免工作人员以外的人误操作引起意外启动,请充分注意周围各种情况
后进行安装作业。
注意:
12-7