CX-1_使用说明书.pdf - 第825页
第2部 功能详细篇 第1 2章 选项元件 ② 输入夹持器吸取位置的控制信息 控制信息的输入,请参见“第四章 制作生产程序”中的“ 4-3-5-2-4 附加信息”。 ③ 激光高度 使用夹持吸嘴时必须注意。 通常,吸嘴的“激光高 度”中输入了从元件上底面到激 光投射面的距离,但当为 夹持吸嘴 时,则以固定侧臂的吸嘴前端为基准,指定激光投射的距离。 =-1.65 画 面 例: -(6.8-3.5)/2 根据引脚的位置进行微调。 大 致 设 定…

第2部 功能详细篇 第12章 选项元件
12-7-3 使用方法
1) 通过机器设置,从 FD 中读取夹持吸嘴的信息。
* 只用读取进行一次即可保存到机器中,因此不必每次都读取。
◇ 选取“机器设置”文件菜单内的“打开吸嘴数据文件”,从下述画面中读取FD的夹持用吸
嘴信息文件。(参照“8-3-2章 读取吸嘴数据”)
图 12-7-3 打开吸嘴数据文件
2) 元件数据的制作
关于操作方法的详细内容,请参照“元件数据”“4-3-5-2-4附加信息”的“吸嘴数据”。
◇ 制作例
① 吸嘴编号的设定
800
多号。
夹持吸嘴编号为
图
12-7-4 吸嘴编号的设定
12-16

第2部 功能详细篇 第12章 选项元件
② 输入夹持器吸取位置的控制信息
控制信息的输入,请参见“第四章 制作生产程序”中的“4-3-5-2-4 附加信息”。
③ 激光高度
使用夹持吸嘴时必须注意。
通常,吸嘴的“激光高度”中输入了从元件上底面到激光投射面的距离,但当为夹持吸嘴
时,则以固定侧臂的吸嘴前端为基准,指定激光投射的距离。
=-1.65
画 面 例:
-(6.8-3.5)/2
根据引脚的位置进行微调。
大致设定尺寸:-(元件高度-3.5mm)/2,
指定从吸嘴前端到激光面距离。
图
12-7-5 激光高度的设定
④ 检查异类元件时的注意事项
指定检查异类元件时,请注意基准尺寸。
◆基准尺寸为激光投射面的模部尺寸,与包括引脚在内的外形尺寸不同。
激光投射模部
的纵向尺寸。
图 12-7-6 指定检查异类元件的设定
12-17

第2部 功能详细篇 第12章 选项元件
3) 吸取数据
吸取数据与使用普通吸嘴时相同。因此无需示教夹持臂的位置或到元件上底面顶靠部分的高
度等。
① XY坐标:
以元件中心为基准。[夹持位置]、[水平间隙]、[固定臂的偏移量]移动到补充修正后的坐标。
为了在生产中吸取时包含臂长度补偿量,示教时夹持吸嘴的臂尖端在元件侧面以外的位置进
行示教。按HOD的ENTER键确定示教坐标后,经过逆补充修正的坐标反映在吸取数据中。以摄像
示教开始后,在示教中切换到头部时,不需要补充修正值。
② Z坐标:
以吸嘴尖端(固定臂尖端与通常的吸嘴尖端为同一高度)为基准。为了在生产时包含臂长度补
偿量进行吸取,示教时夹持吸嘴的臂尖端在元件上部的高度处进行示教。
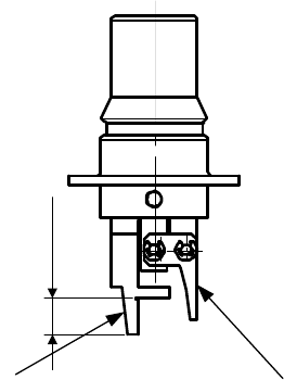
4) 安装在 ATC 上的方向
将夹持吸嘴安装到ATC上,使从正面看ATC装置时,夹持吸嘴的固定臂(图①)在后侧,摇臂(图
②)在前侧。
つめ深さ
卡爪深度
②
①
12-18