CX-1_使用说明书.pdf - 第847页
第2部 功能详细篇 第1 2章 选项元件 12-11-2 机器设置 12-11-2-1 使用单元 请选择「设置组」→「使用单元」→「标准使用单元」 ,确认“夹杆 Y”的设置。 基板厚度小于 0.4mm 时→与设置无关,基板定心时夹杆 Y 不会运行。 基板厚度大于 0.4mm 时→设置为不使用(按钮凸出状态) ,基板定心时夹杆 Y 不会运行。 不是薄基板时如若 Y 夹杆使基板弯曲,则请设置为不使用。 12-11-2-2 支撑台…

第2部 功能详细篇 第12章 选项元件
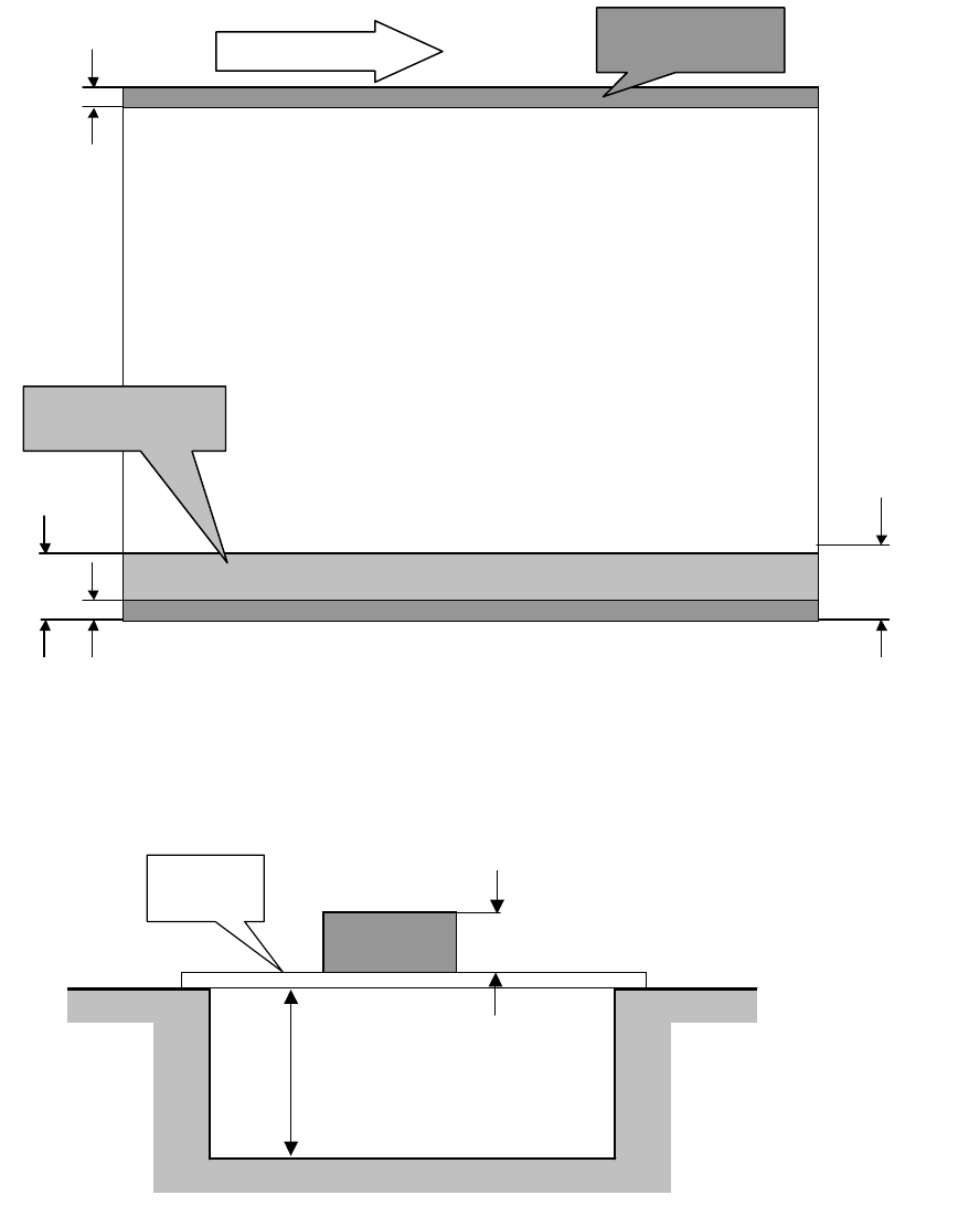
2)基板背面
轨侧
8mm
21mm
不可设置支撑销
的范围
搬
背面不可
贴片范围
送方向
传送方向
20mm
8mm
3)基板背面高度限制
基板下面适用到高度小于 10mm 的元件。
※适用元件的高度以主机规格为准
元件
基板
10mm以下
12-38

第2部 功能详细篇 第12章 选项元件
12-11-2 机器设置
12-11-2-1 使用单元
请选择「设置组」→「使用单元」→「标准使用单元」,确认“夹杆 Y”的设置。
基板厚度小于 0.4mm 时→与设置无关,基板定心时夹杆 Y 不会运行。
基板厚度大于 0.4mm 时→设置为不使用(按钮凸出状态),基板定心时夹杆 Y 不会运行。
不是薄基板时如若 Y 夹杆使基板弯曲,则请设置为不使用。
12-11-2-2 支撑台推进量
请选择「设置组」→「基板传送」→「支撑台」,设置“薄基板”的推进量。(参见“8-5-11
基板传送”)
材质容易破裂的基板等,推进量要设置得偏少一些。
「基板数据」的基板
厚度小于 0.4mm 时,
适用“薄基板”的设
置。
12-39

第2部 功能详细篇 第12章 选项元件
12-11-3 薄基板的设置
<步骤>
①请参见「2-7-1-4 外形基准的调整方法」,进行基板的设置。
②设置后,请把基板放置在等待传感器上面,确认传感器的状态为 ON。
如果基板有缺口而不稳定时,请拧松等待传感器框架根部一侧的螺丝(2 个),向 Y 方向进行手
动调整。
12-11-4 维护(易损配件)
下表为薄基板传送选项专用的易损配件。
有关其他的配件请参见「3-6 易损配件表」。
No 品号 品名 个数 更换周期(年)
1 40062303 挡片 1 2
※ 挡片的更换方法与「3-2-8 更换挡片」相同。
12-40