KE-3010_20V_使用说明书.pdf - 第166页
第 1 部 基本編 第 2 章 生产 2-33 (4) 将停止挡块 ⑩ 置于 ON 。 选择 “ 挡块 ” ,并按 “ON/OFF” 。 (5) 将生产基板顶在挡块 ⑩ 上。 基板与挡块接触的部分因有缺口等而不稳定时, 请松动挡块底部的螺丝 (2 根 ) , 用手加以调整。 (6) 请配置支撑销。 请配合生产基板将支撑销 ⑫ 配置在支撑台 ⑬ 上。如果在 QFP 等对贴片精度有特别要求的元件 下配置支撑销,可提高贴片精度。 (7) 调整…

第 1 部 基本編 第 2 章 生产
2-32
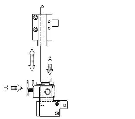
(2) 降下定心销。(基准销选项有效时)
定心销(基准销和从动销)与外形基准块被一体化,固定在支撑台上。
在此状态下,如果支撑台上升,则定心销会碰到基板。
因此,使用外形基准时,请降下定心销,在设定时要使定心销不与基板接触。
<设定方法>
● 降下定心销时→沿箭头方向按A。
● 升起定心销时→沿箭头方向按B。
定心销
(3) 请拧松定心销(从动侧)导块。
转动导块螺栓、支撑台操作手柄,拧松。

第 1 部 基本編 第 2 章 生产
2-33
(4) 将停止挡块
⑩置于 ON。
选择“挡块”,并按“ON/OFF”。
(5) 将生产基板顶在挡块
⑩上。
基板与挡块接触的部分因有缺口等而不稳定时,请松动挡块底部的螺丝(2根),用手加以调整。
(6) 请配置支撑销。
请配合生产基板将支撑销⑫配置在支撑台⑬上。如果在QFP等对贴片精度有特别要求的元件
下配置支撑销,可提高贴片精度。
(7) 调整完成后,请点击“传送控制”画面上的“结束”,以退出“传送控制”。
注意
外形基准位置为程序数据的基板坐标原点(基准位置)。
因此,调整挡块后,请务必重新设定。
必须在“2-7-1-6 贴片基准位置的调整”中进行再调整。
基板原点位置可在生产程序中的“基板数据”(参见第 4 章 4-3-3 基板数
据)中进行变更。
注意
在机器运行中,请绝对不要将手和头等伸入装置内部。
松开 2 根螺栓

第 1 部 基本編 第 2 章 生产
2-34
2-7-1-4 夹杆压力的调整(外形基准时)
对于薄基板夹板时的弯曲、裂纹等,可以通过降低 Y 夹杆的压力进行对应。
将减压阀的把手向“A 方向”拉出并旋转,加大或减小压力。
一边看着压力计 B,一边进行调整,将把手“向 A 的反方向”按压即可锁紧。
<M,L,L-Wide 基板规格>
<XL 基板规格>
一般情况下请勿随意变动。
如果压力比出厂时大幅度降低,则动作的时间速度可能变得不准。
进行调整前,要记下出厂时“压力计③”的值(仅当夹杆为 ON 时的指针摆动),
如无调整必要时,请恢复为原来的值。
Y 夹杆
A
B
A
B