JP-Nordson-EFD-GV-Series-Operating-Manual.pdf - 第120页
GVシリーズ 自動ディスペンシングシステム 120 www.nordsonefd.com/jp japan@nordsonefd.com +81-3-5762-2760 ノ ー ド ソ ンEFD は、 世界中 で液剤塗布装置 の販売 ・ サー ビ ス を 行な っ て お り ま す 。 Block Initialize(ブロック初期化) クリッ ク 機能 アドレスをダブル クリックして、ド ロップダウンメニ ューから選択 ブロックイニ…

GVシリーズ 自動ディスペンシングシステム
119
www.nordsonefd.com/jp japan@nordsonefd.com +81-3-5762-2760 ノードソンEFDは、世界中で液剤塗布装置の販売・サービスを行なっております。
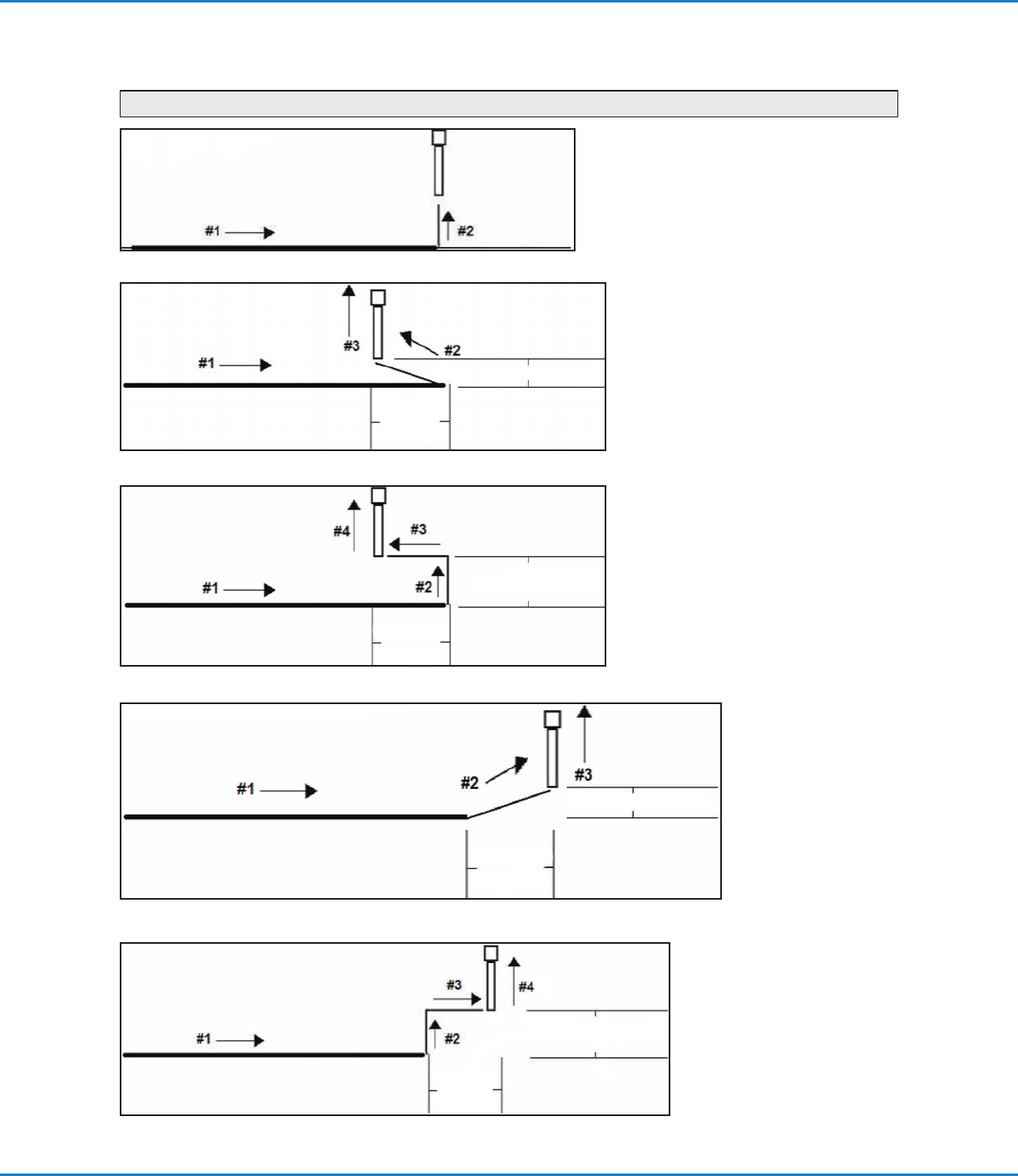
Backtrack Setup(後退設定)(続き)
Backtrack Setupの図例
0または空白(通常)
Backtrack Gap
1(後退)
Backtrack Gap
Backtrack
Length
2(後退 - 直角)
Backtrack Gap
Backtrack
Length
3(前進)
Backtrack Gap
Backtrack
Length
4(前進 - 直角)
Backtrack Gap
Backtrack
Length
付録A:コマンド機能リファレンス(続き)

GVシリーズ 自動ディスペンシングシステム
120
www.nordsonefd.com/jp japan@nordsonefd.com +81-3-5762-2760 ノードソンEFDは、世界中で液剤塗布装置の販売・サービスを行なっております。
Block Initialize(ブロック初期化)
クリック 機能
アドレスをダブル
クリックして、ド
ロップダウンメニ
ューから選択
ブロックイニシャライズを使用して、システムがランブロックセレクトウィンドウで選択されているポイン
トを使用するように指定します。詳細については、「配列内の特定の塗布対象基材への塗布を無効にする方
法」(76ページ)を参照してください。
Call Pattern(パターン呼び出し)
クリック 機能
アドレスを
ダブルクリ
ックして、
ドロップダ
ウンメニュ
ーから選択
システムは、プログラム内の別パターンに類似のパターンで塗布しますが、[Call Pattern]コマンドが発生する
プログラム内の位置で塗布します。呼び出されたパターンは、割り当てられたラベルを持っている必要がありま
す。システムは、End Patternコマンドに来ると、呼び出されたパターンの塗布を停止します。
ノードソンEFDでは、このコマンドの使用を容易にするため、ダミーポイントコマンドの使用を推奨していま
す。コールパターンラベルコマンドの後の、最初のダミーポイントコマンドが基準点として使用されます。ダ
ミーポイントを0、0、0に設定すると、ダミーポイントコマンドに続くコマンドは、正確な座標のままになりま
す。ダミーポイントコマンドが50, 50, 10に設定されている場合、ダミーポイントコマンドに続くコマンドの座
標は50, 50, 10だけオフセットされます。
Call Patternコマンドが含まれるプログラムの例
Call Pico Touch Parameter(Pico Touchパラメーター呼び出し)
クリック 機能
アドレスをダブル
クリックして、ド
ロップダウンメニ
ューから選択
指定された* .picoファイル名を開き、ファイルに含まれるパラメーター設定を反映させます。 このコマンド
を使用するための詳細な手順については、「DispenseMotionを使用してPICOのパラメーターを調整する方
法」(91ページ)を参照してください。
付録A:コマンド機能リファレンス(続き)

GVシリーズ 自動ディスペンシングシステム
121
www.nordsonefd.com/jp japan@nordsonefd.com +81-3-5762-2760 ノードソンEFDは、世界中で液剤塗布装置の販売・サービスを行なっております。
Call Return (コールリターン)
クリック 機能
アドレスを
ダブルクリ
ックし、ド
ロップダウ
ンメニュー
から選択
コールリターンコマンド(サブルーチン内部にある)に達すると、プログラムはコールサブルーチンコマンドの
直後のアドレスで続行します。
Call Subroutine(サブルーチン呼び出し)
クリック 機能
アドレスをダブル
クリックし、ドロ
ップダウンメニュ
ーから選択
サブルーチンは、プログラムの末尾よりも後に置かれるコマンドの集まりです。Call Subroutineは、指定
されたアドレスにあるサブルーチンにプログラムをジャンプさせ、そのアドレスにあるコマンドを実行させ
ます。コールリターンコマンド(サブルーチン内部にある)に達すると、プログラムはコールサブルーチン
コマンドの直後のアドレスで続行します。Call Subroutineは同じ塗布対象基材上でパターンを繰り返す場
合に最適です(これと対照的なコマンドはStep & Repeatです。このコマンドでは、等間隔で直線状に並べ
られた複数の塗布対象基材それぞれに対し、パターンが繰り返されます)。
Call Subroutineコマンドが含まれるプログラムの例
付録A:コマンド機能リファレンス(続き)