XPF-1.0S编程手册.pdf - 第33页
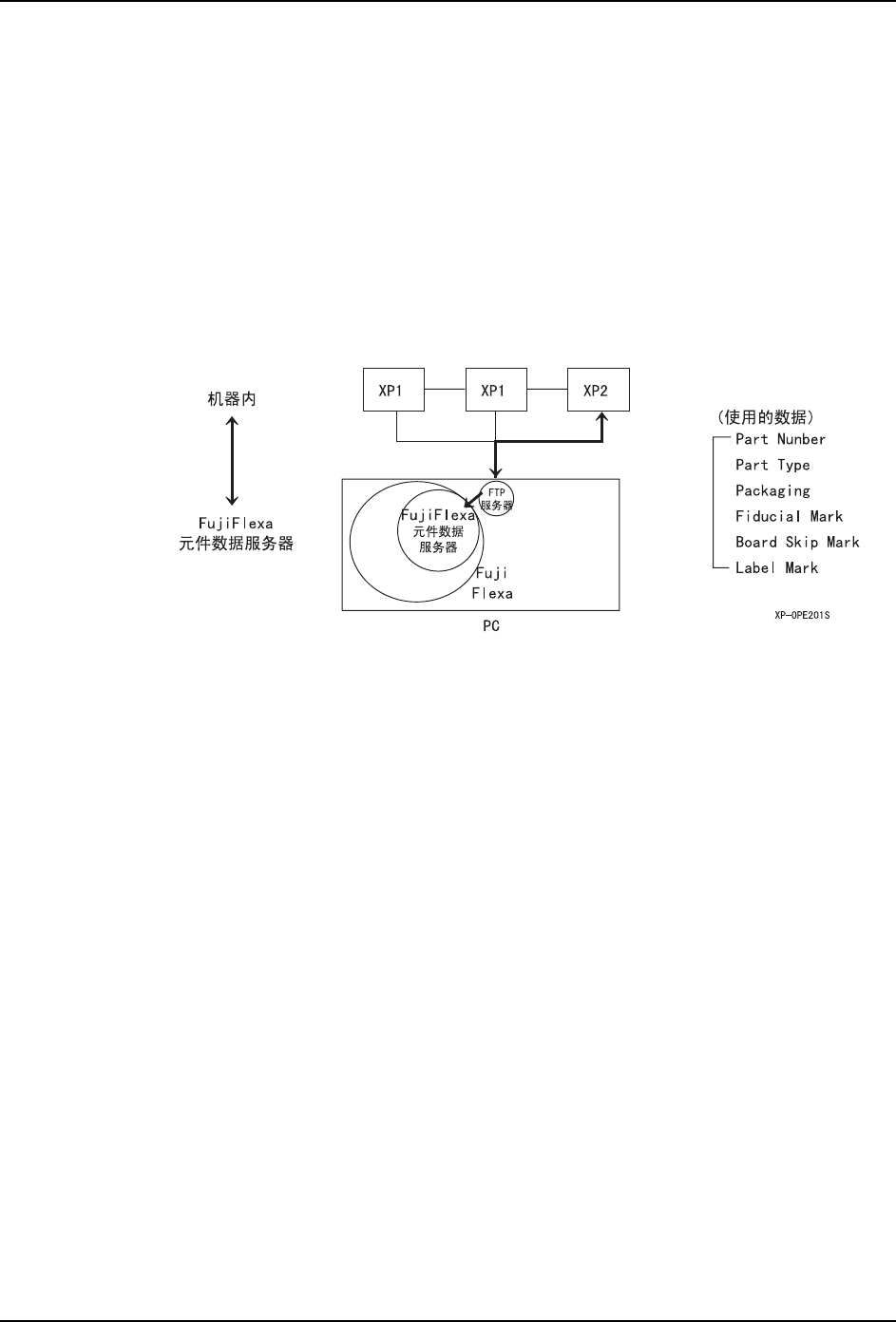
2. 生产程序概要 PRG-XPF-1.0S 24 XPF 编程手册 从机器向 FujiFlexa 的 Job 或者元件数据库访问时 使 Fuji Flexa 数据存取机功能有效的话, 能读入与元件 / 定位点数据及 XPF 机器的模型名 对应的 Job( 生产程序 ) 到 XPF 机器上。同时,编辑重新读入的 Job 或者元件 / 定位点数据 后, 重新保存到 Fuji Flexa 后, 即使不用 uji Flexa 操作 也能反映编…

PRG-XPF-1.0S 2. 生产程序概要
XPF 编程手册 23
2.5.5 共有数据设定 2 - 使用 Fuji Flexa 数据访问功能时
在 XPF 上,有直接读写 Fuji Flexa Job 的功能。使用这个功能,不仅可以共用元件数据 /
定位点数据,也可以共用 Job。此外,从 Fuji Flexa 的 Job 创建生产程序后有可以保存在
机器中的功能以及从在机器中保存的生产程序反映到 Fuji Flexa Job 上的功能。
以及本机器的型号名的 Job (生产程序)到 XP 机器上 , 将读取的 Job 或者元件 / 定位点数
据进行编辑后重新保存到 Fuji Flexa 上后,不用 Fuji Flexa 操作也可以将编辑结果反映到
其他机器上。数据不仅可以与几台的 XP 机器共有,也可以在与 Fuji Flexa 共有时使用。
使用 Fuji Flexa 数据存取功能的话,能使用 Fuji Flexa 元件数据服务器共有元件数据。同
时,也能共有 Fuji Flexa 的 Job 及元件数据。
注意 )有必要结束网络的设定。网络的设定请垂询网络管理员。
使用 Fuji Flexa 元件数据服务器共有元件数据时。
在使用 Fuji Flexa 元件数据伺服器共有元件数据的时候,请设定以下的固有值。
在机器和 Fuji Flexa 元件数据服务器间要复制文件时,在 [ 文件操作 ] 画面进行。要表示
[ 文件操作 ] 画面,请从主画面顺序选择 [ 生产程序 ]、[ 文件操作 ]。
__FlexaDataShareMode: 1(1: 使用 Fuji Flexa 数据存取功能,0: 不使用 )
__FlexaServerPort: 1024 ~ 65535(Fuji Flexa 的端口号码 )
__FlexaUserServerIpAddr: IP 地 1iop@ 「6 「址 (Fuji Flexa 用户服务器 PC)
__FlexaUserName: 最大 31 个字符 ( 用户名 )
__FlexaPassword: Fuji Flexa 的口令 ( 最大 31 个字符 )

2. 生产程序概要 PRG-XPF-1.0S
24 XPF 编程手册
从机器向 FujiFlexa 的 Job 或者元件数据库访问时
使 Fuji Flexa 数据存取机功能有效的话,能读入与元件 / 定位点数据及 XPF 机器的模型名
对应的 Job( 生产程序 ) 到 XPF 机器上。同时,编辑重新读入的 Job 或者元件 / 定位点数据
后,重新保存到 Fuji Flexa 后,即使不用 uji Flexa 操作也能反映编辑结果。在复数的 XPF
上不仅共有数据,而且也可以共有 Fuji Flexa。
注意 )
1.XPF 机器上不能新建 Job。
2.在出现 Fuji Flexa 或者网络上的故障时这个功能也不能使用,在 XP 机器内奉劝保存
可以信赖的生产程序。
3.要用本功能 XP 机器上更新 Job 时,从 Fuji Flexa 上向机器传输时,有必要在 Fuji
Flexa 上执行 ([Job 编制器]- [工具]- [生产程序的生成])并在 XP 机器上反映
变更的内容。
在使用 Fuji Flexa 访问功能时,请设定以下的固有值。
OPERATION_2
COMMUNICATION
备注 )使用Fuji Flexa数据存取功能,读入/保存Fuji Flexa数据的时候,能指定Overridema
机器类型。
__FlexaDataShareMode: 1( 访问 )
__FlexaServerPort: 1024 ~ 65535 (通信接口号)
__PartLibraryCentricMode: 0( 以 Job 的 Library 优先读取 )
1( 以全局的 Library 优先读取 )
__FlexaUploadOverride: 0( 可以保存到 Generic: 也反映到其他机种 )
1( 必须保存到 Override: 对其他机种没有影响 )
__FlexaUserServerIpAddr: IP 地址 (FujiFlexa 用户伺服 PC)
__FlexaUserName: 最大 31 字符 (用户名)
__FlexaPassword: 最大 31 字符 (没有访问控制时不需要)
__FlexaModelName: 最大 31 字符 (在 FujiFlexa 上设定的该机器的型号
名或者机器昵称)

PRG-XPF-1.0S 2. 生产程序概要
XPF 编程手册 25
从 Fuji Flexa 读取生产程序
操作步骤
1. 从主画面选择 [ 程序 ]、[ 编辑程序 ],显示出 [ 编辑程序 ] 画面。
2. 按下[选择程序]画面左上角的[▼],选择[Fuji Flexa] 驱动器。
3. 选择[Fuji Flexa]后,在「程序名」的区域中显示出保存在Fuji Flexa中的Job的一览表。
4. 单击读取 Job 的 Job 名,或者单击修订号。
备注 )读取 Job 的生产程序时,其他还有 [生产]- [选择程序]和 [程序][最优化],可
以用同样的操作读取。
注意 )仅仅执行 Job 的读取,生产程序文件 (*.POG)即使在 XP 机器的硬盘上,也不能作成
Fuji Flexa 的 Job。要把读取的生产程序保存到 XP 机器内的时候,在 [编辑]画面上
进行 Job 的保存时,在保存文件夹选择对话框的硬盘选择上选择 「/sd0」后,生产程
序 (*.POG)保存在 XP 机器的硬盘上。