KE2040取扱説明書Ver.2.01和文Rev.04.pdf - 第55页
1 - 37 1-2-8. VCSの名称 VCSの名称 VCSの名称 VCSの名称 反射/ 透過照明,立体可動照明,同軸落射照明を組み合わせて部品認識を行い,QFP,B GA ,C SP,コネクタ等の搭載を行います。 図 図 図 図 1-2- 8 8 8 8 -1 VCSユニットの各部名称 VCSユニットの各部名称 VCSユニットの各部名称 VCSユニットの各部名称 ①LED基板(透過照明) ②LED基板(サイド照明) ③LED基板(下…

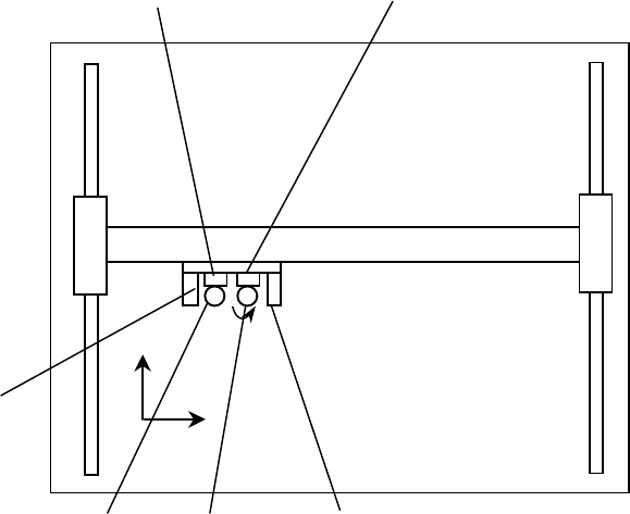
1 - 36
1-2-7. OCCの名称
OCCの名称OCCの名称
OCCの名称
(1) オフセットコレクションカメラ
同軸落射照明と偏光フィルタを標準装備し,カメラにより基板マークの位置を検出し,自動補正し
ます。
図
図図
図 1-2-7-1 OCCユニットの各部名称
OCCユニットの各部名称OCCユニットの各部名称
OCCユニットの各部名称
① オフセットコレクションカメラ
② OCC レンズ
③ 照明LED基板
④ ミラーボックス
1) キャリブレーションブロックに白色のセラミック基板を載せ、カメラを基板上に移動させ
ます。
2) 止めねじを緩め、フィルタホルダを←→方向に回し、画面が最も明るくなった状態で固定
します。
②
①
④
③
偏光フィルタの調整
偏光フィルタの調整偏光フィルタの調整
偏光フィルタの調整

1 - 37
1-2-8. VCSの名称
VCSの名称VCSの名称
VCSの名称
反射/透過照明,立体可動照明,同軸落射照明を組み合わせて部品認識を行い,QFP,BGA,C
SP,コネクタ等の搭載を行います。
図
図図
図 1-2-8
88
8-1 VCSユニットの各部名称
VCSユニットの各部名称VCSユニットの各部名称
VCSユニットの各部名称
①LED基板(透過照明)
②LED基板(サイド照明)
③LED基板(下方照明)
④LED基板(同軸照明)
⑤VCSレンズ
⑥VCSカメラ
⑦エアシリンダ
①
②
③
④
⑤
⑥
⑦

1 - 38
1-3. X、
、、
、 Y、
、、
、 Z軸の説明
軸の説明軸の説明
軸の説明
本装置で数値制御される軸は以下に示す4軸(X、 Y、 Z、θ)です。
(1) X、 Y軸
装置の左右方向をX、前後方向Yとし,0.01 mm 単位で X=○○○.○○ mm,Y=○○○.○○ mm
で表します。座標系は生産プログラム上の座標とティーチング時の座標があります。両座標は、自
動的に変更されるため、意識して使い分ける必要はありません。
(2) Z 軸
高さ方向を示し,0.01 mm 単位で Z=○○.○○ mm で表します。基板をクランプしたときの基板
上面(治具を使わない)を0とし、上昇方向は+とします。
(3) θ軸
ヘッドの回転角度を示し,0.05°単位で A=○○.○○で表します。反時計方向の回転を+とし,
時計方向と一とします。
図
図図
図 1-3-1
Y軸
θ
+
Y
+
X
+
FMLA ヘッド(L)
FMLA ヘッド(R)
OCC-L
IC ノズル軸
IC ノズル軸
OCC-R
X軸
Z+