KE2040取扱説明書Ver.2.01和文Rev.04.pdf - 第747页
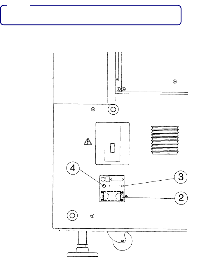
13 - 7 4) 本体右側面のインターフェースパネルに MT C 電源コネクタ②と信号コネクタ③と MT C 用エアー 継手④にエアーチューブを接続します。 ケーブルとエアーチューブは, MT C 添付品を御使用下さい。 図 図 図 図 13-5- 3 ② MTC 用電源コネクタ ③ MTC 用インターフェースコネクタ ④ MTC 用 φ 6 チューブ取出口 注意 注意 注意 注意 :

13 - 6
13-5. マトリクス・トレイチェンジャ(
マトリクス・トレイチェンジャ(マトリクス・トレイチェンジャ(
マトリクス・トレイチェンジャ(MTC)の設置方法
)の設置方法)の設置方法
)の設置方法
注意
注意注意
注意
不意の起動による事故を防ぐため,電源を切って行って下さい。
図
図図
図 13-5-1
1) 本体正面から見て右奥部の MTC
ガイドカバー①の中に MTC シャ
トル部③が入るように後方から
MTC 本体④を移動します。
2) MTC 本体④を出来るだけカバー
RUR②に寄せて設置します。
3) シャトル部先端の切込み高さがフ
ィクシングプレート⑤の上面の高
さになるように MTC 本体のアジ
ャスタフットを調整します。
図
図図
図 13-5-2.A矢視図
.A矢視図.A矢視図
.A矢視図
A
AA
A
R
E
A
R
7
9
R
E
A
R
7
9
R
E
A
R
7
9
R
E
A
R
7
9
① MTC ガイドカバー
② カバーRUR
③ MTC シャットル部
④ MTC 本体
⑤ フロントプレート
④
③
②
①
⑤
MTC の操作方法については,別冊の取
扱説明書を参照して下さい。
注意
注意注意
注意 :

13 - 7
4) 本体右側面のインターフェースパネルに MTC 電源コネクタ②と信号コネクタ③と MTC 用エアー
継手④にエアーチューブを接続します。
ケーブルとエアーチューブは,MTC 添付品を御使用下さい。
図
図図
図 13-5-3
② MTC 用電源コネクタ
③ MTC 用インターフェースコネクタ
④ MTC 用 φ 6 チューブ取出口
注意
注意注意
注意 :

13 - 8
13-5-1. マトリックス・トレイチェンジャ
マトリックス・トレイチェンジャマトリックス・トレイチェンジャ
マトリックス・トレイチェンジャ(MTC)の取付け
の取付けの取付け
の取付け
13-5-1-1. TR-4SN の取付け位置開始
の取付け位置開始の取付け位置開始
の取付け位置開始
図
図図
図 13-5-1-1
TR-4SN の取付け外観
の取付け外観の取付け外観
の取付け外観
注意
注意注意
注意
不意の起動による事故を防ぐため,電源を切って行って下さい。